1
土木工程材料(第4版)
1.16.4 实验4 混凝土试验
实验4 混凝土试验

本试验根据国家标准《普通混凝土拌合物性能试验方法》(GB/T 50080—2016)、《普通混凝土力学性能试验方法》(GB/T 50081—2019)进行。主要内容包括混凝土拌合物和易性试验、混凝土拌合物表观密度试验、混凝土立方体强度试验。

(1)混凝土拌合物和易性试验

1)拌合物坍落度试验

本方法适用于测定骨料最大粒径不大于40 mm、坍落度不小于10 mm的混凝土拌合物坍落度。

①试验目的

通过测定拌合物流动性,观察其黏聚性和保水性,综合评定混凝土的和易性,作为调整配合比和控制混凝土质量依据。

②主要仪器设备

a.磅秤。称量50 kg,感量50 g。

b.天平。称量5 kg,感量1 g。

c.拌板(1.5 m×2.0 m左右)、量筒(200 mL、1 000 mL)、拌铲、盛器、抹布等。

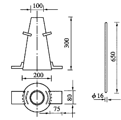
d.标准坍落度筒。金属制圆锥体,底部内径200 mm,顶部100 mm,高300 mm,壁厚大于或等于1.5 mm(实验图4.1)。

实验图4.1 坍落度筒及捣棒(单位:mm)

e.捣棒φ16×600 mm,如实验图4.1所示。

f.装料漏斗。与坍落度筒配套。

g.直尺、抹刀、小铲等。

③试件制备

配制混凝土拌合料时,环境温度宜处于(20±5)℃。根据所设计的计算配合比,分别称取15 L混凝土拌合物所需各材料用量。

④测定步骤

a.用湿布润湿拌板、拌铲和坍落度筒。

b.按砂、水泥、石子、水的投放顺序,先将砂和水泥在拌板上干拌均匀,再加石子干拌成均匀的干混合物并垒成堆,在其中间做一凹槽,将已称量好的水倒入一半于凹槽内翻拌、铲切,并徐徐加入另一半剩余的水,继续翻拌、铲切,直至拌和均匀。

c.将润湿后的坍落度筒放在不吸水的刚性水平地板上,然后用脚踩住两边的脚踏板,将已拌匀的混凝土试样用小铲分三层装入筒内,每层高度约为筒高的1/3。每层用捣棒插捣25次,每次插捣应在截面上均匀分布。

d.清理筒周围的散落物,小心地垂直提起坍落度筒,特别注意平稳,不让混凝土试体受到碰撞或震动,筒体的提离过程应在5~10 s内完成。从开始装料于筒内到提起坍落度筒的操作不得间断,并应在150 s内完成。

e.将筒放在拌合物试体一侧,测量筒顶与坍落后拌合物试体最高点之间的高度差,即为该混凝土拌合物的坍落度值,以mm为单位,结果表达精确至5 mm。

f.保水性目测。提起坍落度筒后,如有较多稀浆从底部析出,锥体也因失浆使骨料外露,表示该混凝土拌合物保水性能不好。若无此现象,则表示保水性良好。

g.黏聚性目测。用捣棒在已坍落的混凝土锥体一侧轻轻敲打,锥体渐渐下沉表示黏聚性良好。若锥体突然倒塌、部分崩裂或出现离析,表示黏聚性不好。

h.和易性调整。若测得的坍落度小于施工要求的坍落度值,可在保持水灰比不变的同时,增加5%或10%的水泥和水。若测得的坍落度大于施工要求的坍落度值,可在保持砂率Sp不变的同时,增加5%或10%(或更多)的砂和石。若黏聚性或保水性不好,则需适当调整砂率,并尽快拌和均匀,重新测定,直到和易性符合要求为止。

当坍落度筒提起后,若发现拌合物崩坍或一边剪切破坏,应立即重新拌和重复试验,第二次试验又出现上述现象时,则表示该混凝土拌合物和易性不好,应予以记录备查。

⑤测定结果

a.混凝土拌合物和易性评定,应按试验测定值和试验目测情况综合评议。

b.记录下调整前后拌合物的坍落度、保水性、黏聚性以及各材料实际用量,并以和易性符合要求后的各材料用量为依据,对混凝土配合比进行调整,求基准配合比。

c.所测拌合物坍落度值若小于10 mm,说明该拌合物稠度过干,宜采用其他方法测定。

2)拌合物维勃稠度法试验

本方法适用于测定骨料最大粒径小于或等于40 mm、维勃稠度在5~30 s的混凝土拌合物稠度测定。

①试验目的

测定拌合物维勃稠度值,作为调整混凝土配合比和控制其质量的依据。

②主要仪器设备

A.维勃稠度仪(图5.5) 维勃稠度仪由下述部分组成:

a.振动台:台面长为380 mm,宽为260 mm、支承在4个减震器上。台面底部安装有频率(50±3)Hz的振动器。空载振幅(0.5±0.1)mm。

b.容器:钢板制成,内径为(240±5)mm,高为(200±2)mm,筒壁厚为3 mm,筒底厚为7.5 mm。

c.坍落度筒:同坍落度法的要求和构造,但应去掉两侧的踏板。

d.旋转架:与测杆及喂料斗相连。测杆下部安装有透明的水平的圆盘,并用测杆螺丝来固定其位置。就位后,测杆或喂料斗的轴线均应与容器的轴线重合。

B.秒表:精度0.5 s。

C.其他:同坍落度法。

③试样制备

配制混凝土拌合物约15 L,备用。计算、配制方法等同坍落度试验。

④测定步骤

a.将维勃稠度仪水平放在坚实的基面上,用湿布把容器、坍落度筒及喂料斗内壁湿润。

b.将喂料斗提到坍落度筒上方扣紧,校正容器位置,其中心与喂料斗中心重合,然后拧紧固定螺丝。

c.装料、插捣方法同坍落度法(略)。

d.将圆盘喂料斗转离坍落度筒,垂直地提起坍落度筒,此时注意不使混凝土试体受到碰撞或振动。

e.将透明盘转到锥体顶面,放松螺丝,降下圆盘,使其轻轻接触到混凝土顶面,防止坍落的混凝土倒下与容器壁相碰。

f.拧紧定位螺丝,并检查螺丝是否已经放松。开启振动台,同时以秒表计时。在振动的作用下,透明圆盘的底面被水泥浆布满的瞬时停表计时,并关闭振动台。

⑤测定结果

a.记录秒表上的时间(精确至1 s)。由秒表读出的时间数表示该混凝土拌合物的维勃稠度值。

b.如果维勃稠度值小于5 s或大于10 s,说明此种混凝土所具有的稠度已超出本试验仪器的适用范围。

(2)混凝土拌合物的表观密度(湿)试验

本方法适用于测定最大骨料小于或等于40 mm的混凝土拌合物。对于骨料最大粒径为50 mm、63.5 mm的拌合物,分别采用10 L、15 L的容量筒。

1)试验目的

测定拌合物捣实后单位体积的质量,作为调整混凝土配合比的依据。

2)主要仪器设备

①容量筒。容积5 L,金属制带底圆筒,内径和高均为(186±2)mm,筒壁厚为3 mm。容量筒使用前应给予校正,即用一块玻璃板盖住筒口,称出玻璃板和空筒的总质量,然后向筒内灌入清洁的水,水满至筒口时,用玻璃板沿筒口徐徐推过,并继续加水以排除玻璃板底部的气泡,达到盖严的目的,再擦净筒外壁水分,将容量筒边同玻璃板抬上磅秤称其总质量,两次质量的差即容量筒的容积。

②台秤。称量100 kg,感量50 g。

③振动台。频率(50±3)Hz,空载振幅(0.5±0.1)mm。

④捣棒。φ16×600 mm。

⑤小铲、抹刀、金属直尺等。

3)试件制备

从满足混凝土和易性要求的拌合物中取样,及时连续试验。

4)测定步骤

①用湿布将容量筒内外擦净,称其质量m1(kg)。

②坍落度值超过90 mm的拌合物,分三层装入容量筒,用捣棒人工捣实,每层插捣25次,并在筒外壁拍打10~15次。坍落度值在70 mm以内的拌合物,可一次性装入容量筒,并稍高于筒口,再移至振动台上振实至拌合物表面出现水泥浆为止。

③用金属直尺沿筒口将捣实后多余的拌合物刮去,仔细擦净筒外壁,再称出容量筒和筒内拌合物的总质量m2(kg)。

5)测定结果

混凝土拌合物的实测表观密度ρb,c按下式计算(精确至10 kg/m3),即

式中:V0——容量筒容积,L。

注:混凝土拌合物的表观密度(湿)一般允许利用制备混凝土抗压强度试件时,称量试模及称量试模连同拌合物的总质量(精确至0.1 kg)的方法来测定。以一组3个试件表观密度的平均值作为拌合物的表观密度。

(3)混凝土立方体抗压强度试验

1)试验目的

测定混凝土立方体抗压强度,作为确定混凝土强度等级和调整配合比的依据。

2)主要仪器设备

①压力试验机或万能试验机。其测量精度为±1%,试验时由试件最大荷载选择压力机量程,使试件破坏时的荷载位于全量程的20%~80%。

②钢垫板。平面尺寸不小于试件的承压面积,厚度应不小于25 mm,承压面的平面度公差为0.04 mm,表面硬度不55HRC,硬化层厚度约为5 mm。

③试模。由铸铁或钢制成的立方体,试件尺寸根据混凝土骨料最大粒径选用,见实验表4.1。

④标准养护室。温度(20±2)℃、相对湿度大于95%。

⑤振动台频率(50±3)Hz,空载振幅(0.5±0.1)mm。

⑥捣棒、小铁铲、抹刀、金属直尺等。

3)试件制备

①按实验表4.1选择同一规格的试模2只组成一组。将试模拧紧螺栓交清刷干净,内壁涂一薄层矿物油,编号待用。

实验表4.1 试件尺寸选用表

②试模内装的混凝土应是同一次拌和的拌合物。坍落度小于或等于90 mm的混凝土,试件成型宜采用振动台振实;坍落度大于90 mm的混凝土,试件成型宜采用捣棒人工捣实。

a.振动台成型试件。将拌合物一次装入试模并稍高出模口,用镘刀沿试模内壁略加插捣后,移至振动台上,开动振动台,振动至表面呈现水泥浆为止,刮去多余拌合物并用镘刀沿模口抹平。

b.人工捣实成型试件。将拌合物分两层装入试模,每层厚度大致相等。插捣按螺旋方向从边缘向中心均匀进行。插捣底层时,捣棒应贯穿整个深度,捣捣应插入下层深度20~30 mm。插捣时捣棒应保持垂直不得倾斜,并用抹刀沿试模内壁插入数次,以防止试件产生麻面。每层插捣次数在1 000 mm2截面积内不得少于12次。然后刮去多余拌合物,并用镘刀抹平。

4)试件养护

①成型后的试件应覆盖,防止水分蒸发,并在室温(20±5)℃环境中静置1~2昼夜(不得超过两昼夜),拆模编号。

②拆模后的试件立即放在标准养护室内养护。试件在养护室内置于架上,试件间距离应保持10~20 mm,并避免用水直接冲刷。当缺乏标准养护室时,混凝土试件允许在温度为(20±2)℃不流动的水溶液中养护,水的pH值不应小于7。

③同条件养护的混凝土试样,折模时间应与实际构件相同,拆模后也应放在该构件附近与构件同条件养护。

5)测定步骤

试件从养护地点取出后,应尽快进行试验,以免试件内部的温湿度发生显著变化。

①将试件擦拭干净,测量尺寸,并检查外观。试件承压面的不平度应为每100 mm长不超过0.05 mm,承压面与相邻面的不垂直度不应超过±0.05°。

②将试件安放在试验机的下压板上,试件的承压面应与成型时的顶面垂直。试件的中心应与试验机下压板中心对准。

③开动试验机,当上压板与试件接近时,调整球座,使接触均衡。

④加压时,应连续而均匀地加荷,加压速度应为:

预计混凝土强度等级低于C30时,取0.3~0.5 MPa/s;

预计混凝土强度等级不高于C30且小于C60时,取0.5~0.8 MPa/s;

预计混凝土强度等级不高于C60时,取0.8~1.0 MPa/s。

当试件接近破坏而开始迅速变形时,停止调整试验机油门,直至试件破坏,然后记录破坏荷载。

6)测定结果

试件的抗压强度fcu按下式计算(精确至0.1 MPa),即

Fcu=P/A

式中:P——破坏荷载,N;

A——试件承压面积,mm2

取3个试件抗压强度的算术平均值作为每组试件的立方体抗压强度代表值。如果3个测值中的最大值或最小值中有一个与中间值的差异超过中间值的15%,则将最大值或最小值一并舍去,取中间值作为该组试件的抗压强度代表值;如果最大值或最小值与中间值的差异均超过15%,则该组试验结果无效。

抗压强度试验的标准立方体尺寸为150 mm×150 mm×150 mm,用其他尺寸试件测得的抗压强度值均应乘以相应的换算系数,见实验表4.2。当混凝土强度等级大于或等于C60时,宜采用标准试件;使用非标准试件时,尺寸换算系数由试验确定。

实验表4.2 试件尺寸及其强度换算系数