1
土木工程材料(第4版)
1.11.1.3 7.1.3 免烧(蒸)砌块
7.1.3 免烧(蒸)砌块

免烧(蒸)砌块主要是由胶凝材料、骨料加水搅拌,振动(浇筑)成型,再经养护而成。主要类型包括普通混凝土小型砌块、混凝土中型空心砌块、轻骨料混凝土小型空心砌块、石膏砌块等。

(1)普通混凝土小型砌块

普通混凝土小型砌块是由水泥、砂、石加水搅拌,经装模、振动(或加压振动或冲压)成型,并经养护而成,砌块按空心率分为实心砌块和空心砌块(空心率应不小于25%)。

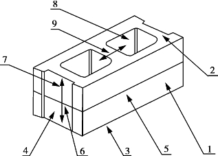
普通混凝土小型砌块主块型的外形为直角六面体,各部位的名称见图7.3。常用块型的规格尺寸长度为390 mm,宽度为90、120、140、190、240、290 mm,高度为90、140、190 mm,其他规格尺寸可由供需双方协商确定。采用薄灰缝砌筑的块型,相关尺寸可做相应调整。

图7.3 混凝土小型空心砌块的形状

1—条面;2—坐浆面(肋厚较小的面);3—铺浆面(肋厚较大的面);4—顶面;5—长度;6—宽度;7—高度;8—壁;9—肋

普通混凝土小型砌块分为承重砌块和非承重砌块两类。根据《普通混凝土小型砌块》(GB/T 8239—2014)的规定,按混凝土的空心率、砌块用途划分强度等级(表7.17),各强度等级应符合表7.18的规定。承重砌块的吸水率应不大于10%;非承重砌块的吸水率应不大于14%。

表7.17 普通混凝土小型砌块的强度等级划分

表7.18 普通混凝土小型砌块的抗压强度

混凝土砌块的导热系数随混凝土材料及孔型和空心率的不同而有差异。普通混凝土小型砌块空心率为50%时,其导热系数约为0.26 W/(m·K)。

普通混凝土小型空心砌块可用于低层和中层建筑的内墙和外墙。这种砌块在砌筑时,一般不宜浇水,但在气候特别干燥炎热时,可在砌筑前稍喷水湿润。砌筑时尽量采用主规格砌块,并应先清除砌块表面污物和砌块孔洞的底部毛边。采用反砌(即砌块底面朝上),砌块之间应对孔错缝砌筑。

(2)混凝土中型空心砌块

混凝土中型空心砌块是由水泥或无熟料水泥配以一定比例的骨料制成的,其空心率大于或等于25%。

混凝土中型空心砌块的主体规格尺寸:长度为500 mm、600 mm、800 mm、1 000 mm;宽度为200 mm、240 mm;高度为400 mm、450 mm、800 mm、900 mm。其壁、肋厚度不应小于30 mm。按抗压强度砌块分为15.0、10.0、7.5、5.0、3.5五个等级,其物理性能、外观尺寸偏差、缺棱掉角、裂缝均不应超过规定范围。

混凝土中型空心砌块表观密度小,强度高,施工效率高,主要用作民用及一般工业建筑的墙体。

(3)轻骨料混凝土小型空心砌块

轻骨料混凝土小型空心砌块是由水泥、普通砂或轻砂、轻粗骨料加水搅拌,经装模、振动(或加压振动或冲压)成型,并经养护而成。轻骨料有陶粒、煤渣、煤矸石、火山渣、浮石等。

根据《轻骨料混凝土小型空心砌块》(GB/T 15229—2011)的规定,轻骨料混凝土小型空心砌块主规格尺寸为390 mm×190 mm×190 mm,根据干表观密度变动范围的上限将砌块分为700、800、900、1 000、1 100、1 200、1 300、1 400八个密度等级,MU10、MU7.5、MU5.0、MU3.5、MU2.5五个强度等级,见表7.19。

表7.19 轻骨料混凝土小型空心砌块的强度等级

注:a.除自燃煤矸石掺量不小于砌块质量35%以外的其他砌块;b.自燃煤矸石掺量不小于砌块质量35%的砌块。

轻骨料混凝土小型空心砌块可用于工业及民用的建筑承重和非承重墙体,特别适合于高层建筑的填充墙和内隔墙。

(4)石膏砌块

石膏砌块是以建筑石膏为主要原料,经加水搅拌、浇注成型和干燥而制成的。在生产中根据性能要求可加入轻骨料、纤维增强材料、发泡剂等辅助材料。按石膏砌块的结构分为空心石膏砌块、实心石膏砌块;按防潮性能分为普通石膏砌块和防潮石膏砌块。

按《石膏砌块》(JC/T 698—2010)的规定,石膏空心砌块现有规格为厚度(500 mm、666 mm)×500 mm×(80 mm、100 mm、120 mm、150 mm),其性能指标见表7.20。

石膏砌块轻质、吸声、绝热,具有一定的耐火性,并可钉可锯,常用于高层建筑、框架轻板结构、室内分隔等。

表7.20 石膏砌块的规格、尺寸偏差、外观质量及其他性能要求