1
工程水文地质学
1.12.2.2 二、轻型井点降水
二、轻型井点降水

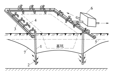
图9-5所示轻型井点降低地下水全貌图。

1.主要设备

(1)井点管。直径为38~50mm的钢管,长5~8m,整根或分节组成。

(2)滤水管。内径同井点管的钢管一致,长度为1~1.5m。

(3)集水总管。内径为100~127mm的钢管,长为50~80m,分节组成,每节长4m,每一集水总管与40个~60个井点管用软管连结。

(4)抽水设备。主要由真空泵(或射流泵)、离心泵和集水箱组成。

图9-5 轻型井点降低地下水位全貌图

1—井点管;2—滤管;3—总管;4—弯连管;5—水泵房;6—地下水位;7—降低后的地下水位

2.井点布置

井点系统的平面布置由基坑的平面形状、大小、要求降深、地下水流向和地层岩性等因素决定,可布成环形、U形或线形等。当基坑宽度小于两倍抽水影响半径时,可沿基坑外缘布置;当基坑宽度大于两倍抽水影响半径时,可在基坑中间加一排线形井点;当基坑宽度较窄(≤2.5m),要求降深较小(≤4.5m)时,可只在地下水的上游一侧布置一排井点,两端延伸长度一般以不小于坑宽为宜,若要求降深较大或土质不好(如粉细砂等)时,则沿基坑两侧布置井点。井点距基坑外缘约0.5~1.0m布置,过小易发生漏气现象。

井点间距可根据土质情况和要求的降水深度而定,或通过现场试验及地区经验确定,一般为0.8~1.6m,以1.2m者最多。当要求降深不超过5m时用单排井点,当降深要求大于5m时用二级或多级井点(图9-6)。

图9-6 二级轻型井点系统的布置

1—地下水位;2—第二级抽水时地下水位的下降曲线;3—第一级抽水时地下水位下降曲线

井点的埋置深度主要取决于基坑的底面,同时也要考虑地层的岩性特征。在均质地层中,过滤器的上端需低于基坑底1~1.5m;当基坑底面为粘土时,过滤器的上端比粘土层顶板高出约15cm;当基坑底下伏粗粒地层时,则应将过滤器下入粗粒地层。

3.井点管埋设方法

(1)水冲法。利用高压水冲开泥土,井管靠自重下沉。在砂土中压力为400~500kPa;在粘性土中压力为600~700kPa。冲孔直径一般为300mm,冲孔深度宜比滤水管底深0.5m左右。

(2)钻孔法。适用于坚硬土层或井点紧靠建筑物的情况。当土层较软时,可用长螺旋钻成孔。

井点管下沉达设计标高后,在管与孔壁之间用粗砂、砾砂填实作为过滤层,在距地表1m左右的深度内,改用粘土封口捣实,然后用软管分别连在集水总管上。