1
纺织机械设计基础
1.11.1.2 二、成圈过程
二、成圈过程

(一) 钩针的成圈过程

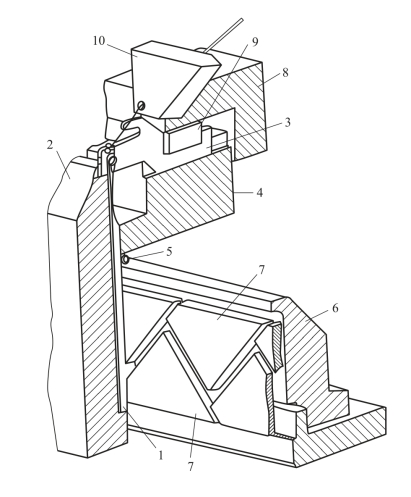
钩针一般用在台车上,钩针的成圈系统由退圈圆盘1、辅助退圈轮2、导纱器3、弯纱轮4、压针钢板5、套圈轮6 和成圈轮7 组成,如图8-5 所示。

成圈过程共分十个步骤,如图8-6 所示。

(1)退圈。在退圈圆盘及辅助退圈轮的作用下,将旧线圈从针钩里移到针杆上。

(2)垫纱。导纱器将新纱线垫放到针杆上,新纱线位于旧线圈与针槽之间。

(3)弯纱。弯纱轮将垫放到针杆上的新纱线弯曲成一定大小的未封闭线圈。

(4)带纱。弯纱轮把未封闭线圈从针杆上带到针钩内。

(5)闭口(压针)。压针钢板将针尖压入针槽,使针口封闭。

(6)套圈。在套圈轮作用下将旧线圈套在针口封闭的针钩上,随即套圈轮脱离织针使针钩释压,针口开启。

(7)连圈。旧线圈与未封闭的新线圈在针头处接触。

(8)脱圈。在成圈轮的作用下,旧线圈从针头上脱落到未封闭的新线圈上,使新线圈封闭。

图8-5 台车的成圈系统

(9)成圈。旧线圈的针编弧与新线圈的沉降弧接触,新线圈形成规定的大小。

(10)牵拉。在牵拉卷取机构的作用下,新线圈被拉向针背,防止在下一成圈循环中旧线圈重新套在针上。

图8-6 钩针的成圈过程

(二) 舌针的成圈过程

舌针成圈系统如图8-7 所示,由舌针1、针筒2、沉降片3、沉降片圆环4、箍簧5、三角座6、三角7、沉降片三角座8、沉降片三角9 和导纱器10 组成。

图8-7 舌针成圈系统的组成

1—舌针 2—针筒 3—沉降片 4—沉降片圆环 5—箍簧 6—三角座 7—三角 8—沉降片三角座 9—沉降片三角 10—导纱器

舌针的成圈过程包括十个步骤,如图8-8 所示。

(1)退圈。织针上升,旧线圈从针钩里退到针杆上。

(2)垫纱。将新纱线垫到打开的针钩里。

(3)带纱。舌针下降,将新垫入的纱线带入针钩内。

(4)闭口。舌针继续下降,针舌在旧线圈的作用下关闭针口,使新纱线和旧线圈分别处于针钩的内外。

(5)套圈。舌针继续下降,旧线圈上移到关闭的针舌外边。

(6)连圈。舌针继续下降,旧线圈与新线圈在针头处接触。

(7)弯纱。随着舌针的连续下降,新纱线逐渐弯曲成未封闭的线圈。

(8)脱圈。舌针下降到筒口线以下,旧线圈从针头上脱下,套在未封闭的新线圈上,使新线圈封闭。

(9)成圈。舌针下降到弯纱最低点,新线圈形成规定的大小。

(10)牵拉。在牵拉力的作用下,新线圈被拉向针背,防止在下一成圈循环中旧线圈重新套在针上。

图8-8 舌针的成圈过程