1
纺织机械设计基础
1.11.1.1 一、成圈机件及其功能
一、成圈机件及其功能

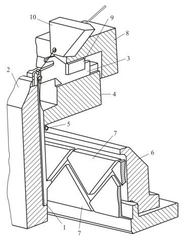
针织机械上成圈机件的作用是将纱线编织成线圈并相互串套起来形成织物。成圈机件包括织针、针筒、沉降片、沉降片圆环、导纱器、压针钢板、针筒和三角等,如图8-1所示。

(1)织针。织针安置在针筒上,是最主要的成圈机件,织针的类型主要有钩针、舌针和复合针三种。钩针和舌针主要用于纬编机(圆纬机和横机),复合针主要用于经编机。每种针的结构如图8-2 所示。

图8-1 针织机成圈编织机件

1—织针 2—针筒 3—沉降片 4—沉降片圆环 5—箍簧 6—织针三角座 7—织针三角 8—沉降片三角座 9—沉降片三角 10—导纱器

图8-2 三种织针的结构简图

钩针的结构简单,制造方便,可以做得较细,编织较紧密织物,但配套的成圈机件复杂,针的寿命短,在纬编中成圈路数少;舌针所配套的成圈机件简单,在纬编中可形成花色品种多,使用较多,但成圈张力波动大,针的结构复杂,制作要求高;复合针在编织过程中针的运动动程小,利于高速,形成线圈张力均匀,线圈结构均匀。

(2)针筒。针筒上带有针槽,织针嵌在针槽内并能够在织针三角的控制下自由滑动。

(3)沉降片。沉降片采用薄钢片制成,结构上有片鼻、片喉、片颚和片踵,如图8-3 所示。沉降片在针织机上与织针相间配置,用于握持住旧线圈,同时还作为织物的搁置平面,协助织针脱圈。

图8-3 沉降片的结构及其使用

1—片鼻 2—片喉 3—片颚 4—片踵

(4)沉降片圆环。沉降片圆环上带有辐射状槽,用于安插沉降片。

(5)导纱器。用于将纱线垫入织针,并防止针舌反拨。

(6)压板与压片。用于在钩针机上压向针钩,将针口关闭。

(7)织针三角。织针形成针道,织针的针踵在其中上升或下降运动,完成编织动作。织针三角包括退圈三角、弯纱三角、护针三角和回针三角,如图8-4 所示。

① 退圈三角:包括起针三角和挺针三角,使织针沿其上升到退圈最高点。

② 弯纱三角:又称压针三角,使织针沿其下降到弯纱最深点。

③ 护针三角:用于织针的非工作区,防止织针的上串或下落。

④ 回针三角:使织针从弯纱最低点回到起始位置,以便于进行下一成圈循环。

(8)沉降片三角。用于推动沉降片沿径向进出运动。

图8-4 平式三角结构

1,2—起针三角 3—挺针三角 4,5—弯纱三角 6—导向三角