1
纺织机械设计基础
1.9.4.2 二、络筒机卷绕机构
二、络筒机卷绕机构

(一) 锭子驱动式

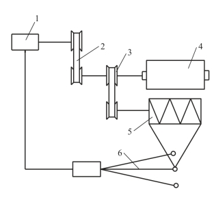
对于直接传动的卷绕机构,为了保持纱线卷绕线速度不变,必须采取措施让卷绕转速随着卷绕直径的增加而逐渐减小。卷绕线速度可以根据纱线张力的变化来控制,也可以根据卷装直径的变化来控制。图6-23 所示为张力控制式卷绕机构。

(二) 摩擦驱动式

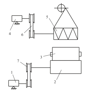
摩擦驱动式卷取机构如图6-24 所示,卷装由摩擦辊摩擦传动,导纱凸轮由一电动机带动,卷装直径虽然越来越大,但是与之接触的摩擦辊表面线速度保持不变,所以卷绕速度不变,卷绕的转速随半径的增大而减小。

图6-23 张力控制式卷绕机构

1—电动机 2—齿形带 3—带轮 4—筒管夹头 5—导纱凸轮 6—张力检测杆

图6-24 摩擦传动卷取机构

1,4—电动机 2—摩擦辊 3—筒子 5—导纱凸轮 6—齿形带 7—带轮