1
纺织机械设计基础
1.9.3.2 二、环锭纺纱卷绕和成形机构
二、环锭纺纱卷绕和成形机构

(一) 加捻卷绕元件

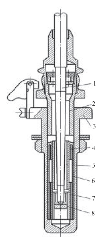
1.锭子

锭子由锭杆、锭盘、上下轴承和锭脚等组成。锭杆的上轴颈部分是圆柱体,直接与滚柱轴承(无内圈的)滚动配合;下底尖做成锥角为60°带圆底的倒锥体,直接与锭底成滑动配合,转动轻快而消耗功率少。轴颈和底尖的硬度在HRC62 以上。锭杆顶部有锥度,用于插拔筒管;中部锥度则用于压配锭盘。锭盘是锭杆的传动盘,它装在锭杆上的位置应使锭带张力恰好通过锭杆的上轴颈部位,以利锭杆的运转。锭脚是锭杆的支座,内装上、下轴承和润滑油,它被固装在龙筋上。

细纱锭子按其生产应用和技术发展的速度要求,可分为普通型(工作转速12000~16000r/min)和高速型工作转速(16000~22000r/min)两类。锭子高速化取决于锭子结构和制造水平的提高,起决定因素的是锭杆上下支承(锭胆)结构的抗震性能。下轴承对于上轴承的装配关系有分离式和联结式两种。其中,D12 系列分离式锭子支承结构如图6-15所示。

2.钢领

图6-15 锭子图

1—锭杆 2—上支承 3—锭脚 4—弹性圈 5—中心套筒 6—定位套管 7—卷簧阻尼器 8—锭底

钢领是钢丝圈的跑道,钢丝圈在高速运行时因离心力作用,其内脚紧压在钢领圆环的内侧面(即跑道)上。目前普遍使用的棉纺钢领为平面钢领(PG 型),近年来还生产了锥面钢领(ZM 型),其跑道的几何形状为双曲线的近似直线部分,对水平线的倾角为55°,特点为比压小,散热好,磨损小,运行平稳。

3.钢丝圈

钢丝圈用于各种纱线的加捻和卷绕,其形式多样。它们的区别在于几何形状、截面形状、质量大小、材料、弯脚开口大小等。钢丝圈的质量大小决定了钢丝圈与钢领之间摩擦力的大小,而后者又决定了卷绕张力和气圈张力的大小。若钢丝圈的质量太小,则纱张力低,气圈太大,管纱卷绕太松软,使绕纱量减少。若钢丝圈质量太大,则纱张力大而引起纺纱断头。因此,钢丝圈的质量须与纱(粗细和强力)和锭速相匹配。

4.筒管

细纱筒管有经纱管和纬纱管两种。经纱管的上部和下部刻有沟槽,纬纱管则在全部绕纱长度上刻有沟槽,以减少纱线退绕时脱圈。纬纱管下端开有探针槽孔,以控制织造时自动换管。另外,按材料分有塑料管和木管两种。筒管下端包有铜皮,可防止损坏。木筒管表面涂漆,光洁又防潮。筒管在使用中应不变形,管的顶孔与锭杆顶部配合应紧密并易拔取,其材料均匀性要好,质量偏心率要小。

(二) 环锭纺纱成形机构

为了后道工序退绕方便,细纱采用等螺距圆锥形交叉卷绕。向上卷绕称为卷绕层,纱线排列比较密;向下卷绕称为束缚层,纱线排列比较疏,如图6-16 所示。钢领板必须作短动程的升降运动,每次升降动程h后,钢领板还应有一个很小的升距m(级升)。在卷绕管底部分时,每层纱的绕纱高度h 和级升m 都较管身部分卷绕时为小,这样就可使管底成凸出形状,而使容量较大。在管底卷绕过程中,每层纱的卷绕高度及级升都由小逐渐增大,当管底成形结束时,就增至正常的h 及m。

图6-16 细纱圆锥形交叉卷绕

1.凸轮成形机构

为了完成上述短动程圆锥形交叉卷绕,钢领板的运动包括:短动程升降,且要有一定的升降比;每次短程升降后有一级升;管底成形。

卷绕成形凸轮控制钢领板的升降运动,使纱线能在管身圆锥面上绕成均匀分布的等距螺旋线,其示意图如图6-17 所示。即要求执行机构应做螺旋线运动,方能把纱线绕成等螺距圆锥形的管纱。若用一个执行机构完成,做螺旋线运动的执行机构分成两部分:一部分做往复直线变速运动,另一部分做匀速卷取运动。前者由钢领板完成,后者由锭子完成。

图6-17 盘形凸轮成形机构示意图

1—成形凸轮 2—摆臂 3—链轮 4—链条 5—钢领板 6—链轮 7—蜗杆 8—撑爪 9—棘轮 10—小摆臂 11—电动机 12—手柄

2.偏心凸轮成形机构

细纱机偏心凸轮成形机构控制是由单片机、变频器及交流异步电动机组成的变频调速系统控制偏心凸轮做变速运动,通过摆臂、链条控制钢领板做升降运动。这一系统只需改变控制程序的输入指令即可改变输出运动规律,可满足钢领板各种输出运动规律。

桃形成形凸轮转速为匀速运动,钢领板的运动规律由凸轮的廓形决定,而偏心凸轮钢领板的运动规律由凸轮的变速输入指令确定。图6-18 为细纱机偏心凸轮成形机构传动原理图。电动机通过联轴器、一对伞齿轮和蜗轮蜗杆,把动力传给偏心凸轮。

图6-18 细纱机偏心凸轮成形机构传动

1—异步电动机 2—联轴器 3—伞齿轮 4—蜗轮 5—蜗杆 6—偏心凸轮

3.其他成形机构

除以上成形机构外,部分国内外厂家采用液压模板成形机构、液压缸式成形机构、差动轮系成形机构和伺服电动机成形运动机构等。如国产VC443A 型牵伸加捻机、日本株式会社产16S 型牵伸加捻机、日本帝人制机DT200 型牵伸加捻机、德国青泽517/2 型牵伸加捻机等,以仿形模板的廓线及光电管控制液压系统的切换完成卷装成形。细纱机液压传动系统的作用,是驱动并控制钢领板的升降运动以及停车时刹车制动。近年来,国外的同类机器采用周转轮系控制升降的新型成形装置,它取消了成形凸轮和升降杠杆等结构。

新型数控细纱机除了锭子传动用变频调速,罗拉传动、集体落纱用交流伺服电动机外,还采用了电子凸轮替代原机械凸轮。传动路线为:伺服电动机(电子凸轮)+减速器→分配轴→钢领板、导纱板、气圈环升降。其原理为PLC 或计算机控制交流伺服电动机驱动钢领板升降运动。采用了电子凸轮技术后,改变了传统的纺纱成形工艺,可根据用户纺纱品种的要求,通过参数设置,任意改变纺纱成形,以满足新产品发展的需要。