1
纺织机械设计基础
1.4.4.1 一、冷却固化过程
一、冷却固化过程

熔体在受力情况下的热传递过程称为冷却固化过程。冷却固化过程可分为流动形变区、凝固形变区和固态移动区三个区域,如图1-14 所示。

图1-14 冷却固化

1.流动形变区

流动形变区指熔体产生膨化现象的区域,通常为距离喷丝板面5~10mm 的范围内。流动变形区会使纤维不均匀、易黏附在喷丝板上,造成纤维断头和毛丝现象。因此,应适当降低熔体的黏度(提高纺丝温度)、选用长径比大的喷丝孔,以使该区域尽量减小。

2.凝固形变区

凝固形变区指熔体在膨化完成后直至到达凝固点、开始等速移动之间的区域,结束点通常距离喷丝板面约40~80cm。在该区域内,熔体细流在卷绕机构的牵引和一定的冷却条件下,逐渐凝固成纤维,是冷却固化最重要的区域。

纤维在凝固形变区特征为拉长变细、温度急剧下降、黏度上升变成固体,纤维内部大分子结构也产生了相应的变化。

3.固态移动区

固态移动区指纤维从凝固点开始至成形结束的区域。冷却成型装置中的甬道可以完全冷却纤维,使纤维在进入导丝盘或卷绕机构前温度降为50℃左右。但在纺丝速度提高时,甬道的作用也会相对减小。

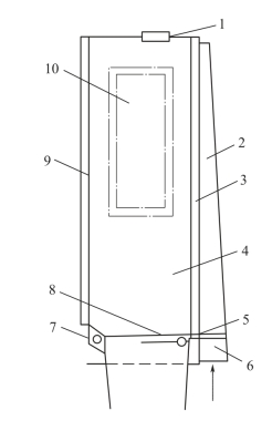
图1-15 侧吹风装置

1—喷丝板 2,6—风道 3—整流装置 4—侧门 5—阀 7—照明灯 8—导丝器 9—排风门 10—视窗