16.6 减速器箱体和附件的设计
本阶段的设计绘图工作应在三个视图上同时进行,必要时可增加局部视图。设计中应遵循先箱体、后附件,先主体、后局部,先轮廓、后细节的结构设计顺序。
1.减速器箱体的结构设计
减速器箱体的结构设计需要注意以下几方面问题:
1)轴承旁连接螺栓凸台高度h的确定 为了提高剖分式箱体轴承座的刚度,轴承两旁螺栓在不与轴承盖连接螺钉干涉的前提下,两螺栓轴线尽量靠近轴承,通常螺栓轴线与轴承盖相切,即取两连接螺栓的中心距S=D2(D2为轴承盖的外径),如图16-13所示。两轴承座孔之间若装不下两个螺栓,可在两个轴承座孔中间装一个螺栓。在轴承尺寸最大的那个轴承旁螺栓轴线确定后,根据螺栓直径M d1查表15-1可确定扳手空间C1和C2值。在满足C1的条件下,用作图法确定凸台的高度h,这样定出的h值不一定是整数,然后将该值向增大方向圆整成R20的系列标准数值(表1-19)。为了便于制造,应将箱体上各轴承旁螺栓凸台设计成相同高度,都以最大的轴承座孔的凸台高度为准。考虑到铸造拔模,螺栓凸台侧面的斜度一般可取1∶20。

图16-13 轴承旁连接螺栓凸台高度h的确定
2)箱盖顶部外轮廓的设计 箱盖顶部外轮廓常由圆弧和直线组成。大齿轮所在一侧的箱盖外表面圆弧半径
为大齿轮齿顶圆直径,δ1为箱盖壁厚。通常情况下,大齿轮轴承座孔旁螺栓凸台均处于箱盖圆弧的内侧,按有关尺寸画出即可。而小齿轮一侧用上述方法取得的半径画出的圆弧,往往会使小齿轮轴承座孔旁螺栓凸台超出箱盖圆弧。为了使小齿轮轴承座孔旁螺栓凸台位于箱盖圆弧内侧,以便于设计与制造,应取箱盖圆弧半径R大于凸台圆弧半径R′,如图16-14所示。画出小齿轮和大齿轮两侧的圆弧后,可作两圆弧的切线。这样,箱盖顶部外轮廓就完全确定了。
在初绘装配底图时,俯视图在小齿轮一侧的内壁线还未确定,现将主视图上有关部分再投影到俯视图上,如图16-14所示,便可画出俯视图上小齿轮侧箱体内壁、外壁和箱缘等结构。
3)箱体凸缘连接螺栓的布置 连接箱盖与箱座的螺栓应对称布置,并且不应与吊耳、吊钩和定位销等相干涉。为了保证箱盖与箱座接合的紧密性,箱缘连接螺栓的间距不宜过大,对于中小型减速器来说,由于连接螺栓数目较少,间距一般不大于100~150mm;大型减速器可取150~200mm。

图16-14 小齿轮一侧箱盖圆弧的确定 及连接螺栓凸台的三视图
4)箱座高度H及油面的确定 减速器工作时,为了避免大齿轮搅起油池底面的沉积物,又要保证箱座有足够的容积存放传动所需的润滑油,必须满足大齿轮齿顶圆到箱座底面的距离大于30~50mm,即箱座的高度
+(30~50)mm+δ+(5~8)mm,如图16-2和图16-3所示,然后将其圆整成整数。
对于圆柱齿轮减速器,圆柱齿轮浸入油中至少应有一个齿高,且不得小于10mm。这样确定的油面可作为最低油面,考虑到使用中油不断蒸发损耗,还应给出一个允许的最高油面,中小型减速器最高油面比最低油面高出5~10mm即可。
油面高度确定后,就可根据油池底面积计算出实际的装油量V。V应大于或等于传动的需油量Vo,即V≥Vo。若V<Vo,应将箱座底面下移,适当增加箱座的高度以增加油池深度,直至V≥Vo。通常单级减速器每传递1kW的功率所需油量Vo=0.35~0.7L,多级减速器则按级数成比例地增加。Vo的小值用于低黏度油,大值用于高黏度油。油池的容积越大,则油的寿命越长。
5)油沟的结构形式及尺寸
(1)输油沟。当滚动轴承利用齿轮飞溅起来的润滑油润滑时,应在箱座的凸缘面上开设输油沟,如图15-2c、d所示。输油沟的构造有机械加工油沟和铸造油沟(与箱体同时铸造)两种。机械加工油沟容易制造,工艺性好,故常用;铸造油沟则很少采用。输油沟的结构及尺寸如图16-15所示。

图16-15 输油沟的结构
(2)回油沟。当滚动轴承采用脂润滑时,可以在箱座的凸缘面上开设回油沟,以提高减速器箱体的密封性。回油沟的尺寸与输油沟相同,其结构如图15-2a、b所示。
6)箱体的刚度 为了提高轴承座的刚度,应设置加强肋。箱体的加强肋有外肋、内肋、凸壁式等结构形式,如图16-16所示。内肋结构刚度大,箱体外表面光滑、美观,但会增加搅油损耗,制造工艺较复杂,故一般多采用外肋结构或凸壁式箱体结构。

图16-16 箱体的加强肋结构
(a)外肋;(b)内肋;(c)凸壁式
为了保证箱盖与箱座的连接刚度,箱盖与箱座连接凸缘厚度b1和b一般取1.5倍的箱体壁厚,即b1=1.5δ1、b=1.5δ,如图16-17a所示;为了保证箱体的支承刚度,箱座底板凸缘厚度b2一般取2.5倍的箱座壁厚,即b2=2.5δ,箱座底板凸缘的宽度B应超过箱座的内壁,一般取B=C1+C2+2δ,以利于支撑,如图16-17b、c所示。

图16-17 箱体连接凸缘和箱座凸缘的尺寸
(a)箱体连接凸缘;(b)箱座底板凸缘正确结构;(c)箱座底板凸缘不正确结构
7)箱体结构的工艺性 箱体结构的工艺性包括铸造工艺性和机械加工工艺性。它与箱体制造是否经济合理密切相关。
(1)箱体结构的铸造工艺性。设计铸造箱体时,为便于造型、浇铸及减少铸造缺陷,箱体应力求外形简单,壁厚均匀,过渡平缓;为了避免产生金属积聚,两壁间不宜采用锐角连接,如图16-18所示。

图16-18 箱壁结构
(a)、(c)不正确的箱壁结构(两壁间形成锐角连接并有缩孔);(b)、(d)正确的箱壁结构
在确定箱体壁厚尺寸时,要考虑金属液态流动的通畅性。壁厚不可太薄,其值按表15-1推荐的经验公式计算,否则可能出现铸件填充不满的缺陷。
在采用砂型铸造时,箱体上铸造表面(铸后不再加工的表面)相交处,应设计成圆角过渡,铸造圆角半径一般可取R≥5mm,以便于液态金属的流动。
为了便于造型时取模,铸件表面沿拔模方向应设计成1∶10~1∶20的拔模斜度。在铸造箱体的拔模方向上应尽量减少凸起结构,必要时可设置活块,如图16-19所示,以减少拔模困难。当铸件表面有多个凸起结构时,应尽量将其连成一体,如图16-20所示,以便于起模。
箱体设计时应尽量避免出现狭缝,如图16-21a中两凸台距离过近而形成狭缝,铸造时容易出现废品,所以可设计成如图16-21b所示的结构。
(2)箱体结构的机械加工工艺性。在设计箱体结构形状时,应尽可能减小机械加工面,以提高劳动生产率。如图16-22所示的箱体底面的结构形状中,其中图16-22a所示的加工面积太大,不甚合理;图16-22b、c所示结构较好,其中图16-22b适合于中、小型箱体底面,图16-22c适合于大型箱体底面。
箱体上任何一处加工表面与非加工表面必须严格分开,不要使它们处于同一表面上,采用凸出还是凹入应视加工方法而定。一般轴承座孔端面、通气器、吊环螺钉、油塞等处均应凸起5~8mm,窥视孔处凸起3~5mm。箱座与箱盖连接螺栓的头部及螺母与箱缘相接触的表面一般采用凹入形式,即沉头座的结构。锪平沉头座时,深度不限,锪平为止,在图上可画成2~3mm深。
为保证加工精度、缩短工时,应尽量减少加工时工件和刀具的调整次数。因此,同一轴线上的轴承座孔的直径、精度和表面粗糙度应尽量取得一致,以便一次镗出,各轴承座的外端面应在同一平面上,如图16-23所示,而且箱体两侧轴承座端面应与箱体中心平面对称,以便于加工和检测。

图16-19 有活块模型的拔模过程
(a)铸件;(b)整体木模,不能取出;(c)分体木模;(d)取出主体,留下活块;(e)取出活块

图16-20 铸件的凸起结构
(a)结构较差;(b)结构较好

图16-21 避免狭缝的铸件结构
(a)铸件有狭缝;(b)铸件无狭缝

图16-22 箱体底面结构形状
(a)加工面积大,不甚合理;(b)中、小型箱体底面;(c)大型箱体底面

图16-23 箱体轴承座端面结构
(a)不合理结构;(b)合理结构
2.减速器附件的设计
为了检查减速器中传动件的啮合情况,如注油、排油、通气和便于安装、吊运等,减速器箱体上常设置某些必要的装置和零件,这些装置和零件及箱体上相应的局部结构统称为附件。减速器附件包括窥视孔和视孔盖、通气器、油面指示器、放油孔和放油螺塞、定位销、启盖螺钉和起吊装置等。
1)窥视孔和视孔盖 为了便于检查减速器内传动件的啮合情况、接触斑点、齿侧间隙并向箱体内注入润滑油,在减速器箱盖上设置有窥视孔。窥视孔为长方形,其大小以手能伸入箱体进行检查操作为宜。窥视孔处应设计凸台以便于加工。视孔盖可用轧制钢板或铸铁制成,它和箱体之间应加石棉橡胶纸密封垫片,以防止漏油。轧制钢板视孔盖如图16-24a所示,其结构轻便,上下面无需机械加工,应用较广;铸铁视孔盖如图16-24b所示,其制造工艺较复杂,故应用较少。窥视孔及视孔盖的尺寸见表8-4。

图16-24 视孔盖
(a)轧制钢板视孔盖;(b)铸铁视孔盖
2)通气器 减速器工作时,箱体内温度升高,气体膨胀,压力增大,为使箱内受热膨胀的空气能自由地排出,以保证箱体内外压力平衡,不致使润滑油沿箱体接合面、轴伸处和其他缝隙渗漏出来,通常在视孔盖或箱盖上装设通气器。通气器分为简易式通气器(又称通气螺塞)和过滤网式通气器,如图16-25所示。图16-24所示为视孔盖与简易式通气器的连接结构,通常这种通气器用于较清洁环境的小型减速器中。多尘环境应选用过滤网式通气器。通气器的具体结构和尺寸见表8-9~表8-11,可根据减速器的大小来选择。

图16-25 通气器
(a)简易式通气器(通气螺塞);(b)过滤网式通气器
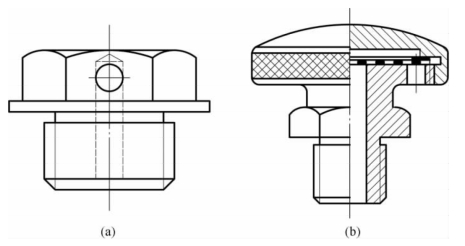
3)油面指示器 为了检查减速器箱体内油池油面的高度,以便经常保持油池内有适量的油量,一般在箱体便于观察和油面较稳定的部位(如低速级大齿轮附近)装设油面指示器。油面指示器的种类很多,有油标尺、圆形油标和长形油标等,如图16-26所示。在难以观察到的地方,应该采用油标尺。油标尺结构简单,尺上有表示最高油面和最低油面的刻线,如图16-26a所示,在减速器中较常采用。带隔套的油标尺(图16-26b)可以减轻油搅动的影响,故常用于长期连续工作的减速器,以便能在不停车的情况下随时检查油面。间断工作的减速器可用不带隔套的油标尺。油标尺的安装位置不能太低,以免油溢出。油标尺的中心线一般与水平面呈45°或大于45°,而且应注意加工油标尺凸台和安装油标时,不能与箱体凸缘或吊钩相干涉,如图16-27所示。油标尺凸台的主视图与左视图的投影关系如图16-28所示。若减速器离地面较高容易观察时或箱座较低无法安装油标尺时,可采用圆形油标或长形油标。各种油面指示器的结构尺寸参见表8-5~表8-8。

图16-26 油面指示器
(a)不带隔套的油标尺;(b)带隔套的油标尺;(c)圆形油标;(d)长形油标

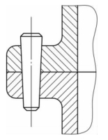
图16-27 油标尺凸台的位置
(a)不正确;(b)正确

图16-28 油标尺凸台的主视图与左视图的投影关系
4)放油孔和放油螺塞 为了排除油污,更换减速器箱体内的污油,在箱体底部油池的最低处设置有放油孔,安装放油螺塞。箱座内底面常做成1°~1.5°倾斜面,在油孔附近做成凹坑,以便污油的汇集而排尽。放油螺塞有六角圆柱细牙螺纹螺塞和圆锥螺纹螺塞两种。圆柱细牙螺纹螺塞自身不能防止漏油,应在六角螺塞与放油孔接触处加封油垫片。而圆锥螺纹螺塞能直接密封,无需封油垫片。放油螺塞的直径可按减速器箱座壁厚的2~2.5倍选取。图16-29所示为放油螺塞的结构,其中图16-29a污油排不尽,结构不合理;图16-29b结构正确;图16-29c污油虽能排尽,但下半边螺孔攻螺纹工艺性较差。封油垫片用耐油橡胶、工业用革或石棉橡胶纸制成。放油螺塞及封油垫片的尺寸见表8-13和表8-14。

图16-29 放油孔和放油螺塞的位置
(a)不正确;(b)正确;(c)正确(下半边螺孔攻螺纹工艺性较差)
5)定位销 为了保证箱体轴承座孔的镗孔精度和装配精度,需在箱体连接凸缘上设置两个定位销。为了提高定位精度,两定位销相距尽量远些,而且与箱体对称线距离不等,以避免箱盖装反。定位销有圆锥销和圆柱销两种。为保证重复拆装时定位销与销孔的紧密性和便于定位拆卸,减速器通常采用圆锥销。一般取定位销的直径为箱盖与箱座连接凸缘螺栓直径的0.8倍,长度应稍大于箱盖与箱座连接凸缘的总厚度,使两端均露出在外,如图16-30所示,以便装拆。定位销结构尺寸参见表4-30。

图16-30 定位销结构

图16-31 启盖螺钉和启盖螺纹孔
(a)启盖螺钉;(b)启盖螺纹孔
6)启盖螺钉 为了加强密封效果,防止润滑油从箱体剖分面处渗漏,通常在箱座和箱盖接合面处涂有密封胶或水玻璃,因而在拆卸时接合面往往被粘住不易分开。为了开启箱盖,常在箱盖凸缘上装设1~2个启盖螺钉,拆卸箱盖时,可先拧动此螺钉顶起箱盖。启盖螺钉的直径与箱盖凸缘连接螺栓直径相同,最好与连接螺栓布置在同一直线上,以便于钻孔;螺纹的有效长度应大于箱盖凸缘的厚度,钉杆端部应制成圆柱形或半球形,以免反复拧动时损伤杆端螺纹和剖分面,如图16-31a所示。启盖螺钉也可设置于箱座,由下向上顶开箱盖,如图16-31b所示。
7)起吊装置 为了搬运和装拆减速器,应在箱体上设计起吊装置。一般在箱盖上方安装两个吊环螺钉或在箱盖上铸出吊耳或吊环,用来吊运箱盖;在箱座凸缘的下方铸出吊钩,用来吊运箱座或整台减速器。
吊环螺钉为标准件,设计时其公称直径按减速器质量大小根据表8-12选取。图16-32a、b所示的吊环螺钉的凸肩紧抵支承面,为正确结构;而图16-32c所示的吊环螺钉的支承面没有凸台,也没有加工出沉头座,而且螺孔口未扩孔,螺钉不能完全拧入,箱盖内表面螺钉处无凸台,加工时易偏钻打刀。
在箱盖上直接铸出吊耳或吊环,可避免采用吊环螺钉时在箱盖上进行机械加工,但吊耳或吊环的铸造工艺较螺孔座复杂些。箱盖吊耳、吊环和箱座吊钩的结构和尺寸如图16-33所示,设计时可根据具体条件进行适当的修改。

图16-32 吊环螺钉的连接结构
(a)凸台安装正确结构;(b)沉头座安装正确结构;(c)错误安装结构

图16-33 吊耳、吊环和吊钩的结构和尺寸
(a)箱盖上的吊耳;(b)箱盖上的吊环;(c)箱座上的吊钩
完成减速器箱体和附件设计后,可画出如图16-34所示的减速器装配工作底图。为了最终获得满意的装配工作图,一般还应对减速器装配工作底图进行认真、仔细的综合考虑和全面检查,如设计计算是否正确;轴系设计是否合理;轴上零件和轴系是否得到定位和固定;减速器的加工、装配和调整是否方便;润滑和密封是否可靠;箱体结构的工艺性是否良好;附件是否齐全,布局是否恰当;在视图表达和图样画法上是否有不妥或错误之处;等等。对检查中发现的遗漏内容要予以补充,错误或不妥之处应予以改正,从而可得到正确、合理的减速器装配工作图。

图16-34 一级圆柱齿轮减速器装配工作底图