第一节 髋部CT与MR图像

图5-1 经骶髂关节的横断层CT图像(骨窗)
1 腹直肌 rectus abdominis 2 乙状结肠 sigmoid colon
3 髂肌 iliacus 4 髂骨翼 ala of ilium
5 臀大肌 gluteus maximus 6 竖脊肌 erector spinae
7 第3骶椎 3rd sacral vertebrae 8 骶髂关节 sacroiliac joint
9 臀中肌 gluteus medius 10 直肠 rectum
11 髂外动脉 external iliac artery 12 盲肠 cecum

图5-2 经股骨头的横断层CT图像(骨窗)
1 腹直肌 rectus abdominis 2 膀胱 urinary bladder
3 臀中肌 gluteus medius 4 髋臼窝 acetabular fossa
5 坐骨体 body of ischium 6 臀大肌 gluteus maximus
7 尾骨 coccyx 8 直肠 rectum
9 大转子 greater trochanter 10 股骨头 femoral head
11 耻骨体 body of pubis 12 髂腰肌 iliopsoas
13 缝匠肌 sartorius

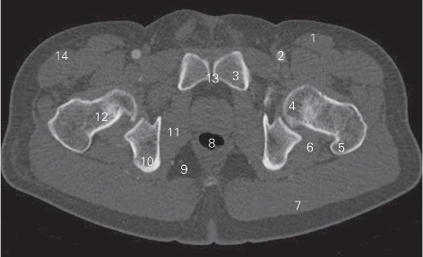
图5-3 经股骨颈的横断层CT图像(骨窗)
1 缝匠肌 sartorius 2 股动脉 femoral artery
3 耻骨上支 superior ramus of pubis 4 股骨头 head of femur
5 大转子 greater trochanter 6 股方肌 quadratus femoris
7 臀大肌 gluteus maximus 8 肛管 anal canal
9 坐骨肛门窝 ischioanal fossa 10 坐骨体 body of ischium
11 闭孔内肌 obturator internus 12 股骨颈 neck of femur
13 耻骨联合 pubic symphysis 14 阔筋膜张肌 tensor fasciae latae

图5-4 经股骨头的横断层MR T1加权图像
1 腹直肌 rectus abdominis 2 股动、静脉 femoral artery and vein
3 耻骨体 body of pubic 4 膀胱 urinary bladder
5 直肠 rectum 6 上孖肌 gemellus superior
7 肛提肌 levator ani 8 尾骨 coccyx
9 臀大肌 gluteus maximus 10 坐骨体 body of ischium
11 股骨头 head of femur 12 阔筋膜张肌 tensor fasciae latae

图5-5 经股骨颈横断层的MR T1加权图像
1 腹直肌 rectus abdominis 2 缝匠肌 sartorius
3 耻骨肌 pectineus 4 股骨颈 neck of femur
5 坐骨肛门窝 ischioanal fossa 6 臀大肌 gluteus maximus
7 坐骨结节 ischial tuberosity 8 大转子 greater trochanter
9 肛管 anal canal 10 闭孔内肌 obturator internus
11 股直肌 rectus femoris 12 耻骨上支 superior ramus of pubis
13 耻骨联合 pubic symphysis

图5-6 经股骨颈的冠状断层MR T1加权图像
1 臀中肌 gluteus medius 2 臀小肌 gluteus minimus
3 股骨颈 femoral neck 4 大转子 greater trochanter
5 股骨 femur 6 股外侧肌 vastus lateralis
7 股薄肌 glacilis muscle 8 大收肌 adductor magnus
9 闭孔外肌 obturator externus 10 闭孔内肌 obturator internus
11 股骨头 femoral head 12 髋臼 acetabulum