第五节 手、腕部CT与MR图像

图4-39 经近侧列腕骨的横断层CT图像(骨窗)
1 桡侧腕短伸肌腱 tendon of extensor carpi radialis brevis
2 桡侧腕长伸肌腱 tendon of extensor carpi radialis longus
3 舟骨 scaphoid bone
4 桡侧腕屈肌腱 tendon of flexor carpi radialis
5 尺侧腕屈肌腱 tendon of flexor carpi ulnaris
6 豌豆骨 pisiform bone 7 钩骨 hamate bone
8 头状骨 capitate bone 9 三角骨 triquetral bone
10 指伸肌腱 tendon of extensor digitorum

图4-40 经远侧列腕骨的横断层CT图像(骨窗)
1 桡侧腕短伸肌腱 tendon of extensor carpi radialis brevis
2 桡侧腕长伸肌腱 tendon of extensor carpi radialis longus
3 小多角骨 trapezoid bone 4 拇长伸肌腱 tendon of extensor pollicis
5 第1掌基底骨 1st metacarpal bone
6 大多角骨 trapezium bone 7 腕管 brachial canal
8 小指展肌腱 tendon of abductor digiti minimi
9 钩骨钩 hamulus of hamate bone

图4-41 经尺骨茎突的冠状断层CT图像(骨窗)
1 近侧指间关节 proximal inter phalangeal joint
2 掌指关节 metacarpophalangeal joint 3 第3掌骨 3rd metacarpal bone
4 腕骨间关节 intercarpal joint 5 小多角骨 trapezoid bone
6 头状骨 capitate bone 7 舟骨 scaphoid bone
8 桡骨 radius
9 远侧尺桡关节 distal radioulnar joint
10 腕关节 carpal joint 11 月骨 lunate bone
12 尺骨茎突 processus styloideus ulnae 13 三角骨 triquetral bone
14 钩骨 hamate bone 15 腕掌关节 carpometacarpal joint
16 近节指骨 proximal phalanx 17 中节指骨 middle phalanx
18 远侧指间关节 distal interphalangeal joint
19 远节指骨 distal phalanx

图4-42 经近侧列腕骨近侧份的横断层MR T2WI FS
1 桡侧腕短伸肌腱 tendon of extensor carpi radialis brevis
2 舟骨scaphoid bone
3 桡侧腕长伸肌腱 tendon of extensor carpi radialis longus
4 桡动脉radial artery
5 拇长伸肌腱 tendon of extensor pollicis longus
6 拇短伸肌腱 tendon of extensor pollicis brevis
7 拇长展肌腱 tendon of abductor pollicis longus
8 拇长屈肌腱 tendon of flexor pollicis longus
9 桡侧腕屈肌腱 tendon of flexor carpi radialis
10 指深屈肌腱 tendon of flexor digitorum profundus
11 指浅屈肌腱 tendon of flexor digitorum superficialis
12 小鱼际hypothenar 13 月骨lunate bone
14 三角骨triquetral bone
15 尺侧腕伸肌腱 tendon of extensor carpi ulnaris
16 小指伸肌腱 tendon of extensor digiti minimi
17 指伸肌腱 tendon of extensor digitorum

图4-43 经远侧列腕骨远侧份的横断层MR T2WI FS
1 指伸肌腱 tendon of extensor digitorum 2 头状骨capitate bone
3 桡侧腕长伸肌腱 tendon of extensor carpi radialis longus
4 桡侧腕短伸肌腱 tendon of extensor carpi radialis brevis
5 舟骨scaphoid bone
6 拇长伸肌腱 tendon of extensor pollicis longus
7 拇短伸肌腱 tendon of extensor pollicis brevis
8 拇长展肌腱 tendon of abductor pollicis longus
9 拇长屈肌腱 tendon of flexor pollicis longus
10 桡侧腕屈肌腱 tendon of flexor carpi radialis
11 腕管支持带tenaculum of carpal canal
12 指深屈肌腱 tendon of flexor digitorum profundus
13 指浅屈肌腱 tendon of flexor digitorum superficialis
14 尺侧腕屈肌腱 tendon of flexor carpi ulnaris 15 小鱼际hypothenar
16 豌豆骨pisiform bone 17 三角骨triquetral bone
18 尺侧腕伸肌腱 tendon of extensor carpi ulnaris
19 小指伸肌腱 tendon of extensor digiti minimi

图4-44 经腕掌关节的横断层MR T2WI FS
1 头状骨 capitate bone 2 桡侧腕短伸肌 extensor carpi radialis brevis
3 拇长屈肌 flexor pouicis longus
4 桡侧腕长伸肌腱 tendon of extensor carpi radialis longus
5 小多角骨trapezoid bone 6 大多角骨trapezium bone
7 桡侧腕屈肌腱 tendon of flexor carpi radialis
8 大鱼际thenar
9 指浅屈肌腱 tendon of flexor digitorum superficialis
10 指深屈肌腱 tendon of flexor digitorum profundus
11 掌腱膜palmar aponeurosis 12 尺神经ulnar nerve
13 小鱼际hypothenar 14 第五掌骨5th metacarpal bone
15 小指伸肌腱 tendon of extensor digiti minimi
16 第四掌骨4th metacarpal bone
17 指伸肌腱 tendon of extensor digitorum

图4-45 经远侧列腕骨间的横断层MR T2WI FS
1 桡侧腕短伸肌 extensor carpi radialis brevis
2 桡侧腕长伸肌 extensor carpi radialis longus
3 拇长伸肌 extensor pollicis longus 4 舟骨 scaphoid bone
5 拇短伸肌 extensor pollicis brevis 6 拇长展肌 abductor pollicis longus
7 桡侧腕屈肌 flexor carpi radialis
8 拇长屈肌 flexor pouicis longus
9 指深屈肌 flexor digitorum profundus
10 腕管支持带 tenaculum of carpal canal
11 指浅屈肌 flexor digitorum superficialis
12 尺管 ulnar canal 13 尺神经 ulnar nerve
14 小鱼际 hypothenar
15 尺侧腕伸肌 extensor carpi ulnaris 16 小指伸肌 extensor digiti minimi
17 钩骨 hamate bone 18 头状骨 capitate bone
19 指伸肌 extensor digitorum

图4-46 经掌骨近侧四分之一的横断层MR T2WI FS
1 指伸肌 extensor digitorum 2 指深屈肌 flexor digitorum profundus
3 正中神经 median nerve 4 第一掌骨 1st metacarpal bone
5 拇长屈肌腱 tendon of flexor pollicis longus
6 大鱼际 thenar
7 指浅屈肌腱 tendon of flexor digitorum superficialis
8 掌腱膜 palmar aponeurosis 9 尺神经 ulnar nerve
10 小鱼际 hypothenar 11 第五掌骨 5th metacarpal bone
12 小指伸肌腱 tendon of extensor digiti minimi

图4-47 经掌骨中远四分之一的横断层MR T1加权图像
1 伸肌腱 tendon of extensor 2 骨间背侧肌 dorsal interossei
3 拇指近节指骨 proximal phalanx of thumb
4 拇收肌 adductor pollicis 5 拇长屈肌 flexor pollicis longus
6 指浅屈肌 flexor digitorum superficialis
7 指深屈肌 flexor digitorum profundus
8 小鱼际 hypothenar 9 第五掌骨5th metacarpal bone
10 骨间掌侧肌 palmar interossei

图4-48 经掌骨远侧四分之一的横断层MR T1加权图像
1 骨间背侧肌 dorsal interossei 2 拇指近节指骨 proximal phalanx of thumb
3 骨间掌侧肌 palmar interossei 4 屈肌腱 tendon of flexor
5 蚓状肌 lumbricales 6 第五掌骨 5th metacarpal bone
7 伸肌腱 tendon of extensor

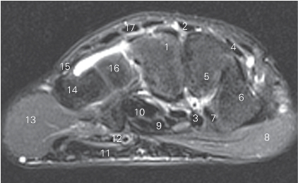
图4-49 经舟骨外侧份的矢状断层MR T1加权图像
1 骨间掌侧肌 palmar interossei 2 骨间背侧肌 dorsal interossei
3 头状骨 capitate bone 4 伸肌腱 tendon of extensor
5 桡骨 radius 6 月骨 lunate bone
7 指浅屈肌腱 tendon of flexor digitorum superficialis
8 指深屈肌腱 tendon of flexor digitorum profundus

图4-50 经小多角骨的矢状断层MR T1加权图像
1 指深屈肌 flexor digitorum profundus 2 伸肌腱 tendon of extensor
3 第二掌骨 2nd metacarpal bone 4 小多角骨 trapezoid bone
5 舟骨 scaphoid bone 6 桡骨 radius
7 蚓状肌 lumbricales 8 骨间掌侧肌 palmar interossei

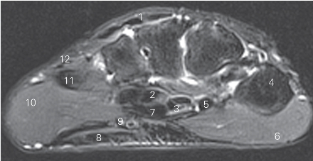
图4-51 经月骨的矢状断层MR T1加权图像
1 远节指骨 distal phalanx
2 远侧指间关节 distal interphalangeal joint
3 中节指骨 middle phalanx
4 指深屈肌腱 tendon of flexor digitorum profundus
5 近侧指间关节 proximal interphalangeal joint
6 伸肌腱 tendon of extensor
7 指浅屈肌腱 tendon of flexor digitorum superficialis
8 近节指骨 proximal phalanx 9 掌指关节 metacarpophalangeal joints
10 第三掌骨 3rd metacarpal bone 11 骨间掌侧肌 palmar interossei
12 腕掌关节 carpometacarpal joints 13 头状骨 capitate bone
14 月骨 lunate bone 15 桡骨 radius

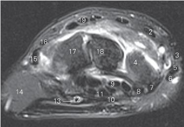
图4-52 经豌豆骨的冠状断层MR T1加权图像
1 大鱼际 thenar
2 桡侧腕屈肌腱 tendon of flexor carpi radialis
3 指浅屈肌腱 tendon of flexor digitorum superficialis
4 尺侧腕屈肌 flexor carpi ulnaris
5 豌豆骨 pisiform bone
6 小鱼际 hypothenar

图4-53 经大多角骨的冠状断层MR T1加权图像
1 第一掌骨 1st metacarpal bone 2 大多角骨 trapezium bone
3 舟骨 scaphoid bone
4 拇长屈肌腱 tendon of flexor pollicis longus
5 豌豆骨 pisiform bone
6 指深屈肌腱 tendon of flexor digitorum profundus
7 钩骨钩 hamulus of hamate bone 8 小鱼际 hypothenar

图4-54 经三角软骨盘的冠状断层MR T1加权图像
1 大多角骨 trapezium bone 2 小多角骨 trapezoid bone
3 头状骨 capitate bone 4 舟骨 scaphoid bone
5 月骨 lunate bone 6 桡骨 radius
7 尺骨 ulna 8 三角软骨盘 triangular fibrocartilage
9 三角骨 triquetral bone 10 钩骨 hamate bone
11 第五掌骨 5th metacarpal bone

图4-55 经下尺桡关节的冠状断层MR T1加权图像
1 小多角骨 trapezoid bone 2 头状骨 capitate bone
3 舟骨 scaphoid bone 4 舟月韧带 scapholunate ligament
5 下尺桡关节 distal radioulnar joint 6 桡骨 radius
7 尺骨 ulna
8 三角纤维软骨 triangular fibrocartilage
9 月三角韧带 lunatotriquetral ligament 10 三角骨 triquetral bone
11 钩骨 hamate bone