三国文化研究(第2辑)
-
1.1《三国文化研究》(第二辑)编委会
-
1.2前 言
-
1.3目录
-
1.4《三国志》与三国历史文化研究
-
1.4.1曹操“春祠令”校勘问题二则
-
1.4.2从《三国志》中“别纸”到出土文献“别纸”——对“别纸”书札源流与演变的一个考察
-
1.4.2.1一、《三国志》中所见“别纸”书札
-
1.4.2.2二、“别纸”书札的发展与演变
-
1.4.2.3三、出土唐宋“别纸”书札的相关特征
-
1.4.2.3.1(一)“别纸”的文体多样
-
1.4.2.3.2(二)“别纸”的内容复杂,形式多样
-
1.4.2.3.3(三)“别纸”文体编排成文集有其规律
-
1.4.2.3.4(四)“别纸”与附言仍有区别
-
1.4.2.4四、结论
-
1.4.3浅论《三国志》中的俗字俗语
-
1.4.3.1一、俗字
-
1.4.3.2二、俗语词
-
1.4.3.2.1(一)容易误解的俗语词
-
1.4.3.2.2(二)容易误解的人名、地名、国名等专名俗语词
-
1.4.3.2.3(三)容易误解的方言俗语词
-
1.4.3.2.4(四)费解的俗语词
-
1.4.4交通史著述启发的三国史书写——以诸葛亮、姜维北伐路线为例
-
1.4.4.1河南道
-
1.4.4.2陇蜀古道
-
1.4.4.3祁山道
-
1.4.4.4陈仓道
-
1.4.4.5褒斜道
-
1.4.4.6傥骆道
-
1.4.4.7结 语
-
1.4.5文武赤壁皆黄州——还原周郎赤壁战地新考
-
1.4.5.1一、关于战争命名问题
-
1.4.5.2二、从军事战略上考量蒲圻赤壁的不可靠
-
1.4.6所有江南“赤壁”均非赤壁之战古战场——从史籍对战役命名的常规看赤壁之战的方位
-
1.4.6.11.陈寿《三国志》的原始记录
-
1.4.6.22.六朝唐宋历史地理著作所做的结论
-
1.4.6.33.监利华容古道是曹操兵退江陵的必经之路
-
1.4.6.44.大量出土文物的证明
-
1.4.7吴蜀立国之策与荆州之争考论
-
1.4.7.1一、吴蜀立国之策概述
-
1.4.7.1.1(一)吴国:周瑜“时局论”与鲁肃“江东对”
-
1.4.7.1.2(二)蜀国:诸葛亮“隆中对”
-
1.4.7.2二、荆州之争与三国鼎立格局
-
1.4.7.2.1(一)赤壁之战前:诸家势力集团对荆州重要性之认识
-
1.4.7.2.2(二)赤壁之战与三国鼎立格局初成
-
1.4.7.3三、荆州之争与三国最终走向
-
1.4.7.3.1(一)赤壁之战后荆州形势与归属
-
1.4.7.3.2(二)天下归晋:曹魏灭蜀与西晋灭吴
-
1.4.8从蜀、魏、吴三国经济社会发展看“三国鼎立”对历史的贡献
-
1.4.8.1一、蜀国经济社会发展状况
-
1.4.8.2二、魏国经济社会发展状况
-
1.4.8.3三、吴国经济社会发展状况
-
1.4.8.4四、结语
-
1.4.9“股臂”与“鸡肋”:三国时期汉中战略地位的地理释读
-
1.4.9.1一、阻隔与缓冲:三国时期汉中的地理空间特征
-
1.4.9.2二、“股臂”与“鸡肋”:魏蜀集团对汉中战略地位的差异性认知
-
1.4.9.3三、摇摆与固守:地理因素与魏蜀汉中战略的抉择
-
1.4.10试论曹操蜀道战略的实施及影响
-
1.4.10.1一、曹操蜀道战略的实施背景
-
1.4.10.2二、曹操蜀道战略的实施经过
-
1.4.10.3三、曹操蜀道战略的历史影响
-
1.4.10.4四、小结
-
1.4.11张飞、张郃宕渠大战战地考
-
1.4.11.1一、历代战地说
-
1.4.11.2二、战地的大体范围
-
1.4.11.3三、二张对峙之地
-
1.4.11.4四、二张决战之地
-
1.4.12魏延冤案中的费祎与吴懿
-
1.4.12.1一、刘备拔擢魏延付予重任
-
1.4.12.2二、魏延冤死于杨仪、费祎连手
-
1.4.12.3三、伪造的孔明弥留军事会议
-
1.4.12.4四、后勤派、宫廷派三人联盟
-
1.4.12.5五、成都小朝廷的宫闱之内
-
1.4.12.6六、吴懿的侧面角色
-
1.4.13孙权统一天下思想浅析
-
1.4.13.1一、孙权所处的天时、地利、人和均为劣势,不足以灭蜀并魏
-
1.4.13.2二、孙权手下的名将过早凋零
-
1.4.13.3三、袭取荆州,孙权虽得了实利,却削弱了同盟的力量,增强了曹魏的力量
-
1.4.13.4四、孙权不善于临阵突敌,战功不著,这一点直接影响了孙权统一天下的进程
-
1.4.13.5五、曹魏重点防吴,孙权无隙可乘,不能建奇功
-
1.4.13.6六、孙权晚年昏聩
-
1.4.14孙吴扬州各郡太守考述
-
1.4.14.1一、丹杨郡[4](共十四任)
-
1.4.14.2二、会稽郡(共十四任)
-
1.4.14.3三、庐陵郡(共三任)
-
1.4.14.4四、豫章郡(共十六任)
-
1.4.14.5五、吴郡(共七任)
-
1.4.14.6六、庐江郡(共八任)
-
1.4.14.7七、东安郡(共一任)
-
1.4.14.8八、建安郡(共四任)
-
1.4.14.9九、九江郡(共四任)
-
1.4.14.10十、广陵郡(共两任)
-
1.4.14.11十一、临海郡(共三任)
-
1.4.14.12十二、临川郡[5](共两任)
-
1.4.14.13十三、新都郡(共三任)
-
1.4.14.14十四、鄱阳郡(共六任)
-
1.4.14.15十五、彭泽郡(共一任)
-
1.4.14.16十六、云阳郡(共一任)
-
1.4.14.17十七、蕲春郡(共一任)
-
1.4.14.18十八、吴兴郡(共一任)
-
1.4.15论曹操统治建立过程中的文化因素
-
1.4.15.1一、曹操对法儒等文化的利用奠定了霸权建立的思想基础
-
1.4.15.2二、道教、占星术、五行、谶纬等为曹操统治的建立起到了舆论先导作用
-
1.4.15.3三、兵家和刑名文化为曹操征战和施政提供了有益指导
-
1.4.16论汉晋南北朝统治者的道教政策选择
-
1.4.16.1一、东汉对黄老道、道教的政策变化
-
1.4.16.2二、三国统治者的道教政策选择
-
1.4.16.3三、两晋统治者的道教政策选择
-
1.4.16.4四、南北朝统治者的道教政策选择
-
1.4.16.5五、结语
-
1.4.17论汉末曹氏集团和刘备集团对道教的不同态度
-
1.4.17.1一、汉末两股道教势力的形成和发展
-
1.4.17.2二、曹氏家族的道教信仰及其与道教势力的连襟
-
1.4.17.3三、“汉历中衰”的宗教神话及其刘备集团对宗教势力的冷漠
-
1.4.17.4四、结语
-
1.4.18东吴孙权时期的奇术及其高度繁盛的原因浅析
-
1.4.19历代刘备崇祀与三国文化
-
1.4.19.1一、追往孝敬:发展初期
-
1.4.19.2二、确立正统:发展中期
-
1.4.19.3三、帝祀殊荣:发展后期
-
1.4.20论关羽辞曹归刘
-
1.4.20.1一、儒家忠义思想是关羽的行为准则
-
1.4.20.2二、刘备与曹操待人的不同使然
-
1.4.20.3三、关羽的性格所决定
-
1.4.20.4四、关羽辞曹归刘对后世的影响
-
1.4.21论关公信仰与中国古代英雄崇拜
-
1.4.21.1一、关公信仰的历史演变
-
1.4.21.2二、关公信仰与中国古代英雄崇拜
-
1.4.21.2.1(一)关公崇拜是中国古代英雄崇拜中最典型、最广泛的一个代表
-
1.4.21.2.2(二)关公信仰的核心精神可以概括为“忠义仁智勇信”六个字,而“忠义”是关公信仰最重要的内容
-
1.4.21.2.3(三)关公崇拜不仅是一个文化符号,更是一种宗教信仰
-
1.4.21.3三、关公信仰的时代意义
-
1.4.22概念史学视域下的关公与关公文化
-
1.4.22.1一、关公其人及其神性的塑成
-
1.4.22.1.1(一)作为现实生活的人
-
1.4.22.1.2(二)作为被纪念的英雄
-
1.4.22.1.3(三)作为被崇拜的神圣
-
1.4.22.2二、关公的意义及其文化意蕴
-
1.4.22.2.1(一)“关公”的本身意义
-
1.4.22.2.2(二)关公的文化意蕴
-
1.4.22.3三、关公的形象及其艺术重塑
-
1.4.22.3.1(一)《关羽传》中的关公形象
-
1.4.22.3.2(二)《三国演义》中的关羽形象重塑
-
1.4.22.3.3(三)京剧脸谱中关公的艺术重塑
-
1.4.22.4四、关公的崇拜及其信仰神格
-
1.4.22.4.1(一)关公:儒、释、道三教的神圣
-
1.4.22.4.2(二)灵验:民间关公信仰的多重神格
-
1.4.22.5五、关公的文化产业现状及其走向
-
1.4.22.5.1(一)关公文化品牌的开发及其应用
-
1.4.22.5.2(二)关公文化的旅游景点及其线路规划
-
1.4.22.5.3(三)关公文化的戏剧影视传播与研发
-
1.4.22.6六、结语
-
1.5诸葛亮研究
-
1.5.1魏晋南北朝档案文献中诸葛亮躬耕地的探究
-
1.5.1.1一、魏晋南北朝档案文献为记载诸葛亮躬耕地提供条件
-
1.5.1.1.1(一)管理朝政的需要,配置档案机构及管理人员
-
1.5.1.1.2(二)重视档案文献的编纂,以史为鉴成为统治工具
-
1.5.1.1.3(三)档案新载体材料的应用,促进档案文献编纂
-
1.5.1.1.4(四)档案副本流出朝廷,档案文献编纂之风兴起
-
1.5.1.2二、魏晋南北朝档案文献中诸葛亮躬耕地编纂考证
-
1.5.1.2.1(一)襄阳地方档案文献编纂的兴起
-
1.5.1.2.2(二)档案文献中记载诸葛亮的耕躬地沿革
-
1.5.1.2.3(三)档案文献出版物注释诸葛亮躬耕地在隆中
-
1.5.1.3三、魏晋南北朝档案文献中躬耕地的传承及重要意义
-
1.5.1.3.1(一)诸葛亮躬耕地在隆中的文化记忆与传承
-
1.5.1.3.2(二)现当代教科书对诸葛亮躬耕地注释举例
-
1.5.1.3.3(三)诸葛亮躬耕地的档案文献文化内质传播意义
-
1.5.2“攻琮取荆”之策置疑
-
1.5.3诸葛亮南征区域辩疑
-
1.5.3.1一
-
1.5.3.2二
-
1.5.3.3三
-
1.5.3.4四
-
1.5.3.5五
-
1.5.3.6六
-
1.5.4诸葛亮前后《出师表》真谛管窥
-
1.5.4.1一、关于两《表》之主旨
-
1.5.4.2二、也谈《后出师表》非伪作
-
1.5.4.3三、清以降《后表》频遭质疑之因
-
1.5.4.4四、两《表》的历史信息
-
1.5.4.4.1(一)首攻祁山之败,使诸葛亮欲以人谋制胜的观念受到冲击
-
1.5.4.4.2(二)首攻祁山之败,使蜀国失去伐魏的最好战机
-
1.5.5诸葛亮《远涉帖》本事新解
-
1.5.6诸葛亮与李严权争新论
-
1.5.6.1一、临危受命,反将副手作掣肘
-
1.5.6.2二、政见不一,深层矛盾难弥合
-
1.5.6.3三、相煎相助,勿忘同根并蒂生
-
1.5.7论诸葛亮木牛流马
-
1.5.7.1一、《作木牛流马法》蕴含的基本信息
-
1.5.7.2二、复原流马的依据和评判标准
-
1.5.7.2.1(一)构件尺寸是复原流马的根本依据
-
1.5.7.2.2(二)构件数量是复原流马的重要依据
-
1.5.7.2.3(三)载重量是复原流马的重要参数
-
1.5.7.3三、木牛的载重量和行进方式
-
1.5.7.3.1(一)重量
-
1.5.7.3.2(二)进方式
-
1.5.7.4四、流马及木牛的创新与缺陷
-
1.5.7.4.1(一)流马的创新之处与缺陷
-
1.5.7.4.2(二)木牛的创新之处与缺陷
-
1.5.7.5结语
-
1.5.8以一当十论损益连弩
-
1.5.8.1一、诸葛亮发明元戎的目的
-
1.5.8.2二、关于一弩十矢俱发的理解
-
1.5.8.3三、“元戎”史料文献解释
-
1.5.8.4四、元戎设计原理说明
-
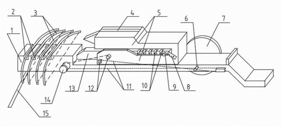
1.5.8.5五、元戎结构示意图
-
1.5.8.6六、元戎失传之谜
-
1.5.9诸葛亮以法治国方略概述
-
1.5.9.1一、猛以济宽,严刑峻法
-
1.5.9.2二、注重立法,教化为先
-
1.5.9.3三、秉公行法,赏罚分明
-
1.5.9.4四、率先垂范,以身作则
-
1.5.9.5五、督法检查,察纳雅言
-
1.5.10论诸葛亮勤政廉洁思想的内涵和对后世的影响
-
1.5.10.1一、诸葛亮是历史上勤政廉洁的典范
-
1.5.10.1.1(一)遗命薄葬
-
1.5.10.1.2(二)汉代的墓葬定制与奢华之风
-
1.5.10.1.3(三)诸葛亮遗命薄葬的廉政内涵
-
1.5.10.1.4(四)诸葛亮是中国历史上第一个自报家产、主动公开接受监督的官员
-
1.5.10.1.5(五)万民祭奠诸葛亮,后主敕建武侯祠
-
1.5.10.2二、诸葛亮勤政廉洁思想的文化内涵
-
1.5.10.2.1(一)忠诚的楷模
-
1.5.10.2.2(二)勤政的榜样
-
1.5.10.2.3(三)廉洁的典范
-
1.5.10.3三、诸葛亮勤政廉洁思想对后世的影响
-
1.5.10.3.1(一)录尚书事的费祎家无积财
-
1.5.10.3.2(二)尚书令刘巴躬履清俭,不治产业
-
1.5.10.3.3(三)大将军姜维资财无余,清素节约,为当朝表率
-
1.5.10.3.4(四)掌军中郎将董和躬率以俭,恶衣素食
-
1.5.10.3.5(五)大将军邓芝生活俭朴,家无私产
-
1.5.11浅议《隆中对》中的统战策略思想及实践
-
1.5.11.1一、诸葛亮《隆中对》统战策略思想的表现
-
1.5.11.1.1(一)广泛协调关系,维护内部稳定
-
1.5.11.1.2(二)巩固孙刘联盟,贯彻统一战线
-
1.5.11.1.3(三)坚持和抚政策,促进民族团结
-
1.5.11.2二、诸葛亮《隆中对》统战策略思想的影响
-
1.5.12游走在官民之间的诸葛亮形象
-
1.5.12.1一、“史志”记载的诸葛亮形象
-
1.5.12.1.1(一)《三国志》记载的诸葛亮形象
-
1.5.12.1.2(二)历代皇帝对诸葛亮的敕封
-
1.5.12.1.3(三)历代皇帝对诸葛亮的褒扬
-
1.5.12.2二、“演义”与“传说”中的诸葛亮形象
-
1.5.12.2.1(一)一代名相诸葛亮
-
1.5.12.2.2(二)民间“传说”中的诸葛亮形象
-
1.5.13试析诸葛亮文化现象的人生启示
-
1.5.13.1一、洞察形势的敏锐目光,作政治的清醒者
-
1.5.13.2二、把握好人生,不作非分之想
-
1.5.13.3三、发展生产,为民造福
-
1.5.13.4四、忠于职守,勤政务实,干好自己应干的事
-
1.5.13.5五、行事谨慎,毫不冒险侥幸行事
-
1.5.13.6六、善于学习,聪明睿智
-
1.5.13.7七、谦恭待人,不居功傲人、恃才傲物
-
1.5.13.8八、赏罚分明,处事公允
-
1.5.13.9九、严于律己,清廉直正
-
1.5.14诸葛亮归葬汉中的心态管窥
-
1.5.14.1一、汉中是忠魂守护蜀汉的战略重地
-
1.5.14.2二、失意英雄醉卧疆场的理想归宿
-
1.5.14.3三、汉中是权臣忧患意识的避风港湾
-
1.5.15大名有诸葛,祠庙沔阳开——勉县武侯祠的文学书写
-
1.5.15.1一、汉江盘护定军山,汉相英灵此借攒
-
1.5.15.2二、庙貌俄俄汉江浒,诸葛英名照千古
-
1.5.15.3三、出师二表忠堪颂,鼎作三分国可伤
-
1.6三国时期的作家与作品研究
-
1.6.1汉魏易代与祥瑞文学的肇兴
-
1.6.1.1一、贺瑞奏表:陈事议理,文质兼备
-
1.6.1.1.1(一)祥瑞陈情奏表:简约平实,精工雅正
-
1.6.1.1.2(二)祥瑞评议奏表:论证详洽,繁约允当
-
1.6.1.1.3(三)官方推崇:祥瑞祭告礼仪的肇始及程式化
-
1.6.1.2二、赋讴颂赞:专题赋讴,绚丽多彩
-
1.6.1.2.1(一)祥瑞赋文:华彩绚丽
-
1.6.1.2.2(二)祥瑞赞颂:清新灵动
-
1.6.1.2.3(三)祥瑞讴:通俗清唱
-
1.6.1.3三、祥瑞文学特征及文化意蕴
-
1.6.2建安文人与汉中
-
1.6.3惊鸿瞥过游龙去,虚恼陈王一事无——“感甄故事”与“感甄说”证伪
-
1.6.3.1一
-
1.6.3.2二
-
1.6.4刘桢诗赋艺术特征新探
-
1.6.4.1一、仗气爱奇
-
1.6.4.2二、情高会采
-
1.6.4.3三、悲壮之美
-
1.6.5诸葛亮散文文学地理解读
-
1.6.5.1一 异彩纷呈的散文
-
1.6.5.1.1(一)简约严明,语重心长
-
1.6.5.1.2(二)正气凛然,凝练深沉
-
1.6.5.1.3(三)结构严谨,质朴实用
-
1.6.5.1.4(四)文贵情真,志尽文畅
-
1.6.5.2二、独特的文化语境
-
1.7三国文化遗产的开发与利用
-
1.7.1三国历史地理信息系统及应用
-
1.7.1.1一、三国历史地理信息系统
-
1.7.1.2二、三国历史地理信息系统基本功能
-
1.7.1.3三、用户专题资料库
-
1.7.1.4四、用户专题资料库的建立
-
1.7.1.5五、根据用户专题资料库绘制专题历史地图
-
1.7.1.6六、自动绘制历史人物生平地图
-
1.7.1.7七、三国历史地理专题信息系统
-
1.7.1.7.1(一)生成各种历史地图
-
1.7.1.7.2(二)生成各种专题历史图表
-
1.7.1.7.3(三)生成各种统计图
-
1.7.1.7.4(四)建立资源库
-
1.7.1.8八、三国历史地理专题信息系统的开发
-
1.7.2秦巴山地三国文化资源的特点、价值与保护
-
1.7.2.1引言
-
1.7.2.2一、三国战争风云与秦巴地区
-
1.7.2.3二、秦巴山地三国历史文化资源的特点
-
1.7.2.3.1(一)秦巴山地三国历史文化原发性与奠基性
-
1.7.2.3.2(二)秦巴山地三国文化遗迹的高密度性
-
1.7.2.3.3(三)秦巴山地三国文化遗存的高级别性
-
1.7.2.3.4(四)秦巴山地三国文化的广泛民间影响性
-
1.7.2.4三、秦巴地区三国文化的现状与保护
-
1.7.3汉中三国历史文化遗产的保护与利用研究
-
1.7.4汉中三国遗存类别和文化类型概述
-
1.7.4.1一、遗存类别简述
-
1.7.4.1.1(一)墓葬
-
1.7.4.1.2(二)祠庙
-
1.7.4.1.3(三)城池
-
1.7.4.1.4(四)关隘
-
1.7.4.1.5(五)道路
-
1.7.4.1.6(六)纪念地
-
1.7.4.2二、文化类型叙谈
-
1.7.4.2.1(一)“五斗米教”与道教文化
-
1.7.4.2.2(二)曹魏文化值得珍视
-
1.7.4.2.3(三)刘蜀文化底蕴厚重
-
1.7.4.2.4(四)诸葛亮文化遗产辉煌灿烂
-
1.7.4.2.5(五)战场文化影响深远
-
1.7.5试论三国文化品牌形成对成都文化品牌建设的启示
-
1.7.5.1一、《三国演义》形成原因透视
-
1.7.5.2二、对成都市文化品牌建设的启示
-
1.7.6大力推动三国文化的保护和申报世界遗产的工作——以湖北省和豫西南的关公文化为例
-
1.7.6.1一、湖北和豫西南关公“双遗产”的现状
-
1.7.6.1.1(一)关公的历史文物和古迹
-
1.7.6.1.2(二)与关公传说有关的地名和风物
-
1.7.6.1.3(三)汉水沿岸的有关地名传说
-
1.7.6.1.4(四)关庙对联诗文、传说和民间艺术
-
1.7.6.2二、如何引起社会各界对关公“双遗产”的保护和申遗工作的重视
-
1.7.6.2.1(一)搞好关公“双遗产”的旅游开发工作
-
1.7.6.2.2(二)海内外有识之士抱团互助打响关公文化旅游品牌
-
1.7.6.3三、搞好关公“双遗产”的保护和申遗工作的必要举措
-
1.7.6.3.1(一)建立全国性的关公“双遗产”的保护和申遗工作的机构
-
1.7.6.3.2(二)大力推动各地成立关公文化研究会等相关组织
-
1.7.6.3.3(三)促进政府部门对关公文化申报“双遗产”的重视
-
1.7.6.3.4(四)争取三国文化遗存申报世界文化遗产
-
1.7.6.3.5(五)争取联合国教科文组织的支持
-
1.7.7三国文化和大学校园文化的培育
-
1.7.7.1一、三国文化是培育大学校园文化建设的重要依托
-
1.7.7.2二、三国文化是培育大学校园文化的重要载体
-
1.7.7.2.1(一)三国文化是对当代大学生进行理想信念教育重要的历史文化资源
-
1.7.7.2.2(二)三国文化是培养当代大学生潜心读书,刻苦学习学风的重要的历史文化资源
-
1.7.7.2.3(三)弘扬三国文化是提升高素质人才培养的有力支撑
-
1.7.7.2.4(四)弘扬三国文化是激发师生创新创造的重要途径
-
1.7.7.3三、用三国文化培育大学校园文化的主要举措
-
1.7.7.3.1(一)将三国时期形成的至理名言作为校训激励广大师生
-
1.7.7.3.2(二)诵读三国名家名著
-
1.7.7.3.3(三)开设三国文化讲堂,增设三国历史人物选修课程,将三国文化作为特色学科进行建设
-
1.7.7.3.4(四)将学校建筑、道路、广场和湖泊等以三国历史文化作为标注,烘托学校三国文化氛围
-
1.7.8舌尖上的三国
-
1.7.8.1食物与餐制
-
1.7.8.2英雄与美酒
-
1.7.8.3习俗与“三国宴”
-
1.8后 记
