1
电工基础
1.9.2.3 三、三相异步电动机的控制
三相异步电动机的控制

1.转差率

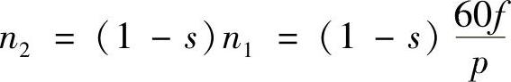
异步电动机的同步转速n1与转子转速n2之差,即n1-n2称为转速差。转速差(n1-n2)与同步转速n1之比,称为异步电动机的转差率,用s表示,即

978-7-111-49354-9-Chapter07-33.jpg

转差率是电动机的一个重要参数。转子转速n2越高,转差率s越小;转子转速n2越低,转差率s越大。一般电动机转速比同步转速低2%~6%。在电动机起动瞬间,旋转磁场已经产生,但转子还没有转动(n2=0),这时转差率s=1。当转子转速n2接近同步转速n1时,即n2n1s≈0,但是s不能等于零。可见,转差率s可以表明异步电动机的运行速度,其变化范围为0<s≤1。为了便于计算,可将式(7-6)改写成

n2=(1-sn1 (7-7)

2.调速

许多机械设备在工作时需要改变运动速度,像金属切削车床要根据切削刀具的性质和被加工材料的种类来调节转速,这就需要改变异步电动机的转速。在负载不变的情况下,改变异步电动机的转速n2称为调速。把式(7-5)代入到式(7-7)后可得

978-7-111-49354-9-Chapter07-34.jpg

显然,改变电源频率f、改变转差率s、改变磁极对数p是电动机调速的三种办法。

(1)变频调速 变频调速是一种通过改变笼型异步电动机定子绕组的供电频率来改变同步转速而实现调速的方法,其特点是调速范围大、稳定性好、运行效率高。目前已有多种系列的通用变频器问世,由于其使用方便,可靠性高且经济效益显著,得到了广泛的应用。

(2)变转差率调速 此种方法只适用于绕线型异步电动机,它通过改变接在转子电路中调速电阻的大小,就可平滑调速。而笼型异步电动机的转差率是不宜改变的。

(3)变极调速 在制造电动机时,设计了不同的磁极对数,可根据需要改变定子绕组的接线方式,从而改变磁极对数,使电动机获得不同的转速。

3.反转

由于异步电动机的旋转方向与磁场旋转方向是一致的,而磁场旋转方向取决于三相电源的相序。所以,要使电动机反转,只需要使旋转磁场反转。因此,只要将接在三相电源上的三根相线中的任意两根对调,即可实现电动机的反转。如图7-19所示为电动机正、反转控制的原理图。

4.制动

为克服惯性,保证电动机在断电时迅速停车,需要对电动机进行制动。制动方法有机械制动和电力制动两大类。常用的电力制动方法是反接制动和能耗制动。

(1)反接制动 在电动机停车时,将三根电线中的任意两根对调,产生反转矩,起到制动作用。当转速接近零时切断电源,否则电动机会反转。

(2)能耗制动 在断电的同时接通直流电源,如图7-20所示。直流电源产生的磁场是固定的,而转子由于惯性转动产生的感应电流与直流电磁场相互作用产生的转矩方向,恰好与电动机的转向相反,起到制动的作用。

978-7-111-49354-9-Chapter07-35.jpg

图7-19 电动机正、反转控制的原理图

978-7-111-49354-9-Chapter07-36.jpg

图7-20 电动机的能耗制动

【例7-4】三相异步电动机的磁极对数p=2,转差率s=5%,电源频率f=50Hz。试求电动机的转速。

解:由式(7-5)可得

978-7-111-49354-9-Chapter07-37.jpg

由转差率公式

n2=(1-sn1=(1-5%)×1500r/min=1425r/min

5.三相异步电动机的起动

电动机接通电源以后,转速由零增加到稳定转速的过程称为电动机的起动过程。根据加在定子绕组上起动电压的不同,电动机的起动过程可分为全压起动和降压起动。

(1)全压起动 如果加在电动机定子绕组上的起动电压是电动机的额定电压,这样的起动方式称为全压起动(也称为直接起动),如图7-21a所示。全压起动时的起动电流可高达电动机额定电流的4~7倍。起动电流过大,供电线路上的电压降也随之增大,使电动机两端的电压减小,这样不仅使电动机本身的起动转矩减小,还可能影响同一供电线路上其他用电设备的正常工作。起动电流过大,还会影响电动机本身的使用寿命。但全压起动的优点是起动设备简单、可靠,所以当电动机的容量小于10kW或其容量不超过电源变压器容量的15%~20%时,起动电流不会影响同一供电线路上其他用电设备的正常工作,可允许全压起动。

978-7-111-49354-9-Chapter07-38.jpg

图7-21 三相异步电动机的起动电路

a)全压起动 b)自耦变压器降压起动 c)星形-三角形换接起动

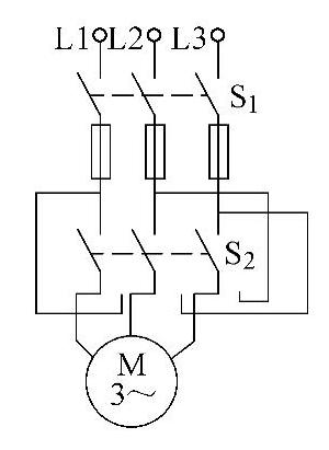
(2)降压起动 大、中型电动机不允许全压起动,应采用降压起动。起动时用降低加在定子绕组上电压的方法来减小起动电流,当起动过程结束后,再使电压恢复到额定值运行,这种起动方法称为降压起动。降压起动的常用方法有自耦变压器降压起动和星形-三角形换接降压起动两种。

1)自耦变压器降压起动。利用三相自耦变压器降低加在电动机定子绕组上的起动电压,从而完成起动过程,如图7-21b所示。

起动时,先将开关S1闭合,然后再将开关S2置于“起动”位置上,线电压经自耦变压器降压后加到电动机的定子绕组上,起到降压作用。当电动机转速上升到一定程度时,再将转换开关S2的手柄从“起动”位置迅速投向“运行”位置,使自耦变压器脱离电源和电动机,电动机在电源电压(额定电压)下正常运行。

2)星形-三角形换接降压起动。起动时先将开关S1闭合,然后将开关S2的操作手柄投向“起动”位置,使定子绕组连接成星形,这样加在每相绕组上的电压为额定电压的1/3,实现了降压起动。起动过程结束后,迅速将开关S2的操作手柄投向“运行”位置,使定子绕组连接成三角形,每相绕组上的电压为电动机正常工作时的额定电压,电动机正常运行,如图7-20c所示。但本方法只适合电动机额定运行状态是三角形联结的情况。

星形-三角形换接降压起动的起动转矩较小,适用于空载或轻载起动。