1
电工基础
1.6.6.1 一、产生感应电动势的一般条件
产生感应电动势的一般条件

产生感应电流的原因是直导体做切割磁感线运动或线圈中磁通发生了变化。那么,切割磁感线的直导体或被变化磁场所穿越的线圈就相当于一个电源,是内电路部分,存在着感应电动势。如果电路是断开的,电路中就没有感应电流,但感应电动势依然存在。因此,不管电路是否闭合,只要导体做切割磁感线运动,只要线圈中的磁通量是变化的,导体或线圈中就会产生感应电动势,这就是感应电动势产生的一般条件。

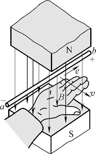
感应电动势方向的判定仍然可以应用右手定则和楞次定律,如图4-53和图4-54所示。

图4-53中的直导体ab就相当于电源,a端电位比b端电位低,则电动势的方向是从a端指向b端。如果外电路是闭合的,感应电流将沿直导体aba端流向b端。同理,图4-54中的线圈A也相当于一个电源,其感应电动势方向是由线圈A的下端指向上端。如果此时外电路闭合,则感应电流将从线圈A的下端流向上端。

978-7-111-49354-9-Chapter04-68.jpg

图4-53 右手定则