1
机械制图与计算机绘图
1.7.2.4 四、组合体的正等测画法
四、组合体的正等测画法

画组合体的正等测时,仍应用形体分析法。对于切割型组合体用切割法,对于叠加型组合体用叠加法,有时也可两种方法并用。

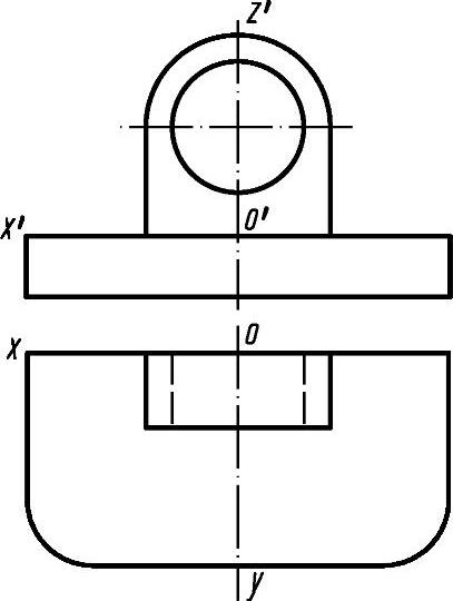
【例4-8】 根据图4-12所示支架的两视图,画出其正等测。

分析

支架由底板和支承板叠加而成。底板为长方体,有两个圆角;支承板的上半部为半圆柱面,下半部为长方体,中间有一通孔。支架左右对称,两部分的后表面共面,两部分均以底板上面为结合面。故坐标原点选在底板对称面与后端面交线的中点处,如图4-12所示。

作图步骤

①画正等测时,按叠加法进行。首先画出轴测轴,再画出底板的正等测,如图4-13a所示。

②在底板的上方画出立板的正等测,如图4-13b所示。

③用六点共圆法,画出立板上半部分的圆柱面,如图4-13c所示。

978-7-111-38957-6-Chapter05-12.jpg

图4-12 支架及轴测轴的确定

④采用六点共圆法,画出立板上方的圆孔,如图4-13e所示。

提示:若圆孔(椭圆)的短轴尺寸大于立板的厚度时,立板后面的圆应透出一些。

⑤采用简化画法,画出底板上圆角的正等测,如图4-13d所示。

⑥擦去作图线并描深,完成支架的正等测,如图4-13f所示。

978-7-111-38957-6-Chapter05-13.jpg

图4-13 支架的正等测画法