1
建筑施工技术
1.12.2.3.1 一、吊顶工程
一、吊顶工程

(一)吊筋

吊筋主要承受吊顶棚的重力,并将这一重力直接传递给结构层,同时,还能用来调节吊顶的空间高度。

现浇钢筋混凝土楼板吊筋做法如图9.5所示。在预制板缝中设吊筋的做法如图9.6所示。

图9.5 吊筋固定方法

1—射钉;2—焊板;3—φ10钢筋吊环;4—预埋钢板;5—φ6钢筋;6—角钢;7—金属膨胀螺丝;8—铝合金丝(8号、12号、14号);9—8号镀锌铁丝

图9.6 在预制板上设吊筋的方法

(二)龙骨安装

吊顶龙骨有木质龙骨、轻钢龙骨和铝合金龙骨。

强制性条文:“重型灯具、电扇及其他重型设备严禁安装在吊顶工程的龙骨上。”

1.木龙骨

木龙骨多用于板条抹灰和钢板网抹灰吊顶顶棚。主龙骨中距为1 200~1 500mm,矩形断面为50mm×(60~80)mm;次龙骨中距为400~600mm,断面为40mm×40mm或50mm×50mm。主次龙骨间用30mm×30mm木方、铁钉连接。

主龙骨沿房间短向布置,用事先预埋的钢筋圆钩穿上8号镀锌铁丝将龙骨拧紧,或用M6或M8螺栓与预埋钢筋焊牢,穿透主龙骨,上紧螺母。

次龙骨安装时,按照墙上弹出的水平线,先钉四周小龙骨,然后按设计要求分档画线钉次龙骨,最后钉横撑龙骨,如图9.7所示。

图9.7 木质龙骨吊顶

1—大龙骨;2—小龙骨;3—横撑龙骨;4—吊筋;5—罩面板;6—木砖;7—砖墙;8—吊木

2.轻钢龙骨和铝合金龙骨

其断面形状有U形、T形等,每根龙骨长2~3m,在现场拼装。

U45型系列吊顶轻钢龙骨的主件及配件见表9.6。U形龙骨吊顶安装示意图如图9.8所示。T形铝合金龙骨安装如图9.9所示。

表9.6 U45型系列(不上人)

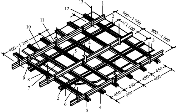
图9.8 U形龙骨吊顶示意图

1—BD大龙骨;2—UZ横撑龙骨;3—吊顶板;4—UZ龙骨;5—UX龙骨;6—UZ3支托连接;7—UZ2连接件;8—UX2连接件;9—BD2连接件;10—UZ1吊挂;11—UX1吊挂;12—BD1吊件;13—吊杆φ8~φ10

图9.9 T形铝合金吊顶

1—大龙骨;2—大T;3—小T;4—角条;5—大吊挂件

3.施工程序

吊顶有暗龙骨吊顶和明龙骨吊顶之分。

龙骨的安装顺序是:弹线定位→固定吊杆→安装主龙骨→安装次龙骨→固定横撑龙骨。

(1)弹线定位:根据楼层标高水平线,用尺竖向量至顶棚设计标高,沿墙四周弹出顶棚标高水平线,并沿顶棚标高水平线在墙上画好龙骨分档位置线。

(2)固定吊杆:按照墙上弹出的标高线和龙骨位置线,找出吊点中心,将吊杆焊接在预埋件上。

(3)安装主龙骨:吊杆安装在主龙骨上,根据龙骨的安装程序,因主龙骨在上,故吊件同主龙骨相连,再将次龙骨用连接件与主龙骨固定。在主、次龙骨安装程序上,可先将主龙骨与吊杆安装完毕后,再安次龙骨;也可主、次龙骨一起安装,然后调平主龙骨,拧动吊杆螺栓,升降调平。

(4)固定次龙骨:次龙骨垂直于主龙骨布置,在交叉点处,用次龙骨吊挂件将其固定在主龙骨上。

(5)固定横撑龙骨:横撑龙骨应用次龙骨截取。安装时,将截取的次龙骨的端头插入支托,扣在次龙骨上,并用钳子将挂搭弯入次龙骨内。组装好后的次龙骨和横撑龙骨底面要求平齐。

(三)饰面板安装

吊顶的饰面板材包括:纸面石膏装饰吸声板、石膏装饰吸声板、矿棉装饰吸声板、珍珠岩装饰吸声板、聚氯乙烯塑料天花板、聚苯乙烯泡沫塑料装饰吸声板、钙塑泡沫装饰吸声板、金属微穿孔吸声板、穿孔吸声石棉水泥板、轻质硅酸钙吊顶板、硬质纤维装饰吸声板、玻璃棉装饰吸声板等。选材时要考虑材料的密度、保温、隔热、防火、吸音、施工装卸等性能,同时应考虑饰面的装饰效果。

1.饰面板与龙骨的连接

(1)黏结法:用各种胶黏剂将板材粘贴于龙骨上或其他基板上。

(2)钉接法:用铁钉或螺钉将饰面板固定于龙骨。

(3)挂牢法:利用金属挂钩将板材挂于龙骨下的方法。

(4)搁置法:指将饰面板直接搁于龙骨翼缘上的做法。

(5)卡牢法:利用龙骨本身或另用卡具将饰面板卡在龙骨上的做法,常用于以轻钢、型钢龙骨配金属板材的做法。

2.板面的接缝处理

(1)密缝法:指板与板在龙骨处对接,也叫对缝法。

(2)离缝法

凹缝:两板接缝处根据板面的形状和长短做出凹缝,有V形缝和矩形缝两种,缝的宽度不小于10mm。

盖缝:板缝不直接暴露在外,而用次龙骨或压条盖住,这样可避免缝隙宽窄不均,使饰面的线型更为强烈。

饰面板的边角处理,根据龙骨的具体形状和安装方法有直角、斜角、企口角等多种形式。

图9.10 隔墙的接槎