建筑施工技术
-
1.1本书编委会
-
1.2前 言
-
1.3目录
-
1.4项目一 土方工程
-
1.4.1任务1 土方量计算
-
1.4.1.1任务描述
-
1.4.1.2知识准备
-
1.4.1.2.1一、土的分类与鉴别
-
1.4.1.2.2二、土的工程性质
-
1.4.1.2.3三、基坑与基槽土方量计算
-
1.4.1.2.4四、场地平整土方量计算
-
1.4.1.3任务实施
-
1.4.1.4任务评价
-
1.4.1.5思考与练习
-
1.4.2任务2 土方机械化施工
-
1.4.2.1任务描述
-
1.4.2.2知识准备
-
1.4.2.2.1一、施工准备
-
1.4.2.2.2二、土方边坡与土壁支撑
-
1.4.2.2.3三、常用土方施工机械
-
1.4.2.3任务实施
-
1.4.2.3.1一、土方机械的选择
-
1.4.2.3.2二、基槽(坑)施工
-
1.4.2.4三、填土与压实
-
1.4.2.5任务评价
-
1.4.2.5.1一、软松土坑(填土、墓穴、淤泥)的处理
-
1.4.2.5.2二、砖井、枯井、土井的处理方法
-
1.4.2.5.3三、局部范围内(硬物)的处理
-
1.4.2.5.4四、橡皮土的处理
-
1.4.2.5.5五、质量标准及安全技术
-
1.4.2.6思考与练习
-
1.5项目二 基础工程
-
1.5.1任务1 基础垫层施工
-
1.5.1.1任务描述
-
1.5.1.2知识准备
-
1.5.1.2.1一、基础的类型和特点
-
1.5.1.2.2二、基础埋置深度的确定
-
1.5.1.3任务实施
-
1.5.1.3.1一、灰土垫层施工
-
1.5.1.3.2二、砂和砂石垫层施工
-
1.5.1.3.3三、粉煤灰垫层施工
-
1.5.1.4任务评价
-
1.5.1.5思考与练习
-
1.5.2任务2 桩基础工程施工
-
1.5.2.1任务描述
-
1.5.2.2知识准备
-
1.5.2.3任务实施
-
1.5.2.3.1一、钢筋混凝土预制桩施工
-
1.5.2.3.2二、混凝土灌注桩施工
-
1.5.2.4任务评价
-
1.5.2.5思考与练习
-
1.5.2.6拓展训练
-
1.6项目三 砌筑工程
-
1.6.1任务1 砖砌体施工
-
1.6.1.1任务描述
-
1.6.1.2知识准备
-
1.6.1.2.1一、砌筑材料
-
1.6.1.2.2二、脚手架
-
1.6.1.2.3三、垂直运输设施
-
1.6.1.3任务实施
-
1.6.1.3.1一、材料要求
-
1.6.1.3.2二、施工准备
-
1.6.1.3.3三、施工工艺
-
1.6.1.4任务评价
-
1.6.1.4.1一、砌砖的技术要求
-
1.6.1.4.2二、应注意的质量问题
-
1.6.1.4.3三、质量记录
-
1.6.1.4.4四、安全标准
-
1.6.1.4.5五、环保措施
-
1.6.1.5思考与练习
-
1.6.1.6拓展训练
-
1.6.2任务2 石砌体施工
-
1.6.2.1任务描述
-
1.6.2.2知识准备
-
1.6.2.3任务实施
-
1.6.2.3.1一、毛石基础砌体施工
-
1.6.2.3.2二、料石基础砌体施工
-
1.6.2.4任务评价
-
1.6.2.4.1一、毛石砌体
-
1.6.2.4.2二、料石砌体
-
1.6.2.5思考与练习
-
1.6.2.6拓展训练
-
1.6.2.6.1一、实训目的
-
1.6.2.6.2二、实训任务
-
1.6.2.6.3三、实训地点与基本要求
-
1.6.2.6.4四、组织管理
-
1.6.2.6.5五、训练内容
-
1.6.2.6.6六、材料与工具(图3.28)
-
1.6.2.6.7七、时间安排(表3.17)
-
1.6.2.6.8八、成绩考核
-
1.7项目四 钢筋混凝土工程
-
1.7.1任务1 模板工程施工
-
1.7.1.1任务描述
-
1.7.1.2知识准备
-
1.7.1.3任务实施
-
1.7.1.3.1一、木模板
-
1.7.1.3.2二、定型组合钢模板
-
1.7.1.3.3三、模板的拆除
-
1.7.1.4任务评价
-
1.7.1.5思考与练习
-
1.7.2任务2 钢筋工程施工
-
1.7.2.1任务描述
-
1.7.2.2知识准备
-
1.7.2.2.1一、钢筋的验收、贮存与配料
-
1.7.2.2.2二、钢筋加工
-
1.7.2.3任务实施
-
1.7.2.3.1一、钢筋冷拉
-
1.7.2.3.2二、钢筋冷拔
-
1.7.2.3.3三、钢筋的机械连接
-
1.7.2.3.4四、钢筋的绑扎与安装
-
1.7.2.4任务评价
-
1.7.2.4.1一、质量要求
-
1.7.2.4.2二、质量管理与安全文明施工措施
-
1.7.2.5思考与练习
-
1.7.2.6拓展训练
-
1.7.2.6.1一、实训目的
-
1.7.2.6.2二、实训任务
-
1.7.2.6.3三、实训地点与基本要求
-
1.7.2.6.4四、组织管理
-
1.7.2.6.5五、训练内容
-
1.7.2.6.6六、材料与设备
-
1.7.2.6.7七、时间安排(表4.12)
-
1.7.2.6.8八、成绩考核
-
1.7.3任务3 混凝土工程施工
-
1.7.3.1任务描述
-
1.7.3.2知识准备
-
1.7.3.2.1一、混凝土的制备
-
1.7.3.2.2二、混凝土的运输
-
1.7.3.3任务实施
-
1.7.3.3.1一、混凝土的浇筑
-
1.7.3.3.2二、混凝土的养护
-
1.7.3.4任务评价
-
1.7.3.4.1一、强度评定要求
-
1.7.3.4.2二、钢筋混凝土现浇结构外观质量缺陷的产生原因与防治措施
-
1.7.3.5思考与练习
-
1.7.3.6拓展训练
-
1.8项目五 预应力混凝土工程
-
1.8.1任务1 先张法施工
-
1.8.1.1任务描述
-
1.8.1.2知识准备
-
1.8.1.3任务实施
-
1.8.1.3.1一、施工准备
-
1.8.1.3.2二、先张法施工工艺
-
1.8.1.4任务评价
-
1.8.1.4.1一、质量标准
-
1.8.1.4.2二、职业健康安全与环境管理
-
1.8.1.5思考与练习
-
1.8.2任务2 后张法施工
-
1.8.2.1任务描述
-
1.8.2.2知识准备
-
1.8.2.3任务实施
-
1.8.2.3.1一、施工准备
-
1.8.2.3.2二、施工工艺
-
1.8.2.4任务评价
-
1.8.2.4.1一、施工校核
-
1.8.2.4.2二、质量标准
-
1.8.2.4.3三、成品保护
-
1.8.2.5思考与练习
-
1.9项目六 钢结构工程
-
1.9.1任务1 钢结构安装、涂装施工
-
1.9.1.1任务描述
-
1.9.1.2知识准备
-
1.9.1.2.1一、钢结构施工阶段设计
-
1.9.1.2.2二、钢结构工程材料
-
1.9.1.2.3三、零件及部件加工
-
1.9.1.2.4四、构件组装及加工
-
1.9.1.3任务实施
-
1.9.1.3.1一、焊接施工
-
1.9.1.3.2二、高强度螺栓连接
-
1.9.1.3.3三、施工准备
-
1.9.1.3.4四、基础、支承面和预埋件
-
1.9.1.3.5五、构件安装
-
1.9.1.3.6六、单层钢结构安装
-
1.9.1.3.7七、多层钢结构安装
-
1.9.1.3.8八、钢结构涂装施工
-
1.9.1.4任务评价
-
1.9.1.5思考与练习
-
1.10项目七 结构安装工程
-
1.10.1任务1 单层工业厂房的结构安装施工
-
1.10.1.1任务实施
-
1.10.1.1.1一、准备工作
-
1.10.1.1.2二、构件的吊装
-
1.10.1.1.3三、结构安装方案
-
1.10.1.2任务评价
-
1.10.1.3思考与练习
-
1.10.2任务2 多层装配式框架结构安装施工
-
1.10.2.1任务描述
-
1.10.2.2知识准备
-
1.10.2.3任务实施
-
1.10.2.3.1一、起重机械的选择
-
1.10.2.3.2二、起重机的平面布置及构件吊装方法
-
1.10.2.3.3二、构件吊装工艺
-
1.10.2.4任务评价
-
1.10.2.4.1一、结构安装工程的质量要求
-
1.10.2.4.2二、结构安装工程的安全措施
-
1.10.2.5思考与练习
-
1.11项目八 屋面工程与地下防水工程
-
1.11.1任务1 屋面防水工程施工
-
1.11.1.1任务描述
-
1.11.1.2知识准备
-
1.11.1.3任务实施
-
1.11.1.3.1一、卷材防水屋面
-
1.11.1.3.2二、刚性防水屋面
-
1.11.1.3.3三、涂膜防水屋面
-
1.11.1.4任务评价
-
1.11.1.5思考与练习
-
1.11.2任务2 地下防水工程施工
-
1.11.2.1任务描述
-
1.11.2.2知识准备
-
1.11.2.3任务实施
-
1.11.2.3.1一、地下工程刚性防水
-
1.11.2.3.2二、地下工程柔性防水
-
1.11.2.4任务评价
-
1.11.2.5思考与练习
-
1.11.2.6拓展训练
-
1.12项目九 装饰工程
-
1.12.1任务1 门窗工程施工
-
1.12.1.1任务描述
-
1.12.1.2知识准备
-
1.12.1.3任务实施
-
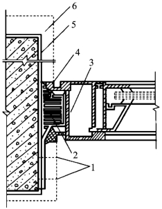
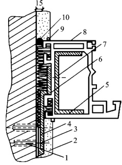
1.12.1.3.1一、木门窗
-
1.12.1.3.2二、钢门窗
-
1.12.1.3.3三、铝合金门窗
-
1.12.1.3.4四、塑料门窗
-
1.12.1.4任务评价
-
1.12.1.5思考与练习
-
1.12.2任务2 吊顶、隔墙工程施工
-
1.12.2.1任务描述
-
1.12.2.2知识准备
-
1.12.2.3任务实施
-
1.12.2.3.1一、吊顶工程
-
1.12.2.3.2二、隔墙工程
-
1.12.2.4任务评价
-
1.12.2.5思考与练习
-
1.12.3任务3 抹灰工程施工
-
1.12.3.1任务描述
-
1.12.3.2知识准备
-
1.12.3.3任务实施
-
1.12.3.3.1一、一般抹灰施工
-
1.12.3.3.2二、装饰抹灰施工
-
1.12.3.4任务评价
-
1.12.3.5思考与练习
-
1.12.3.6拓展训练
-
1.12.3.6.1一、实训目的
-
1.12.3.6.2二、实训任务
-
1.12.3.6.3三、实训地点与基本要求
-
1.12.3.6.4四、组织管理与训练内容
-
1.12.3.6.5五、材料与设备
-
1.12.3.6.6六、时间安排
-
1.12.3.6.7七、成绩考核
-
1.12.4任务4 饰面板(砖)工程施工
-
1.12.4.1任务描述
-
1.12.4.2知识准备
-
1.12.4.3任务实施
-
1.12.4.3.1一、大理石、花岗石、水磨石饰面板的安装
-
1.12.4.3.2二、金属饰面板的安装
-
1.12.4.3.3三、木质饰面板的施工
-
1.12.4.3.4四、釉面砖、陶瓷锦砖、玻璃马赛克镶贴施工
-
1.12.4.4任务评价
-
1.12.4.5思考与练习
-
1.12.5任务5 楼地面工程施工
-
1.12.5.1任务描述
-
1.12.5.2知识准备
-
1.12.5.3任务实施
-
1.12.5.3.1一、基层施工
-
1.12.5.3.2二、垫层施工
-
1.12.5.3.3三、面层施工
-
1.12.5.4任务评价
-
1.12.5.5思考与练习
-
1.12.6任务6 涂料、刷浆、裱糊工程施工
-
1.12.6.1任务描述
-
1.12.6.2知识准备
-
1.12.6.3任务实施
-
1.12.6.3.1一、涂料工程
-
1.12.6.3.2二、刷浆工程
-
1.12.6.3.3三、裱糊工程
-
1.12.6.4任务评价
-
1.12.6.5思考与练习
-
1.13项目十 冬期与雨期施工
-
1.13.1任务1 混凝土结构工程的冬期施工
-
1.13.1.1任务描述
-
1.13.1.2知识准备
-
1.13.1.3任务实施
-
1.13.1.3.1一、混凝土冬期施工的一般原理
-
1.13.1.3.2二、混凝土冬期施工方法
-
1.13.1.3.3三、冬期施工工艺及技术要求
-
1.13.1.4任务评价
-
1.13.1.5思考与练习
-
1.13.2任务2 土方工程的冬期施工
-
1.13.2.1任务描述
-
1.13.2.2知识准备
-
1.13.2.3任务实施
-
1.13.2.3.1一、冻土的概念、分类和特性
-
1.13.2.3.2二、土方的防冻
-
1.13.2.3.3三、冻土的开挖
-
1.13.2.3.4四、土方的回填
-
1.13.2.4任务评价
-
1.13.2.5思考与练习
-
1.13.3任务3 砌体工程的冬期施工
-
1.13.3.1任务描述
-
1.13.3.2知识准备
-
1.13.3.3任务实施
-
1.13.3.3.1一、外加剂法
-
1.13.3.3.2二、冻结法
-
1.13.3.3.3三、暖棚法
-
1.13.3.4任务评价
-
1.13.3.5思考与练习
-
1.13.4任务4 雨期施工
-
1.13.4.1任务描述
-
1.13.4.2知识准备
-
1.13.4.3任务实施
-
1.13.4.3.1一、施工现场要求
-
1.13.4.3.2二、土方工程
-
1.13.4.3.3三、钢筋混凝土工程
-
1.13.4.3.4四、砌筑工程
-
1.13.4.4任务评价
-
1.13.4.5思考与练习
-
1.14附录:建筑地基基础工程施工质量验收规范(GB 50202—2002)
-
1.14.1附录A 地基与基础施工勘察要点(附录一的子附录)
-
1.14.2附录B 塑料排水带的性能(附录一的子附录)
-
1.15参考文献




