1
建筑施工技术
1.12.1.3.2 二、钢门窗
二、钢门窗

钢门窗安装工序:弹控制线→立钢门窗→校正→门窗框固定→安装五金零件→安装纱门窗。

(一)弹控制线

门窗安装前应弹出离楼地面500mm高的水平控制线,按门窗安装标高、尺寸和开启方向,在墙体预留洞口四周弹出门窗就位线。

(二)立钢门窗、校正

钢门窗采用后塞框法施工,安装时先用木楔块临时固定,木楔块应塞在四角和中梃处;然后用水平尺、对角线尺、线锤校正其垂直度与水平度。框扇配合间隙在合页面应紧密,安装后要检查开关是否灵活、是否有阻滞和回弹现象。

(三)门窗框固定

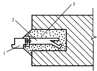
门窗位置确定后,将铁脚与预埋件焊接或埋入预留墙洞内,用1∶2水泥砂浆或细石混凝土将洞口缝隙填实,养护3d后取出木楔;门窗框与墙之间的缝隙应填嵌饱满,并采用密封胶密封。钢窗铁脚的形状如图9.1所示,每隔500~700mm设置一个,且每边不少于2个。

钢窗组合应按向左或向右的顺序逐框进行,用螺栓紧密拼合,拼合处应嵌满油灰。两个组合构件的交接处必须用电焊焊牢。

图9.1 钢窗预埋铁脚

1—窗框;2—铁脚;3—留洞60mm×60mm×100mm

(四)安装五金零件

1.安装零附件宜在内外墙装饰结束后进行。

2.安装零附件前,应检查门窗在洞口内是否牢固,开启应灵活,关闭要严密。

3.五金零件应按生产厂家提供的装配图试装合格后,方可进行全面安装。

4.密封条应在钢门窗涂料干燥后按型号安装压实。

5.各类五金零件的转动和滑动配合处应灵活,无卡阻现象。

6.装配螺钉拧紧后不得松动,埋头螺钉不得高于零件表面。

7.钢门窗上的渣土应及时清除干净。

(五)安装纱门窗

高度或宽度大于1 400mm的纱窗,装纱前应在纱扇中部用木条临时支撑。检查压纱条和扇配套后,将纱裁成比实际尺寸宽50mm的纱布,绷纱时先用螺丝拧入上下压纱条,再装两侧压纱条,切除多余纱头。金属纱装完后集中刷油漆,交工前再将门窗扇安在钢门窗框上。

钢门窗安装的留缝限值、允许偏差和检查方法见表9.3。

表9.3 钢门窗安装的留缝限值、允许偏差和检查方法