二、地下工程柔性防水
(一)柔性防水材料
1.防水卷材
防水卷材是一种可卷曲的片状防水材料。根据其主要防水组成材料可分为沥青防水卷材、高聚物改性防水卷材和合成高分子防水卷材三大类。
(1)沥青防水卷材
沥青防水卷材是在基胎(如原纸、纤维织物)上浸涂沥青后,再在表面撒布粉状或片状的隔离材料而制成的可卷曲片状防水材料。可分为:石油沥青纸胎油毡(现已禁止生产使用)、石油沥青玻璃布油毡、石油沥青玻璃纤维胎油毡、铝箔面油毡等。
(2)高聚物改性防水卷材
改性沥青与传统的氧化沥青相比,其使用温度区间大为扩展,制成的卷材光洁柔软,可制成4~5mm厚度,可以单层使用,具有15~20年可靠的防水效果。可分为:弹性体改性沥青防水卷材(SBS卷材)、塑性体改性沥青防水卷材(APP卷材)等。SBS防水卷材的特点是低温柔性好、弹性和延伸率大、纵横向强度均匀性好,不仅可以在低寒、高温气候条件下使用,并在一定程度上可以避免结构层由于伸缩开裂对防水层构成威胁。APP防水卷材的特点是耐热度高、热熔性好,适合热熔法施工,因而更适合高温气候或有强烈太阳辐射地区的建筑屋面防水。
(3)合成高分子防水卷材
合成高分子防水卷材指的是以合成橡胶、合成树脂或两者共混体为基料,加入适量化学助剂和填充料,经一定工序加工而成的可卷曲片状防水卷材。这种卷材具有拉伸强度高、抗撕裂强度高、断裂伸长率大、耐热性好、低温柔性好、耐腐蚀、耐老化及可冷施工等优越的性能。可分为:橡胶系防水卷材、塑料系防水卷材、橡胶塑料共混系防水卷材等。
2.防水涂料
它是一种建筑防水材料。将涂料单独或与胎体增强材料复合,分层涂刷或喷涂在需要进行防水处理的基层表面,即可在常温条件下形成一个连续无缝整体且具有一定厚度的涂膜防水层,从而能满足工业与民用建筑的屋面、地下室、卫生间和外墙等部位的防水抗渗要求。防水涂料一般是以沥青、合成高分子聚合物、合成高分子聚合物与沥青、合成高分子与水泥或无机复合材料等为主要成膜物质,掺入适量的颜料、助剂、溶剂等加工制成溶剂型、水乳型或反应型,在常温下无固定形状的黏稠状液态或可液化的固体粉末状态的含高分子合成材料的复合材料。
防水涂料按其成膜物可分为沥青类、高聚物改性沥青(亦称橡胶沥青类)、合成高分子类(又可再分为合成树脂类、合成橡胶类)、无机类、聚合物水泥类等五大类。按其状态与形式,大致可分为溶剂型、反应型、乳液型三大类。
(1)溶剂型防水涂料
溶剂型防水涂料其作为主要成膜物质的高分子材料是以溶解于(以分子状态存在于)有机溶剂中所形成的溶液为基料,加入颜填料、助剂制备而成的。它是依靠溶剂的挥发或涂料组分间化学反应成膜的,因此施工基本上不受气温影响,可在较低温度下施工。涂膜结构紧密、强度高、弹性好;防水性能优于水乳型防水涂料。但在施工和使用中,有大量的易燃、易爆、有毒的有机溶剂逸出,对人体和环境有较大的危害,因此近年来应用逐步受到限制。溶剂型防水涂料的主要品种有溶剂型氯丁橡胶沥青防水涂料、溶剂型氯丁橡胶防水涂料、溶剂型氯磺化聚乙烯防水涂料等。
(2)反应型防水涂料
反应型防水涂料其作为主要成膜物质的高分子材料是以预聚物液态形式存在的。反应型防水涂料是通过液态的高分子预聚物与相应的物质发生化学反应成膜的一类涂料。反应型防水涂料通常也属于溶剂型防水涂料范畴,但由于成膜过程具有特殊性,因此单独列为一类。反应型防水涂料通常为双组分包装,其中一个组分为主要成膜物质,另一组分一般为胶黏剂。施工时将两种组分混合后即可涂刷。在成膜过程中,成膜物质与固化剂发生反应而胶黏成膜。反应型防水涂料几乎不含溶剂,其涂膜的耐水性、弹性和耐老化性通常都较好,防水性能也是目前所有防水涂料中最好的。反应型防水涂料的主要品种有聚氨酯防水涂料与环氧树脂防水涂料两大类。其中环氧树脂防水涂料的防水性能良好,但涂膜较脆,用羧基丁腈橡胶改性后韧性增加,但价格较贵且耐老化性能不如聚氨酯防水涂料。反应型聚氨酯防水涂料的综合性能良好,是目前我国防水涂料中最佳的品种之一。
(3)乳液型防水涂料
乳液型防水涂料为单组分水乳型防水涂料。涂料涂刷在建筑物上以后,随着水分的挥发而成膜。乳液型防水涂料其主要成膜物质高分子材料是以极微小的颗粒稳定悬浮在水中而成为乳液状涂料的。该类涂料施工工艺简单方便,成膜过程靠水分挥发和乳液颗粒融合完成,无有机溶剂逸出,不污染环境,不燃烧,施工安全,其价格也较便宜,防水性能基本上能满足建筑工程的需要,是防水涂料发展的方向。乳液型防水涂料的品种繁多,主要有:水乳型阳离子氯丁橡胶沥青防水涂料、水乳型再生橡胶沥青防水涂料、聚丙烯酸酯乳液防水涂料、EVA(乙烯-醋酸乙烯酯共聚物)乳液防水涂料、水乳型聚氨酯防水涂料、有机硅改性聚丙烯酯乳液防水涂料等。
根据防水涂料的组分不同,一般可分为单组分防水涂料和双组分防水涂料两类。单组分防水涂料按液态不同,一般有溶剂型、水乳型两种。双组分防水涂料则以反应型为主。
建筑防水涂料按其在建筑物上的使用部位不同,可分为屋面防水涂料、立面防水涂料、地下工程防水涂料等几类。
3.接缝密封材料
接缝密封材料是与防水层配套使用的一类防水材料,主要用于防水工程嵌填各种变形缝、分格缝、墙板板缝、密封细部构造及卷材搭接缝等部位。接缝密封的材料有改性沥青接缝材料和合成高分子接缝密封材料两种。
改性沥青接缝材料是以石油沥青为基料,掺加废橡胶、废塑料做改性材料及填料等制成。因其综合性能较差,已逐渐被合成高分子类接缝密封材料所替代。
合成高分子接缝密封材料在我国最早研制的产品称塑料油膏,它是以聚氯乙烯树脂为基料,加入适量煤焦油做改性材料及添加剂配制而成的。其半成品为聚氯乙烯胶泥,成品即塑料油膏。
在当前开发的产品中,品质较高的建筑密封材料有硅酮密封膏、聚硫密封膏、聚氨酯密封膏和丙烯酸酯密封膏。其中,聚氨酯密封膏是建筑防水接缝与密封材料的主要品种之一。
(二)卷材防水施工
将卷材防水层粘贴在地下工程结构的迎水面通常称外防水,贴于背水面称内防水。卷材外防水可以保护地下工程主体结构免受地下水有害作用的影响;防水层可以借助土压力压紧,并可和承重结构一起抵抗有压地下水的渗透。而内防水做法不能保护主体结构,且必须另设一套内衬结构压紧防水层,以抵抗有压地下水的渗透,有时甚至需设置锚栓将防水层及支承结构连成整体。因此,一般掘开施工的地下工程都不采用内防水做法,只有暗挖施工的地下工程必须采用卷材防水而又无法采用外防水做法时,才采用内防水做法。
铺贴卷材的基层必须牢固、无松动现象;基层表面应平整干净;阴阳角处均应做成圆弧形或钝角。铺贴卷材前,应在基面上涂刷基层处理剂。当基层较潮湿时,应涂刷湿固化型胶黏剂或潮湿界面隔离剂。基层处理剂应与卷材和胶黏剂的材性相容,基层处理剂可采用喷涂法或涂刷法施工。喷涂应均匀一致,不露底,待表面干燥后,再铺贴卷材。铺贴卷材时,每层的沥青胶要求涂布均匀,厚度一般为1.5~2.5mm。外贴法铺贴卷材应先铺平面,后铺立面,平、立面交接处应交叉搭接;内贴法宜先铺垂直面,后铺水平面。铺贴垂直面时应先铺转角,后铺大面。墙面铺贴时应待冷底子油干燥后再自下而上进行。
卷材接槎的搭接长度:高聚物改性沥青卷材为150mm,合成高分子卷材为100mm。当使用两层卷材时,上下两层和相邻两幅卷材的接缝应错开1/3~1/2幅宽,并不得互相垂直铺贴。在立面与平面的转角处,卷材的接缝应留在平面距立面不小于600mm处。
在所有转角处均应铺贴附加层并仔细粘贴紧密。粘贴卷材时应展平压实。卷材与基层和各层卷材间必须粘贴紧密,搭接缝必须用沥青胶仔细封严。最后一层卷材贴好后,应在其表面均匀涂刷一层1~1.5mm的热沥青胶以保护防水层。铺贴高聚物改性沥青卷材时应采用热熔法施工,在幅宽内卷材底表面均匀加热,不可过分加热或烧穿卷材。卷材的黏结面材料加热呈熔融状态后,立即与基层或已经粘贴好的卷材粘贴牢固,但对厚度小于3mm的高聚物改性沥青防水卷材不能采用热熔法施工。铺贴合成高分子卷材要采用冷粘法施工,所使用的胶黏剂必须与卷材材性相容。
1.外防外贴法
外防外贴法是待结构边墙(钢筋混凝土结构外墙)施工完成后,直接把卷材防水层贴在边墙上(即地下结构墙迎水面),最后做卷材防水层的保护层。地下室卷材防水层一般采用外防外贴法。外防外贴法的施工与操作程序如下。
(1)施工操作程序
施工准备→砌筑永久性和临时性保护墙→抹找平层→铺贴TS防水卷材→浇筑平面和立面保护层→施工底板和墙体结构→抹外墙墙体找平层→整理接茬接头卷材→贴外墙面防水卷材→外墙面保护层施工→回填土。
(2)施工准备
①地下工程防水施工前的人员、器具、材料准备以及施工条件和操作注意事项与屋面卷材施工相同。
②地下工程防水施工期间,当地下水位较高时,应做好排水工作,使地下水位降低至卷材防水层底部最低标高以下不小于500mm,以利于基层干燥和黏结剂的凝固。
③验收水泥砂浆找平层,清理找平层。
(a)底板垫层部位及结构墙体采用1∶3水泥砂浆找平层,20mm,水泥强度等级不小于32.5级,表面应平整、清洁,不得有空鼓、松动、起砂和脱皮现象。
(b)结构竖墙表面在做找平层之前先涂刷一道界面处理剂,防止找平层空鼓、开裂。
(c)永久性保护墙(砌筑在结构外墙的设计外侧底板垫层上,用水泥砂浆砌筑,墙体应比结构底板高100mm左右)表面用1∶3水泥砂浆做找平层。临时性保护墙(用石灰砂浆砌筑,墙体高度300mm左右)内表面用石灰砂浆做找平层,并刷石灰浆(便于拆除)。
(3)外防外贴法的施工
①先浇筑混凝土垫层。
②在混凝土垫层上,结构墙外侧砌一定高度的永久性保护墙,墙高为底板混凝土厚度加200~500mm。墙下干铺一层油毡隔离层。
③永久保护墙上接砌临时保护墙,墙高为150mm。
④在混凝土垫层上和永久保护墙部位抹1∶3水泥砂浆找平层,在临时性保护墙上抹1∶3白灰砂浆找平层,转角部位抹成圆角。
⑤找平层干燥后,涂刷基层处理剂(或称冷底子油)。在正式铺贴卷材之前,先在立墙与平面交接处做附加层处理。附加层宽度一般为300~500mm。
⑥铺贴平面和立面卷材防水层,外防外贴法施工,在平面与立面相连的卷材,应先铺贴平面,然后由下向上铺贴,并使卷材紧贴阴角,不应空鼓。在永久性保护墙上满粘卷材,粘贴要牢固。在临时保护墙上可虚铺卷材并将卷材固定在临时保护墙上端,抹低标号砂浆保护层,以保护接头不被损坏和沾污。平面铺贴卷材可以满粘卷材,也可以用条粘法黏结卷材,黏结面积每幅卷材不少于两条,每条宽度不小于150mm。当使用两层卷材时,卷材应错槎接缝,上层卷材应盖过下层卷材。卷材的甩槎、接槎做法如图8.26和图8.27所示。

图8.26 卷材防水层甩槎做法
1—临时保护墙;2—永久保护墙;3—细石混凝土保护层;4—卷材防水层;5—水泥砂浆找平层;6—混凝土垫层;7—卷材加强层

图8.27 卷材防水层接槎做法
1—结构墙体;2—卷材防水层;3—卷材保护层;4—卷材加强层;5—结构底板
⑦浇筑底板和墙体钢筋混凝土。
⑧待底板钢筋混凝土结构及立墙结构施工完毕,拆除临时保护墙,在墙体结构上抹1∶3水泥砂浆找平层。

图8.28 外防内贴法示意图
1—混凝土垫层;2—干铺油毡;3—永久性保护墙;4—找平层;5—保护层;6—卷材防水层;7—需防水的结构
⑨将卷材接头剥出,清除卷材表面浮灰及污物,注意切勿将卷材损坏,并在墙体找平层上满涂底子油后,将卷材牢固地满粘在墙体上。
⑩卷材防水层施工完毕,经过验收合格,及时用5mm厚聚乙烯泡沫塑料片材粘贴在防水层上保护。最后进行基坑回填土的工作。
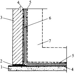
2.外防内贴法
外防内贴法是结构边墙(钢筋混凝土结构外墙)施工前先砌保护墙,然后将卷材防水层贴在保护墙上(见图8.28),最后浇筑边墙混凝土的方法。在施工条件受到限制、外防外贴法施工难以实施时,不得不采用外防内贴防水施工法。施工顺序如下:
(1)在已浇筑的混凝土垫层和砌筑的永久性保护墙上,以1∶3的水泥砂浆抹找平层,要求抹平压光,无空鼓和起砂、掉灰现象。
(2)找平层干燥后,即可涂刷基层处理剂并铺贴卷材防水层,施工时应先铺贴立面后铺贴平面,其具体铺贴方法与外防外贴法基本相同。
(3)卷材防水层铺贴完毕,经检查验收合格后,对墙体防水层的内侧可按外贴法所述粘贴5~6mm厚聚乙烯泡沫塑料片材做保护层,平面可在虚铺油毡保护隔离层后,浇筑40~50mm厚的细石混凝土保护层。
(4)按照施工及验收规范或设计要求,绑扎钢筋和浇筑需要防水的混凝土主体结构。对基坑应及时回填二八灰土,分步压实。
3.提高卷材防水层质量的技术措施
(1)卷材的点粘、条粘
卷材防水层黏附在具有足够刚度的结构层或结构层上的找平层上面,当结构层因种种原因产生变形裂缝时,要求卷材有一定的延伸率来适应这种变形,采用点粘、条粘的措施可以充分发挥卷材的延伸性能,有效地减少卷材被拉裂的可能性。具体做法:采用点粘时,每平方米卷材下粘五点(100mm×100mm),粘贴面积不大于总面积的6%;采用条粘时,每幅卷材两边各与基层粘贴150mm宽。
(2)增铺卷材附加层
对变形较大,易遭破坏或易老化部位,如变形缝、转角、三面角以及穿墙管道周围、地下出入口通道等处,均应铺设卷材附加层。
(3)做密封处理
为使卷材防水层增强适应变形能力,提高防水层整体质量,在穿墙管道周围、卷材搭接接缝,以及收头部位应做密封处理。
(三)涂膜防水施工
涂膜防水就是在需防水结构的基层上涂一定厚度的合成树脂、合成橡胶液体,经常温胶黏固化形成弹性的、具有防水作用的结膜。其最大优点在于适用性强,在任意曲面和形态复杂的面上都能施工。另外,涂膜防水还具有重量轻,耐候、耐水、耐蚀性优良,施工操作简便、易于维修的特点。
涂膜施工的顺序:基层处理→涂刷底层卷材(即聚氨酯底胶、增强涂布或增补涂布)→涂布第一道涂膜防水层(聚氨酯涂膜防水材料、增强涂布或增补涂布)→涂布第二道(或面层)涂膜防水层(聚氨酯涂膜防水材料)→稀撒石渣→铺抹水泥砂浆→粘贴保护层。涂布顺序为先垂直面、后水平面;先阴阳角及细部、后大面。每层涂抹方向应互相垂直。
1.基层要求及处理
混凝土或砂浆基层表面凸起处需用砂轮磨平,不许有凹凸不平及起砂现象。对空鼓等缺陷应予凿除。凿除后用掺有合成橡胶乳剂的水泥砂浆修补。对于混凝土施工缝、基层表面裂缝、不同基层的衔接部位等易产生裂缝的部位须嵌补缝隙,并用纤维性增强材料补强。基层应测定含水率,可用高频水分测定计,基层含水率应小于涂膜材料对温度的要求。
2.涂刷底层涂料
底层涂料一般采用与防水层同类的材料,用稀释剂稀释,搅拌均匀后使用。涂刷底层涂料的目的是隔绝基层潮气,提高涂膜同基层的黏结力。
小面积施工可用油漆刷进行,大面积涂刷先用油漆刷刷阴阳角、雨水口、排水口等部位,再用长把滚刷大面积涂刷。涂刷要按所定的量涂刷均匀,厚薄一致,底层涂料用量一般为0.1~0.3kg/m2。
3.涂膜防水材料调配与搅拌
涂膜防水材料调配与搅拌的温度、稠度、均匀等因素直接影响着施工后防水材料的挥发或硬化反应。因此对涂膜防水材料调配和搅拌须有严格要求。
4.材料的调配
在材料调配时必须考虑气温的限制,不同的涂膜防水材料对气温的要求是不同的。材料调配时的气温必须高于涂膜防水材料的最低限定温度。如果出现稠度过大、不易施工的情况时,可加入适量稀释剂调配。稀释剂必须合乎要求,不得任意选用。例如聚氨酯类涂膜防水材料的稀释应使用甲苯或二甲苯,而禁止使用酮类稀释剂和其他常用有机稀释剂。在使用反应型涂膜的场合,还需加入固化剂。
需要注意的是,固化剂的用量并不与硬化速度成正比,固化剂用量过大,将导致涂膜硬度、耐热强度等性能降低。因此不能随便增加固化剂的用量。
5.材料的搅拌
材料搅拌的均匀度影响着防水层的质量和寿命。使用搅拌不均匀的涂膜防水材料,可能会出现局部流淌而局部硬度很高的涂膜。对反应型涂膜防水材料宜使用电动搅拌器,采用适合的搅拌速度。
6.材料的适用时间
反应型涂膜材料必须在搅拌后一定时间内使用,特别在气温较高情况下,涂膜会很快硬化。所以一次的搅拌量应根据施工部位的大小和操作人员的劳动效率确定,同时考虑施工现场温度的影响。
7.涂膜施工
底层涂料干燥后,即可进行涂膜防水层的施工。涂膜施工一般分层进行。在倾斜和垂直的面上,必须分层进行。施工顺序应先垂直面后水平面;先阴阳角及细部,后大面。为保证涂层均匀,应反复地变化涂刷方向。对溶剂型防水材料,厚涂比较困难,手涂一次可涂0.2~0.3mm,可用网状布叠层,重复4~5次,做成1.2mm以上的厚度。对乳剂型防水材料,手涂一次可涂0.4~0.5mm,手涂3遍可做成1.2mm的厚度。如用水泥砂浆做保护层时,可在涂最后一次时,加入适量水泥,制成胶浆,提高黏结性。对反应型防水材料可以厚涂。一般手涂一次可涂0.7~1.0mm,2~3遍即可做成2mm的厚度。涂膜的厚度直接关系着涂膜的防水性能,应根据设防要求,结合施工条件及材料性能等多种因素加以确定。
8.特殊部位的处理
(1)管道根部做法
聚乙烯塑料管黏结性差,可先用砂纸把管子光面打毛,并涂刷正确的底层涂料。底层涂料应向厂家咨询。金属管必须去油、除锈。同时也应涂刷正确的底层涂料。底层涂料固化后,涂一道增强层固化后,再做玻璃纤维布增强涂抹。然后再按涂膜防水层做法涂布。见图8.29。

图8.29 管道根部的做法
(2)垂直面转角处的施工及补强
转角处均应使用玻璃纤维布补强。阳角由于厚涂困难,一定要做成半径大于10mm的圆角;阴角应做成50mm左右的圆角,见图8.30。

图8.30 垂直面转角处的处理
(3)施工缝、裂缝、接缝的施工及补强
在缝隙部位应预先填充密封材料,如硫化橡胶条等,并用玻璃纤维布做增强涂膜。操作中必须认真仔细,不能有气泡,鼓泡,折皱,玻纤布不得露出面层表面。
(四)结构细部构造防水施工
1.施工缝
施工缝是防水薄弱部位之一,应不留或少留。底板的混凝土应连续浇筑。墙体上不得留垂直的施工缝,且垂直的施工缝应与变形缝统一考虑。最低水平施工缝距底板面应不小于300mm,并避免设在墙板承受弯矩或剪力最大的部位。施工缝的接缝断面可做成不同的形状,见图8.31。

图8.31 施工缝接缝形式
无论采用哪种形式的施工缝,为了使接缝严密,混凝土浇筑前均应对缝表面进行凿毛处理,清除浮粒,并用水冲洗干净,保持湿润,再铺上一层20~25mm厚的水泥砂浆,其材料和灰砂比应与混凝土相同。捣压密实后再继续浇筑混凝土。
为有效解决墙体施工缝的渗漏水问题,目前常用SPJ型遇水膨胀橡胶或BW型遇水膨胀橡胶止水条对施工缝进行处理。
BW型遇水膨胀橡胶止水条的施工方法是撕掉表面的隔离纸,将其直接粘贴在平整、干净的施工缝处,压紧粘牢,且每隔1m左右钉一个水泥钢钉,固定后即可进行下一步防水混凝土的浇筑,如图8.32所示。

图8.32 BW型遇水膨胀橡胶止水条的施工
2.变形缝
地下结构物的变形缝是防水工程的薄弱环节,防水处理比较复杂。在选用材料、做法及结构形式上,应考虑变形缝处的沉降、伸缩的可变性,还应保证不产生渗漏水现象。
常见的变形缝止水带材料有橡胶止水带、塑料止水带、氯丁橡胶止水带和金属止水带(如镀锌钢板等)。其中,橡胶止水带与塑料止水带的柔性、适应变形能力与防水性能都比较好,是目前变形缝常用的止水材料;氯丁橡胶止水带是一种新型止水材料,具有施工简便、防水效果好、造价低且易修补的特点;金属止水带适应变形的能力差、制作困难,仅用于高温环境条件且无法采用橡胶止水带或塑料止水带的场合。
环境温度高于50℃处的变形缝,可采用2mm厚的紫铜片或3mm厚不锈钢金属止水带。在不受水压的地下室防水工程中,结构变形缝可采用加防腐掺和料的沥青浸过的松散纤维材料、软质板材等,并用封缝材料严密封缝。墙变形缝的填嵌应按施工进度逐段进行,每300~500mm高填缝一次,缝宽不小于30mm。不受水压的卷材防水层,在变形缝处应加铺两层抗拉强度高的卷材;在受水压的地下防水工程中,温度经常小于50℃,不受强氧化作用时,变形缝应采用橡胶止水带或塑料止水带。当有油类侵蚀时,应选用相应的耐油橡胶或塑料止水带。
止水带应整条,若必须接长,应采用焊接或胶粘;接缝应为一处,宜设在边墙较高位置上,不得设在结构转角处;止水带埋设位置应准确,其中间空心圆环与变形缝的中心线应重合;止水带应妥善固定,顶、底板内止水带应呈盆状设置,且采用专用钢筋套或扁钢固定,不得穿孔或用铁钉固定,损坏处应修补。
变形缝接触处两侧应平整、清洁、无渗水,并涂刷与嵌缝材料相容的基层处理剂。嵌缝应先设置与嵌缝材料隔离的背衬材料,并嵌填密实,与两侧黏结牢固。在缝上粘贴卷材或涂刷涂料前,应在缝上设置隔离层后才能进行施工。
止水带的构造形式通常有埋入式、可卸式、粘贴式等,目前采用较多的是埋入式。