1
建筑施工技术
1.8.2.3.1 一、施工准备
一、施工准备

(一)预应力筋、锚具和张拉机具

在后张法中,锚具是建立预应力值和保证结构安全的关键,是预应力构件的一个组成部分。要求锚具的尺寸形状准确,有足够的强度和刚度,受力后变形小,锚固可靠,不会产生预应力筋的滑移和断裂现象。预应力筋所用锚具、夹具和连接器应按设计要求采用,其性能应符合现行国家标准的规定。使用前应进行外观检查,其表面应无污物、锈蚀、机械损伤和裂纹。

1.单根粗钢筋

(1)锚具

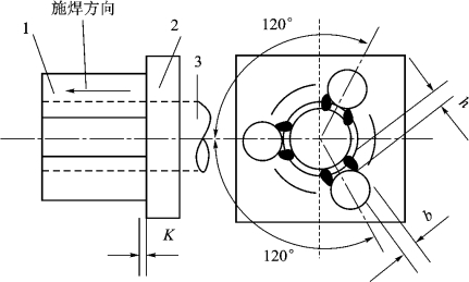
①螺丝端杆锚具如图5.15所示。

图5.15 螺丝端杆锚具

1—螺丝端杆;2—螺母;3—垫板;4—焊接接头;5—钢筋

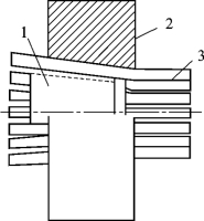
②帮条锚具如图5.16所示。

螺丝端杆锚具、帮条锚具与预应力筋连接宜采用闪光对焊焊接,应在预应力筋冷拉前进行。预应力筋冷拉时,螺母应在端杆的端部,使拉力由螺母传至端杆和预应力筋,冷拉后的螺丝端杆不得发生塑性变形。

③镦头锚具由镦头和垫板组成。当预应力筋直径在22mm以内时,采用对焊机热镦成型;当预应力筋直径在22mm以上时,可采用加热锻打成型。

图5.16 帮条锚具

1—帮条;2—衬板;3—主筋

(2)张拉设备

与螺丝端杆锚具配套的张拉设备为拉杆式千斤顶。常用的有YL20型、YL60型液压千斤顶。

YL60型千斤顶是一种通用型的拉杆式液压千斤顶(图5.17)。

YL60型千斤顶的最大张拉力为600 kN,张拉行程为150 mm,活塞面积为16 200mm2,最大工作油压为40N/mm2,其配套油泵为ZB4/500型。适用于张拉采用螺丝端杆锚具的粗钢筋、锥形螺杆锚具的钢丝束及镦头锚具的钢筋束。

图5.17 拉杆式千斤顶张拉单根粗钢筋工作原理图

1—主缸;2—主缸活塞;3—主缸进油孔;4—副缸;5—副缸活塞;6—副缸进油孔;7—连接器;8—传力架;9—拉杆;10—螺母;11—预应力筋;12—混凝土构件;13—预埋铁板;14—螺丝端杆

(3)单根粗钢筋预应力筋的制作

单根粗钢筋预应力筋的制作,包括配料、对焊、冷拉等工序。预应力筋的下料长度应根据计算确定,计算时要考虑结构构件的孔道长度、锚具厚度、千斤顶长度、焊接接头或镦头的预留量、冷拉伸长值、弹性回缩值等。现以两端用螺丝端杆锚具锚固的预应力筋为例(图5.18)来说明其下料长度计算方法。

图5.18 粗钢筋下料长度计算示意

1—螺丝端杆;2—预应力钢筋;3—对焊接头;4—垫板;5—螺母

预应力筋的成品长度(即预应力筋和螺丝端杆对焊并经冷拉后的全长)L1

预应力筋(不包括螺丝端杆)冷拉后需达到的长度L0

预应力筋(不包括螺丝端杆)冷拉前的下料长度L:

式中:l——构件的孔道长度;

l2——螺丝端杆伸出构件外的长度:

张拉端:l2=2 H+h+5mm;

锚固端:l2=H+h+10mm;

l1——螺丝端杆长度,一般为320mm;

γ——预应力筋的冷拉率;

σ——预应力筋的冷拉弹性回缩率,一般为0.4%~0.6%;

n——对焊接头数量;

Δ——每个对焊接头的压缩量,一般为20~30mm;

H——螺母高度(mm);

h——垫板厚度(mm)。

单根粗钢筋常用的锚具为螺丝端杆和帮条锚具,张拉设备常用YL-60型拉杆式千斤顶,或YC-60型、YC-2。

2.钢筋束和钢绞线束

如用JM-12型锚具,则宜用YC-60型双作用千斤顶张拉。如用KT-Z型锚具,对螺纹钢筋束用锥锚式双作用千斤顶张拉;对钢绞线束则宜用YC-60型双作用千斤顶。

下料长度要根据所用的锚具和千斤顶计算确定。

钢筋束、钢绞线采用的锚具有JM型、XM型、QM型和镦头锚具。

①JM型锚具

JM型锚具由锚环与夹片组成(图5.19),锚环分甲型和乙型两种。甲型锚环是具有锥形内孔的圆锥体,外形比较简单,使用时直接放置在构件端部的垫板上即可;乙型锚环是在圆柱体外部增加正方形肋板,使用时锚环直接预埋在构件的端部,不另设置垫板。

图5.19 JM12型锚具

1—锚环;2—夹片;3—圆锚环;4—方锚环;5—预应力钢丝束

JM12型锚具性能好,利用活动楔块原理,多根预应力钢筋或钢绞线束被单根夹紧,不受直径误差的影响,且预应力筋是在直线状态下被张拉和锚固的,受力性能好。

JM型锚具与YL60型千斤顶配套使用,适用于锚固3~6根直径为12mm的光面或螺纹钢筋束,也可用于锚固5~6根直径为12mm或15mm的钢绞线束。

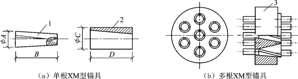
②XM型和QM型锚具

XM型和QM型锚具是一种新型锚具,利用楔形夹片将每根钢绞线独立地锚固在带有锥形的锚环上,形成一个独立的锚固单元。其特点是每根钢绞线都是分开锚固的,任何一根钢绞线的锚固失效(如钢绞线拉断、夹片碎裂)都不会引起整束钢绞线锚固失效。

XM型锚具由锚环和三块夹片组成,如图5.20所示,适用于锚固1~12根直径15mm的钢绞线,也可用于锚固钢丝束;QM型锚具适用于锚固4~31根直径12mm或3~19根直径15mm的钢绞线。

图5.20 XM型锚具

1—夹片;2—锚环;3—锚板

③钢筋束、钢绞线的制作

钢筋束所用钢筋是成圆盘供应的,不需对焊连接。钢筋束或钢绞线束预应力筋的制作包括开盘冷拉、下料、编束等工序。预应力钢筋束下料应在冷拉后进行。当采用镦头锚具时,则应增加镦头工序。

当采用JM型或XM型锚具,用穿心式千斤顶张拉时,钢筋束和钢丝束的下料长度L应等于构件孔道长度加上两端为张拉、锚固所需的外露长度,如图5.21所示。

图5.21 钢筋束、钢绞线束下料长度计算简图

1—混凝土构件;2—孔道;3—钢绞线;4—夹片式工作锚;5—穿心式千斤顶;6—夹片式工具锚

式中l——构件的孔道长度,mm;

l1——工作锚厚度,mm;

l2——穿心式千斤顶长度,mm;

l3——夹片式工具锚厚度,mm。

3.钢丝束

常用的锚具有螺丝端杆锚具、帮条锚具、锥形螺杆锚具(图5.22)和钢质锥形锚具(图5.23)及镦头锚具(图5.24)。

图5.22 锥形螺杆锚具

1—锥形螺杆;2—套筒;3—螺帽;4—预应力钢丝束

图5.23 钢质锥形锚具

1—锚塞;2—锚环;3—钢丝束

图5.24 钢丝束镦头锚具

1—A型锚杯;2—螺母;3—钢丝束;4—B型锚板

镦头锚具要求钢丝束下料长度精确,相对误差控制在L/5 000以内,并不大于5mm,为此要求钢丝束在应力状态下切断下料,下料的控制应力为300N/mm2

镦头锚具用YC-60千斤顶(图5.25)张拉或拉杆式千斤顶张拉;锥形螺杆锚具用拉杆式千斤顶或穿心式千斤顶张拉;钢质锥形锚具用锥锚式双作用千斤顶张拉。

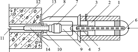
图5.25 YC-60型(穿心式)千斤顶

1—张拉油缸;2—顶压油缸(即张拉活塞);3—顶压活塞;4—弹簧;5—预应力筋;6—工具锚;7—螺帽;8—锚环;9—构件;10—撑脚;11—张拉杆;12—连接器;13—张拉工作油室;14—顶压工作油室;15—张拉回程油室;16—张拉缸油嘴;17—顶压缸油嘴;18—油孔