1
建筑施工技术
1.8.1.3.1 一、施工准备
一、施工准备

(一)台座

台座由台面、横梁和承力结构等组成,是先张法生产的主要设备。预应力筋张拉、锚固,混凝土浇筑、振捣和养护及预应力筋放张等全部施工过程都在台座上完成。

台座按构造形式分为墩式台座和槽式台座,选用时应根据生产构件的类型、形式、张拉力的大小和施工条件而决定。

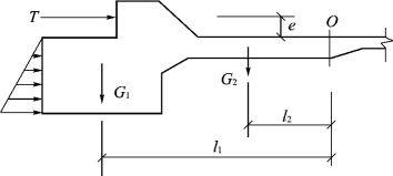
1.墩式台座

墩式台座由台墩、台面与横梁等组成。台墩和台面共同承受拉力。台座一般长100m,宽2m。在台座的两端应留出张拉、锚固预应力筋的操作场地和通道,两侧要有构件运输和堆放的场地。墩式台座用以生产各种形式的中小型构件。

(1)台墩

台墩是承力结构,由钢筋混凝土浇筑而成。台座依靠其自重和土压力来平衡张拉力所产生的倾覆力矩,依靠土的反力和摩阻力来平衡张拉所产生的水平位移。承力台墩设计时,应进行稳定性和强度验算。稳定性验算一般包括抗倾覆验算与抗滑移验算。

抗倾覆安全系数不得小于1.5,抗滑移安全系数不得小于1.3。抗倾覆验算的计算简图如图5.2所示。

图5.2 墩式台座抗倾覆验算简图

按下式计算:

式中,K0——台座的抗倾覆安全系数;

M——由张拉力产生的倾覆力矩,kN·m;M=T·e

T——张拉力合力,kN;

e——张拉力合力T的作用点到倾覆转动点O的力臂,m;

M′——抗倾覆力矩,kN·m。

式中Ke——抗滑移安全系数。

T——张拉力合力,kN。

T1——抗滑移的力,kN;对于独立的台墩,由侧壁上压力和底部摩阻力等产生;对与台面共同工作的台墩,其水平推力几乎全部传给台面,不存在滑移问题,可不做抗滑移计算,此时应验算台面的强度。

(2)台面

台面是预应力构件成型的胎模,它是在150mm厚夯实碎石垫层上浇筑60~80mm厚C20混凝土面层,原浆压实抹光而成,制作时要求地基坚实平整。台面要求坚硬、平整、光滑,沿其纵向有3%的排水坡度。

(3)横梁

横梁以墩座牛腿为支承点安装其上,是锚固夹具临时固定预应力筋的支承点,也是张拉机械张拉预应力筋的支座。横梁常采用型钢或钢筋混凝土制作。

2.槽式台座

槽式台座由端柱、传力柱、横梁和台面组成。台面长度要便于生产多种构件,一般长45m或76m;宽度由构件外形和制作方式而定,一般不小于1m。

槽式台座构造如图5.3所示。

图5.3 槽式台座

1—钢筋混凝土端柱;2—砖墙;3—下横梁;4—上横梁;5—传力柱;6—柱垫

槽式台座需进行强度和稳定性计算。端柱和传力柱的强度按钢筋混凝土偏心受压构件计算。槽式台座端柱抗倾覆力矩由端柱、横梁自重力矩及部分张拉力矩组成。

(二)夹具

夹具是先张法构件施工时保持预应力筋拉力,并将其固定在张拉台座(或设备)上的临时性锚固装置。按其工作用途不同分为锚固夹具和张拉夹具。对夹具的要求是具有可靠的锚固能力,要求不低于预应力筋抗拉强度的90%;使用中不发生变形或滑移,且预应力损失较小;夹具应耐久,锚固与拆卸方便,能重复使用,且适应性好;构造简单,加工方便,成本低。

1.钢丝锚固夹具

(1)锥销夹具

锥销夹具可分为圆锥齿板式夹具和圆锥槽式夹具,由钢质圆柱形套筒和带有细齿(或凹槽)的锥销组成,如图5.4所示。锥销夹具既可用于固定端,也可用于张拉端,具有自锁和自锚能力。

图5.4 钢质锥形夹具

1—套筒;2—齿板;3—钢丝;4—锥塞

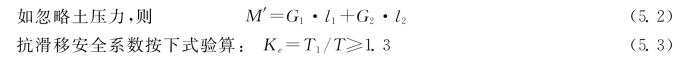
(2)镦头夹具

如图5.5所示,采用镦头夹具时,将预应力筋端部热镦或冷镦,通过承力分孔板锚固。它用于预应力钢丝固定端的锚固。

图5.5 固定端镦头夹具

1—垫片;2—镦头钢丝;3—承力板

2.钢筋锚固夹具

钢筋锚固常用圆套筒三片式夹具,由套筒和夹片组成(图5.6)。

图5.6 圆套筒三片式夹具

1—套筒;2—夹片;3—预应力钢筋

套筒的内孔呈圆锥形,三个夹片互成120°,钢筋夹持在三个夹片中心,夹片内槽有齿痕,以保证钢筋的锚固。其型号有YJ12、YJ14,适用于先张法;用YC-18型千斤顶张拉时,适用于锚固直径为12mm、14mm的单根冷拉HRB335、HRB400、RRB400钢筋。

3.张拉夹具

张拉夹具是夹持住预应力筋后,与张拉机械连接起来进行预应力筋张拉的机具。常用的张拉夹具有月牙形夹具、偏心式夹具、楔形夹具等,如图5.7所示,适用于张拉钢丝和直径16mm以下的钢筋。

图5.7 张拉夹具

单根钢筋之间的连接或粗钢筋与螺丝杆的连接,可采用钢筋连接器,如图5.8所示。

图5.8 套筒双拼式连接器

1—半圆套筒;2—连接器;3—钢筋镦头;4—工具式螺丝杆;5—钢圈

(三)张拉设备

张拉设备要求工作可靠,控制应力准确,能以稳定的速率增大拉力。

1.钢丝张拉设备

钢丝张拉分单根张拉和成组张拉。用钢模以机组流水法或传送带法生产构件时,常采用成组钢丝张拉。

在台座上生产构件时,一般采用单根钢丝张拉,可采用电动卷扬机、电动螺杆张拉机进行张拉。

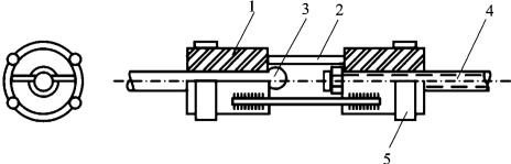
(1)电动卷扬机

如图5.9所示,这套装置由电动卷扬机、杠杆测力装置及张拉夹具组成,安装在窄轨小车底座上。通过钢丝绳将卷扬机、张拉夹具和杠杆测力装置联系起来共同工作,同时完成张拉、张拉力控制施工过程。

用杠杆测力器控制张拉力误差小、操作简便,常用于冷拔低碳钢丝的张拉与测力。

图5.9 卷扬机张拉、杠杆测力装置示意图

1—钳式张拉夹具;2—钢丝绳;3、4—杠杆;5—断电器;6—砝码;7—夹轨器;8—导向轮;9—卷扬机;10—钢丝

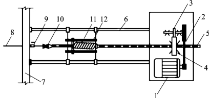
(2)电动螺杆张拉机

如图5.10所示,电动螺杆张拉机由螺杆、顶杆、张拉夹具、弹簧测力器及电动机组成。

图5.10 电动螺杆张拉机

1—电动机;2—皮带;3—齿轮;4—齿轮螺母;5—螺杆;6—顶杆;7—台座横梁;8—钢丝;9—锚固夹具;10—张拉夹具;11—弹簧测力针;12—滑动架

电动螺杆张拉机构造简单、体积小、操作灵活、运行平稳,螺杆具有自锁能力,张拉速度快、行程大。

2.钢筋张拉设备

穿心式千斤顶用于直径12~20mm的单根钢筋、钢绞线或钢丝束的张拉。用YC20型穿心式千斤顶(图5.11)张拉时,高压油泵启动,从后油嘴进油,前油嘴回油,被偏心式夹具夹紧的钢筋随液压缸的伸出而被拉伸。

油压千斤顶张拉时,用油压表读数直接控制张拉力大小。

图5.11 YC-20型穿心式千斤顶

1—钢筋;2—台座;3—穿心式夹具;4—弹性顶压头;5、6—油嘴;7—偏心式夹具;8—弹簧