1
建筑施工技术
1.7.2.3.1 一、钢筋冷拉
一、钢筋冷拉

钢筋冷拉是在常温下对热轧钢筋进行强力拉伸。拉应力超过钢筋的屈服强度,使钢筋产生塑性变形,以达到调直钢筋、提高强度、节约钢材的目的,对焊接接长的钢筋亦检验了焊接接头的质量。冷拉HPB235级钢筋多用于结构中的受拉钢筋,冷拉HRB335、HRB400、RRB400级钢筋多用作预应力构件中的预应力筋。

图4.14 钢筋冷拉原理

1.冷拉原理

钢筋冷拉原理如图4.14所示,图中abcde为钢筋的拉伸特性曲线。冷拉时,拉应力超过屈服点b达到c点,然后卸荷。由于钢筋已产生塑性变形,卸荷过程中应力应变沿cO1降至O1点。如再立即重新拉伸,应力应变图将沿O1cde变化,并在高于c点附近出现新的屈服点,该屈服点明显高于冷拉前的屈服点b,这种现象称“变形硬化”。其原因是冷拉过程中,钢筋内部结晶面滑移,晶格变化,内部组织发生变化,因而屈服强度提高,但塑性降低,弹性模量也降低。

2.冷拉工艺

钢筋冷拉工艺有两种:一种是采用卷扬机带动滑轮组作为冷拉动力的机械式冷拉工艺;另一种是采用长行程(1 500mm以上)的专用液压千斤顶(如YPD-60S型液压千斤顶)和高压油泵的液压冷拉工艺。目前我国仍以前者为主,但后者更有发展前途。

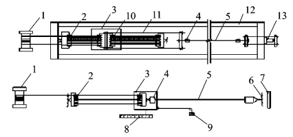
机械式冷拉工艺的冷拉设备,主要由拉力设备、承力结构、回程装置、测量设备和钢筋夹具组成。拉力设备为卷扬机和滑轮组,多用30~50kN的慢速卷扬机,通过滑轮组增大牵引力。设备的冷拉能力要大于所需的最大拉力,所需的最大拉力等于进行冷拉的最大拉力,同时还要考虑滑轮与地面的摩擦阻力及回程装置的阻力。承力结构可采用地锚,冷拉力大时宜采用钢筋混凝土冷拉槽(图4.15)。回程装置可用荷重架回程或卷扬机滑轮组回程。测力设备常用液压千斤顶或用装传感器和示力仪的电子秤。

图4.15 冷拉设备

1—卷扬机;2—滑轮组;3—冷拉小车;4—夹具;5—被冷拉的钢筋;6—地锚;7—防护壁;8—标尺;9—回程荷重架;10—回程滑轮组;11—传力架;12—冷拉槽;13—液压千斤顶

3.冷拉控制

钢筋冷拉,可利用冷拉应力控制法或冷拉率控制法。对不能分清炉批号的热轧钢筋,不应采取冷拉率控制。

(1)冷拉应力控制法

该控制法冷拉控制应力值如表4.7所示。对抗拉强度较低的热轧钢筋,如拉到符合标准的冷拉应力时,其冷拉率已超过限值,将对结构使用非常不利,故规定最大冷拉率限值。加工时按冷拉控制应力进行冷拉,冷拉后检查钢筋的冷拉率,如小于表中规定数值时,则为合格;如超过表中规定的数值,则应进行力学性能试验。

表4.7 钢筋冷拉的冷拉控制应力和最大冷拉率

(2)冷拉率控制法

钢筋冷拉以冷拉率控制时,其控制值由试验确定。对同炉批钢筋,测定的试件不宜少于4个,每个试件都按表4.8规定的冷拉应力值在万能试验机上测定相应的冷拉率,取其平均值作为该炉批钢筋的实际冷拉率。如钢筋强度偏高,平均冷拉率低于1%时,仍按1%进行冷拉。

表4.8 测定冷拉率时钢筋的冷拉应力

由于控制冷拉率为间接控制法,试验统计资料表明,同炉批钢筋按平均冷拉率冷拉后的抗拉强度的标准离差σ约为15~20N/mm2,为满足95%的保证率,应按冷拉控制应力增加1.645σ,约30N/mm2。因此,用冷拉率控制方法冷拉钢筋时,钢筋的冷拉应力比冷拉应力控制法高。

不同炉批的钢筋,不宜用控制冷拉率的方法进行钢筋冷拉。多根连接的钢筋,用控制应力的方法进行冷拉时,其控制应力和每根的冷拉率均应符合表4.7的规定;当用控制冷拉率的方法进行冷拉时,冷拉率可按总长计,但冷拉后每根钢筋的冷拉率不得超过表4.7的规定。钢筋的冷拉速度不宜过快。