1
建筑施工技术
1.5.2.3.2 二、混凝土灌注桩施工
二、混凝土灌注桩施工

混凝土灌注桩是直接在施工现场桩位上成孔,然后放入钢筋笼,再浇筑混凝土而成形成的桩。与预制桩相比,可节省钢材、木材和水泥,降低成本;对邻近建筑物及周围环境的有害影响小;桩长和直径可按设计要求变化自如;桩端可进入持力层或嵌入岩层;单桩承载力大等。但灌注桩成桩工艺较复杂,操作要求较严,易发生质量事故,且技术间隔时间长,不能立即承受荷载,冬季施工困难较多。灌注桩按成孔方法分为干作业成孔灌注桩、泥浆护壁成孔灌注桩、沉管灌注桩、爆破成孔灌注桩和人工挖孔灌注桩等,以干作业成孔灌注桩、泥浆护壁成孔灌注桩应用较广。

(一)灌注桩施工准备工作

1.确定成孔施工顺序

对土有挤密作用和振动影响的锤击(或振动)沉管灌注桩,一般可结合现场施工条件,采用下列方法确定成孔顺序:间隔1个或2个桩位成孔;在邻桩混凝土初凝前或终凝后成孔;一个承台下桩数在5根以上者,中间的桩先成孔,外围的桩后成孔。

2.成孔深度的控制

摩擦桩以设计桩长控制成孔深度;端承摩擦桩必须保证设计桩长及桩端进入持力层深度;当采用锤击沉管法成孔时,桩管入土深度以标高控制为主,以贯入度控制为辅。

端承桩采用锤击法成孔时,沉管深度控制以贯入度为主,设计持力层标高对照为辅。

3.钢筋笼的制作

制作钢筋笼时,要求主筋环向均匀布置,箍筋的直径及间距、主筋的保护层、加劲箍的间距等均应符合设计要求。箍筋和主筋之间一般采用电焊。

钢筋笼吊放入孔时,不得碰撞孔壁。灌注混凝土时应采取措施固定钢筋笼的位置,避免钢筋笼受混凝土上浮力的影响而上浮。也可待浇筑完混凝土后,将钢筋笼用带帽的平板振动器振入混凝土灌注桩内。

4.混凝土的配制

配制混凝土所用的材料与性能要进行选用。灌注桩混凝土所用粗骨料可选用卵石或碎石,其粒径不得大于钢筋净距的1/3,对于沉管灌注桩还不宜大于50mm;对于素混凝土,不得大于桩径的1/4,一般不宜大于70mm,混凝土强度等级不应低于C15;水下灌注混凝土具有无振动、无排污的优点,又能在流沙、卵石、地下水、易塌孔等复杂地质条件下顺利成桩,而且由于其水泥浆扩散渗透而大大提高了桩体质量,承载力为一般灌注桩1.5~2倍。

(二)混凝土和钢筋混凝土钻孔灌注桩

1.干作业成孔灌注桩

干作业成孔灌注桩适用于地下水位较低、在成孔深度内无地下水的土质,无需护壁可直接取土成孔。目前常用有螺旋钻机成孔,也有用洛阳铲成孔的。

螺旋钻成孔灌注桩是利用动力旋转钻杆,使钻头的螺旋叶片旋转削土,土块沿螺旋叶片上升排出孔外(图2.26)。螺旋钻成孔灌注桩是利用动力旋转钻杆,使钻头的螺旋叶片旋转削土,土块沿螺旋叶片上升排出孔外。施工时,要根据实际情况,确定相应的钻进转速及钻压;在软塑土层,含水量大时,可用疏纹叶片钻杆,以便较快地钻进;在可塑或硬塑黏土中,或含水量较小的砂土中应用密纹叶片钻杆,缓慢地均匀地钻进。全叶片螺旋钻机成孔直径一般为300~600mm,钻孔深度8~12m。

图2.26 步履式螺旋钻机

1—上盘;2—下盘;3—回转滚轮;4—行车滚轮;5—钢丝滑轮;6—回转中心轴;7—行车油缸;8—中盘;9—支盘

钢筋笼应一次绑扎完成,放入孔内之后再次测量孔内虚土厚度。混凝土应随浇随振,每次浇筑高度不得大于1.5m。

如为扩底桩,则需于桩底部应用扩孔刀片切削扩孔,扩底直径应符合设计要求,且孔底虚土厚度对以摩擦力为主的桩,不得大于300mm;对以端承力为主的桩,则不得大于100mm。

如成孔时发生塌孔,宜钻至塌孔处以下1~2m时,用低强度等级的混凝土填至塌孔以上1m左右,待混凝土初凝后再继续下钻,钻至设计深度,也可用3∶7的灰土夯实代替填筑混凝土。

2.泥浆护壁成孔灌注桩

泥浆护壁成孔是用泥浆保护孔壁,防止孔壁坍塌。通常在孔内注入高塑性黏土或膨润土和水拌和的泥浆,或者利用钻削下来的黏性土与水混合形成泥浆保护孔壁。对不论地下水位高或低的土层皆适用,多用于含水量高的软土地区。

成孔机械有回转钻机、潜水钻机、冲击钻等,其中以回转钻机最多。

(1)回转钻机成孔

回转钻机是由动力装置带动钻机回转装置转动,从而带动有钻头的钻杆转动,由钻头切削土壤。根据泥浆循环方式不同,分为正循环回转钻机和反循环回转钻机。

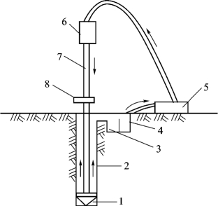
正循环回转钻孔成孔的工艺如图2.27所示。泥浆或高压水由空心钻杆内部通入,从钻杆底部喷出,携带钻下的土渣沿孔壁向上流动,由孔口将土渣带出并流入泥浆池。

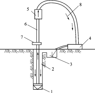
反循环回转钻孔成孔的工艺如图2.28所示。它是泥浆或清水由钻杆与孔壁间的环状间隙流入钻孔,由吸泥泵等在钻杆内形成真空,使之携带钻下的土渣由钻杆内腔返回地面而流向泥浆池。反循环工艺的泥浆上流速度较高,能携带较大的土渣。

图2.27 正循环回转钻机成孔工艺原理图

1—钻头;2—泥浆护壁方向;3—沉淀池;4—泥浆池;5—泥浆泵;6—水龙头;7—钻杆;8—钻机回转位置

图2.28 反循环回转钻机成孔工艺原理图

1—钻头;2—新泥浆流向;3—沉淀池;4—砂石泵;5—水龙头;6—钻杆;7—钻机回转位置;8—混合液流向

在杂填土或松软土层中钻孔时,应在桩位处理设护筒以起定位、保护孔口、维持水头等作用。护筒用钢板制作,内径应比钻头直径大10cm,埋入土中深度通常不宜小于1.0~1.5m,特殊情况下埋深需要更大。在护筒顶部应开设1~2个溢浆口。在钻孔过程中,应保持护筒内泥浆液面高于地下水位。在黏土中钻孔,可采用自造泥浆护壁;在砂土中钻孔,则应注入制备泥浆。注入的泥浆比重控制在1.1左右,排出泥浆的比重宜为1.2~1.4。钻孔达到要求的深度后,测量沉渣厚度,进行清孔。以原土造浆的钻孔,清孔可用射水法,此时钻具只转不进,待泥浆比重降到1.1左右即认为清孔合格;注入制备泥浆的钻孔,可采用换浆法清孔,至换出泥浆的比重小于1.15时方为合格,在特殊情况下泥浆比重可以适当放宽。

钻孔灌注桩的桩孔钻成并清孔后,应尽快吊放钢筋骨架并灌注混凝土。在无水或少水的浅桩孔中灌注混凝土时,应分层浇筑振实,每层高度一般为0.5~0.6m,不得大于1.5m。混凝土坍落度在一般黏性土中宜用50~70mm;砂类土中用70~90mm;黄土中用60~90mm。水下灌注混凝土时,常用垂直导管灌注法进行水下施工,施工方法见第三章有关内容。水下灌注混凝土至桩顶时,应适当超过桩顶设计标高,以保证在凿除含有泥浆的桩段后,桩顶标高和质量能符合设计要求。

钻进过程中,如发现排出的泥浆中不断出现气泡,或泥浆突然漏失,表示有孔壁坍陷迹象。其主要原因是土质松散,泥浆护壁不好,护筒周围未用黏土紧密填封以及护筒内水位不高。钻进中如出现缩颈、孔壁坍陷现象,首先应保持孔内水位并加大泥浆比重以稳孔护壁。如孔壁坍陷严重,应立即回填黏土,待孔壁稳定后再钻。

钻杆不垂直、土层软硬不匀或碰到孤石时,都会引起钻孔偏斜。钻孔偏斜时,可提起钻头,上下反复扫钻几次,以便削去硬土,如纠正无效,应于孔中局部回填黏土至偏孔处0.5m以上,重新钻进。

施工后的灌注桩的平面位置及垂直度都需满足规范的规定。灌注桩在施工前,宜进行试成孔。

(2)潜水钻机成孔

潜水钻机是一种旋转式钻孔机械,其动力、变速机构和钻头连在一起,加以密封,因而可以下放至孔中地下水位以下进行切削土壤成孔(图2.29)。用正循环工艺输入泥浆,进行护壁和将钻下的土渣排出孔外。

图2.29 潜水钻机示意图

1—钻头;2—潜水钻机;3—电缆;4—护筒;5—水管;6—滚轮支点;7—钻杆;8—电缆盘;9—卷扬机;10—控制箱;11—电流电压表;12—起动开关

潜水钻机成孔,亦需先埋设护筒,其他施工过程皆与回转钻机成孔相似。

(3)冲击钻成孔

冲击钻主要用于在岩土层中成孔,成孔时将冲锥式钻头提升一定高度后以自由下落的冲击力来破碎岩层,然后用掏渣筒来掏取孔内的渣浆(图2.30)。

图2.30 冲击钻机成孔示意图

1—滑轮;2—主杆;3—拉索;4—斜撑;5—卷扬机;6—垫木;7—钻头

图2.31 冲抓锥

还有一种冲抓锥(图2.31),锥头内有重铁块和活动抓片,下落时松开卷扬机刹车,抓片张开,锥头自由下落冲入土中,然后开动卷扬机拉升锥头,此时抓片闭合抓土,将冲抓锥整体提升至地面卸土,依次循环成孔。

(三)人工挖孔和挖孔扩底灌注桩

人工挖孔灌注桩是用人工挖土成孔,浇筑混凝土成桩。挖孔扩底灌注桩,是在挖孔灌注桩的基础上,扩大桩底尺寸而成。这类桩由于受力性能可靠、不需要大型机具设备、施工操作工艺简单等特点,在各地应用较为普遍。

挖孔及挖孔扩底灌注桩的特点是:单机承载力高,结构传力明确,沉降量小,可直接检查桩直径、垂直度和持力土层情况,桩质量可靠;施工机具设备较简单,施工工艺操作简便,占场地小;施工无振动、无噪声、无环境污染,对周围建筑物无影响。

挖孔及挖孔扩底灌注桩适用于桩径800mm以上,无地下水或地下水较少的黏土、粉质黏土中,特别适用于黄土层,深度一般在20m左右,可用于高层建筑、公用建筑、水下结构(如泵站,桥墩,做支撑、抗滑、挡土锚拉桩之用)。对有流沙、地下水位较高、涌水量大的冲积地带及近代沉积的含水量高的淤泥及淤泥质土不宜采用。

1.施工工艺方法要点有以下几点:

(1)挖孔灌注桩的施工程序是:场地整平→放线、定桩位→挖第一节桩孔土方→支模浇筑第一节混凝土护壁→在护壁上二次投测标高及桩位十字轴线→安装活动井盖、垂直运输架、起重电动葫芦或卷扬机、活底吊土桶、排水、通风照明设施等→第二节桩身挖土→清理桩孔四壁、校核桩孔和垂直度和直径→拆上节模板、支第二节模板,浇筑第二节混凝土护壁→重复第二节挖土、支模、浇筑第二节混凝土护壁工序,循环作业直至设计深度→检查持力层后进行扩底→清理虚土、排除积水、检查尺寸和持力层→吊放钢筋笼就位→浇筑桩身混凝土。当桩孔不设支护和不扩底时,则无此两道工序。

(2)挖孔由人工自上而下逐层用镐、锹进行,遇坚硬土层用锤、钎破碎;挖土次序为先挖中间部分后挖周边,允许尺寸误差3cm,扩底部分采取先挖桩身圆柱体,再按护底尺寸从上到下削土修成扩底形。弃土装入活底吊桶或箩筐内。垂直运输,在孔上口安支架、工字轨道、电葫芦或搭三木搭,用1~2慢速卷扬机提升,吊至地面上后,用机动翻斗车或手推车运出。人工挖孔桩底部如为基岩,一般应伸入岩面150~200mm,底面应平整不带泥沙。

(3)混凝土用粒径小于50mm石子,水泥用42.5号普通水泥或矿渣水泥,坍落度4~8cm,用机械拌制。混凝土用翻斗汽车,机动车或手推车向桩孔内浇筑。混凝土下料采用串桶,深桩孔用混凝土溜管;如地下水大,就采用混凝土导管水中浇筑混凝土工艺。混凝土要垂直灌入桩孔内,并应连续分层浇筑,每层厚不超过1.5m。小直径桩孔,6m以下利用混凝土的大坍落度和下冲力使密实;6m以内分层捣实。大直径桩应分层捣实,或用卷扬机吊导管上下插捣。对直径小、深度大的桩,人工下井振捣有困难的,可在混凝土中掺水泥用量0.25%木钙减水剂,使混凝土坍落度增至13~18cm,利用混凝土大坍落度下沉力使之密实,但桩上部钢筋部位应用振捣器振捣密实。

(4)桩混凝土的养护:当桩顶标高比自然场地标高低时,在混凝土浇筑12h后进行湿养护,当桩顶标高比场地标高时,混凝土浇筑12h后覆盖草袋,并湿水养护,养护时间不少于7d。

2.桩挖孔时,如地下水丰富、渗水或涌水量较大时,可根据情况分别采取以下措施:

(1)少量渗水可在桩孔内挖小集水坑,随挖土随用吊桶,将泥水一起吊出;

(2)渗水量较大时,如桩较密集,可将一桩超前开挖,使附近地下水汇集于此桩孔内,用1~2台泥浆泵将地下水抽出,起到深井降水的作用,将附近桩孔地下水位降低;

(3)渗水量较大,井底地下水难以排干时,底部泥渣可用压缩空气清孔方法清孔。

(四)锤击沉管灌注桩

锤击沉管灌注桩是用锤击打桩机,将带活瓣桩尖或设置钢筋混凝土预制桩尖(靴)的钢管锤击沉入土中,然后边浇筑混凝土边用卷扬机拔桩管成桩。其工艺特点是:可用小桩管打较大截面桩,承载力大;可避免坍孔、瓶颈、断桩、移位、脱空等缺陷;可采用普通锤击打桩机施工,机具设备和操作简便,沉桩速度快。但桩机较笨重,劳动强度较大,且要特别注意安全。适于黏性土、淤泥、淤泥质土、稍密的砂土及杂填土层中使用,但不能用于密实的中粗砂、砂砾石、漂石层。

其主要设备为一般锤击打桩机,如落锤、柴油锤、蒸汽锤等。由桩架、桩锤、卷扬机、桩管等组成,桩管直径可达500mm,长8~15m。

锤击沉管灌注桩桩身混凝土强度等级不低于C20;混凝土坍落度,当配筋时宜为80~100mm,当为素混凝土时宜为60~80mm。碎石粒径在配有钢筋时不大于25mm,无筋时不大于40mm。预制钢筋混凝土桩尖的强度等级不得低于C30。混凝土充盈系数(实际灌注混凝土体积与按设计桩身直径计算体积之比)不得小于1.0,成桩后的桩身混凝土顶面标高应至少高出设计标高500mm。

锤击沉管灌注桩施工过程中易发生断桩、瓶颈桩、吊脚桩、桩尖进水进泥等问题,就其发生的原因及处理方法简述如下:

1.断桩

断桩的裂缝为水平或略带倾斜,一般都贯通整个截面,常常出现于地面以下1~3m软硬土层交接处。

断桩原因主要有:桩距过小,邻桩施打时土的挤压产生的水平推力和隆起上拔力的影响;软硬土层传递水平力不同,对桩产生剪应力;桩身混凝土终凝不久;强度弱,承受不了外力的影响。

避免断桩的措施如下:

(1)布桩应坚持少桩疏排的原则,桩与桩之间中心距不宜小于3.5倍桩径。

(2)桩身混凝土强度较低时,尽量避免振动和外力的干扰,因此要合理确定打桩顺序和桩架行走路线。

(3)采用跳打法或控制时间法以减少对邻桩的影响。控制时间法指在邻桩混凝土初凝以前,必须把影响范围内的桩施工完毕。

断桩的检查与处理:在浅层(2~3m)发生断桩,可用重锤敲击桩头侧面,同时用脚踏在桩头上,如桩已断,会感到浮振;深处断桩目前常用动测或开挖的办法检查。断桩一经发现,应将断桩段拔出,将孔清理后,略增大面积或加上铁箍连接,再重新浇混凝土补做桩身。

2.缩颈桩

缩颈桩又称瓶颈桩,是指部分桩径缩小、桩截面积不符合设计要求。

缩颈桩产生的原因是:拔管过快,管内混凝土存量过少,混凝土本身和易性差,出管扩散困难造成缩颈;在含水量大的黏性土中沉管时,土体受到强烈扰动和挤压,产生很高的孔隙水压力,拔管后,这种水压力便作用到新浇筑的混凝土桩上,使桩身发生不同程度的缩颈现象。

防治措施:在容易产生缩颈的土层中施工时,要严格控制拔管速度,采用“慢拔密击”;混凝土坍落度要符合要求且管内混凝土必须略高于地面,以保持足够的压力,使混凝土出管扩散正常。

施工时可设专人随时测定混凝土的下落情况,遇有缩颈现象,可采取复打处理。

3.桩尖进水、进泥沙

桩尖进水、进泥沙常见于地下水位高、含水量大的淤泥和粉砂土层,是由于桩管与桩尖接合处的垫层不紧密或桩尖被打破所致。处理办法:可将桩管拔出,修复改正桩靴缝隙或将桩管与预制桩尖接合处用草绳、麻袋垫紧后,用砂回填桩孔后重打;如果只受地下水的影响,则当桩管沉至接近地下水位时,用水泥砂浆灌入管内约0.5m做封底,并再灌1m高的混凝土,然后继续沉桩。若管内进水不多(小于200mm)时,可不做处理,只在灌第一槽混凝土时酌情减少用水量即可。

4.吊脚桩

吊脚桩即桩底部的混凝土隔空,或混凝土中混进了泥沙而形成松软层。形成吊脚桩的原因是由于混凝土桩尖质量差,强度不足,沉管时被打坏而挤入桩管内,且拔管时冲击振动不够,桩尖未及时被混凝土压出或活瓣未及时张开。

为了防止出现吊脚桩,要严格检查混凝土桩尖的强度(应不小于C30),以免桩尖被打坏而挤入管内。沉管时,用吊砣检查桩尖是否有缩入管内的现象。如果有,应及时拔出纠正并将桩孔填砂后重打。