一、钢筋混凝土预制桩施工
(一)桩的制作、运输和堆放
1.桩的制作
钢筋混凝土预制桩是目前应用最广泛的一种桩基础施工方式。钢筋混凝土预制桩分实心桩和空心管桩两种。为了便于施工,实心桩大多做成方形断面,截面边长一般为300~500mm。现场预制桩的单根桩的最大长度主要取决于运输条件和打桩架的高度,一般不超过30m。如桩长超过30m,可将桩分成几段预制,在打桩过程中进行接桩处理。较短的桩多在预制厂生产,较长的桩一般在打桩现场附近或打桩现场就地预制。预制场地应平整夯实,并防止浸水沉陷,以保证桩身平直。
(1)制作程序
现场制作场地压实整平→场地地坪做三七灰土或浇筑混凝土→支模→绑扎钢筋骨架、安设吊环→浇筑混凝土→养护至30%强度拆模→支间隔端头模板、刷隔离剂、绑钢筋→浇筑间隔桩混凝土→同法间隔重叠制作第二层桩→养护至70%强度起吊→达100%强度后运输堆放。
(2)制作方法
混凝土预制桩可在工厂或施工现场顶制。现场预制多采用工具式木模板或钢模板,支在坚实平整的地坪上,模板应平整牢靠、尺寸准确。用间隔重叠法生产,重叠层数应根据地面允许荷载和施工条件确定,但不宜超过4层。桩与桩间应做好隔离层,上层桩或邻桩的浇筑,应在上层桩或邻桩混凝土达到设计强度的30%以后方可进行。
桩分节制作时,单节长度确定,应满足桩架的有效高度、制作场地条件、运输与装卸能力的要求,同时应避免桩尖接近硬持力层或桩尖处于硬持力层中接桩。上节桩和下节桩应尽量在同一纵轴线上预制,使上下节钢筋和桩身减少偏差。预制桩的混凝土常用C30~C40,宜用机械搅拌、机械振捣。由桩顶向桩尖连续浇筑捣实,一次完成;制作完成后,应洒水养护不少于7d。混凝土的粗骨料应采用碎石或碎卵石,粒径宜为5~40mm。
制桩时,应做好浇筑日期、混凝土强度、外观检查、质量鉴定等记录,以供验收时查用。每根桩上要标明编号、制作日期,如不预埋吊环,则应标明绑扎位置。
(3)预制桩的允许偏差
横截面边长+5mm,保护层厚度±5mm,桩顶对角线之差10mm;桩顶平面对桩中心线的位移10mm;桩身弯曲矢高不大于0.1%的桩长,且不大于20mm;桩顶平面对桩中心线的倾斜为30mm。桩的表面应平整、密实,掉角的深度不应超过10mm,且局部蜂窝和掉角的缺损总面积不得超过该桩表面全部面积的0.5%,并不得过分集中;由于混凝土收缩产生的裂缝,深度不得大于20mm,宽度不得大于0.25mm,横向裂缝长度不得超过边长的1/2(管桩、多角形桩不得超过直径或对角线的1/2);桩顶或桩尖处不得有蜂窝、麻面、裂缝和掉角。
2.桩的运输
混凝土预制桩达到设计强度的70%方可起吊,达到设计强度的100%后方可进行运输。如提前吊运,必须验算合格。桩在起吊和搬运时,吊点应符合设计规定,如无吊环,设计又未做规定,绑扎点的数量及位置按桩长而定,应符合起吊弯矩最小的原则,按图2.17所示位置捆绑。钢丝绳与桩之间应加衬垫,以免损坏棱角。起吊时应平稳提升,吊点同时离地。如要长距离运输,应采用平板拖车或轻轨平板车。长桩搬运时,桩下要设置活动支座。

图2.17 吊点的合理位置
3.桩的堆放
桩堆放时,地面必须平整、坚实,不同规格的桩,应分别堆放。垫木间距应根据吊点确定,各层垫木应位于同一垂直线上,最下层垫木应适当加宽,堆放层数不宜超过4层。
(二)打桩前的准备
桩基础工程在施工前,应根据工程规模的大小和复杂程度编制整个分部工程施工组织设计或施工方案。
打桩前,可向城市管理、供水、供电、煤气、电信、房管等有关单位提出要求,认真处理高空、地上和地下的障碍物。然后对现场周围(一般为10m以内)的建筑物、地下管线等做全面检查,必须予以加固或采取隔振措施或拆除,以免打桩中由于振动的影响可能引起倒塌等。打桩场地必须平整、坚实,必要时要敷设道路,经压路机碾压密实,场地四周应挖排水沟以利排水。
在打桩现场附近设水准点,其位置应不受打桩影响,数量不得少于两个,用以抄平场地和检查桩的入土深度。要根据建筑物的轴线控制桩且定出桩基础的每个桩位,可用小木桩标记。正式打桩之前,应对校基的轴线和桩位复查一次,以免因小木桩挪动、丢失而影响施工。桩位放线允许偏差为20mm。
检查打桩机设备及起重工具,敷设水电管网,进行设备架立组装和试打桩。在桩架上设置标尺或在桩的侧面画上标尺,以便能观测桩身入土深度。施工前应做数量不少于2根桩的打桩工艺试验,用以了解桩的沉入时间、最终沉入度、持力层的强度、桩的承载力以及施工过程中可能出现的各种问题和反常情况等,以便检验所选的打桩设备和施工工艺是否符合设计要求。
(三)锤击沉桩(打入桩)施工
锤击沉桩也称打入桩,是利用桩锤下落产生的冲击能量将桩沉入土中,它是混凝土预制桩最常用的沉桩方法。该法施工速度快、机械化程度高、适应范围广,但施工时有噪音污染和振动,对城市中心和夜间施工有所限制。
1.打桩设备及选择
打桩所用的机具设备,主要包括桩锤、桩架及动力装置三部分。
(1)桩锤
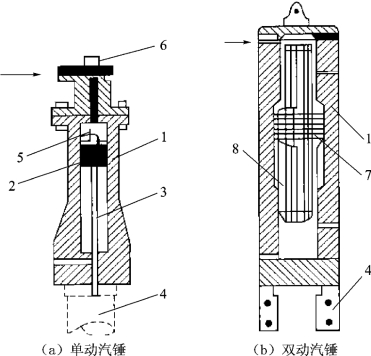
桩锤是把桩打入土中的主要机具,有落锤、汽锤(图2.18)、柴油桩锤、振动桩锤等。桩锤的类型应根据施工现场情况、机具设备条件及工作方式和工作效率等条件来选择。
落锤的作用是对桩施加冲击力,将桩打入土中。一般由铸铁制成,构造简单、使用方便、能随意调整落锤高度,适合于在普通黏土和含砾石较多的土层中打桩,但打桩速度较慢(6~12次每分钟),效率不高,贯入能力低,对桩的损伤较大。落锤有穿心锤和龙门锤两种,质量一般为0.5~1.5t,适于打细长尺寸的混凝土桩,在一般土层及黏土和含有砾石的土层中均可使用。
汽锤是以高压蒸汽或压缩空气为动力的打桩机械,有单动汽锤和双动汽锤两种,如图2.18所示。单动汽锤:结构简单、落距小、对设备和桩头不易造成损坏,打桩速度及冲击力较落锤大,效率较高、冲击力较大,打桩速度较落锤快,每分钟锤击60~80次,一般适用于各种桩在各类土中施工,最适于套管法打就地浇筑混凝土桩,锤重0.5~15t。双动汽锤:打桩速度快,冲击频率高,每分钟达100~120次,一般打桩工程都可使用,并能用于打钢板桩、水下桩、斜桩和拔桩,但设备笨重、移动较困难,锤重为0.6~6.0t。柴油桩锤:利用燃油爆炸来推动活塞往返运动进行锤击打桩。柴油桩锤与桩架、动力设备配套组成柴油打桩机。柴油桩锤分导杆式和筒式两种,锤重0.6~0.7t,设备轻便、打桩迅速,每分钟锤击40~80次,常用于打木桩、钢板桩和混凝土预制桩,是目前应用较广的一种桩锤,但在松软土中打桩时易熄火。

图2.18 汽锤
1—气缸;2—活塞;3—活塞杆;4—桩;5—活塞上部;6—换向阀门;7—锤的垫座;8—冲击部分
振动桩锤是利用机械强迫振动,通过桩帽传到桩上使桩下沉。振动桩锤沉桩速度快、适用性强、施工操作简便安全,能打各种桩,并能帮助卷扬机拔桩,但不适于打斜桩,适于打钢板桩、钢管桩,长度在15m以内的打入灌注桩。适于粉质黏土、松散砂土和软土,不宜用于岩石、砾石和密实的黏性土地基,在砂土中打桩最有效。
锤重的选择,在做功相同即锤重与落距乘积相等的情况下,宜选用重锤低击。因为这样的桩锤对桩头的冲击小,回弹也小,桩头不易损坏,大部分能量都用在克服桩身与土的摩阻力和桩尖阻力上,桩就能较快地沉入土中。桩锤过重,所需动力设备大,能源消耗大,不经济;桩锤过轻,施打时必定增大落距,使桩身产生回弹,桩不宜沉入土中,常常打坏桩头或使混凝土保护层脱落,严重者甚至使桩身断裂。
(2)桩架
桩架是支持桩身和桩锤在打桩过程中引导桩的方向及维持桩的稳定,并保证桩锤沿着所要求方向冲击的设备。桩架一般由底盘、导向杆、起吊设备、撑杆等组成。桩架的高度应由桩的长度、桩锤高度、滑轮组高、桩帽厚度以及桩锤的工作余地高度来确定,即:桩架高度=桩长+桩锤高度+滑轮组高+桩帽厚度+1~2m的桩锤的工作余地高度。
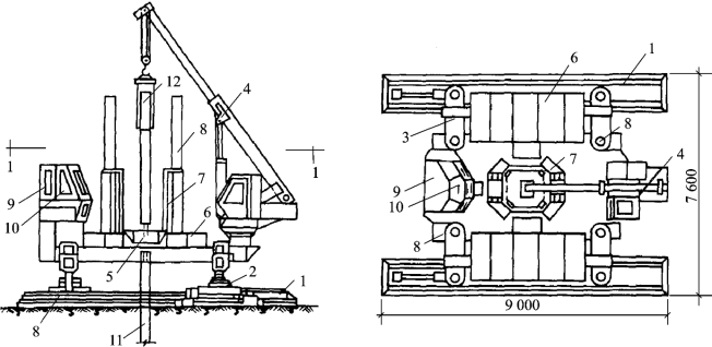
桩架的形式多种多样,常用的桩架有两种基本形式:一种是沿轨道行驶的多功能桩架,另一种是装在履带底盘上的履带式桩架。
多功能桩架(见图2.19)是由定柱、斜撑、回转工作台、底盘及传动机构组成的。它的机动性和适应性很大,在水平分向可做360°回转,导架可以伸缩和前后倾斜,底座下装有铁轮,底盘在轨道上行走。这种桩架可适用于各种预制桩施工及灌注桩施工。缺点是机构较庞大,现场组装和拆迁比较麻烦。
履带式桩架(见图2.20)以履带式起重机为主机,并配备桩架工作装置。它操作灵活、移动方便,适用于各种预制桩和灌注桩的施工,目前应用最多。
(3)动力装置
打桩机械的动力装置是根据所选桩锤而定的。当采用空气锤时,应配备空气压缩机;当选用蒸汽锤时,则要配备蒸汽锅炉和绞盘。
2.打桩工艺
(1)确定打桩顺序
打桩顺序直接影响到桩基础的质量和施工速度,应根据桩的密集程度(桩距大小)、桩的规格和长短、桩的设计标高、工作面布置、工期要求等综合考虑,合理确定打桩顺序。
根据基础的设计标高和桩的规格,宜按先深后浅、先大后小、先长后短的顺序进行打桩。
根据桩的密集程度,打桩顺序一般分为逐排打设、自中部向四周打设和由中间向两侧打设三种,如图2.21所示。当桩的中心距不大于4倍桩的直径或边长时,应由中间向两侧对称施打,或由中间向四周施打。当桩的中心距大于4倍桩的边长或直径时,可采用上述两种打法,或逐排单向打设。

图2.19 多功能桩架
1—枕木;2—钢轨;3—底盘;4—回转平台;5—卷扬机;6—司机室;7—平衡重;8—撑杆;9—挺杆;10—水平调整装置;11—桩锤与桩帽

图2.20 履带式桩架
1—导架;2—桩锤;3—桩帽;4—桩;5—吊车

图2.21 打桩顺序
(2)打桩程序
打桩程序包括:吊桩、插桩、打桩、接桩、送桩、截桩头。
①吊桩:按既定的打桩顺序,先将桩架移动至设计所定的桩位处并用缆风绳等稳定,然后将桩运至桩架下,一般利用桩架附设的起重钩借桩机上的卷扬机吊桩就位,或配一台履带式起重机送桩就位,并用桩架上夹具或落下桩锤借桩帽固定位置。桩提升为直立状态后,对准桩位中心,缓缓放下插入土中,桩插入时垂直度偏差不得超过0.5%。
②插桩:桩就位后,在桩顶安上桩帽,然后放下桩锤轻轻压住桩帽。桩锤、桩帽和桩身中心线应在同一垂直线上。在桩的自重和锤重的压力下,桩便会沉入一定深度,等桩下沉达到稳定状态后,再一次复查其平面位置和垂直度,若有偏差应及时纠正,必要时要拔出重打。校核桩的垂直度可采用垂直角,即用两个方向(互成90°)的经纬仪使导架保持垂直。校正符合要求后,即可进行打桩。为了防止击碎桩顶,应在混凝土桩的桩顶和桩帽之间、桩锤与桩帽之间放上硬木、麻袋等弹性衬垫做缓冲层。
③打桩:桩锤连续施打,使桩均匀下沉。宜用“重锤低击”:重锤低击获得的动量大,桩锤对桩顶的冲击小,其回弹也小,桩头不易损坏,大部分能量都用以克服桩周边土壤的摩阻力而使桩下沉。正因为桩锤落距小、频率高,对于较密实的土层,如砂土或黏土也能容易穿过,一般在工程中采用重锤低击。而轻锤高击所获得的动量小、冲击力大,其回弹也大,桩头易损坏,大部分能量被桩身吸收,桩不易打入,且轻锤高击所产生的应力,还会促使距桩顶1/3桩长度范围内的薄弱处产生水平裂缝,甚至使桩身断裂。在实际工程中一般不采用轻锤高击。
④接桩:当设计的桩较长,但由于打桩机高度有限或预制、运输等因素,只能采用分段预制、分段打入的方法,需在桩打入过程中将桩接长。接长预制钢筋混凝土桩的方法有焊接法和浆锚法,目前以焊接法应用最多。接桩时,一般在距离地面1m左右进行,上、下节桩的中心线偏差不得大于10mm,节点弯曲矢高不得大于0.1%的两节桩长。在焊接后应使焊缝在自然条件下冷却10min后方可继续沉桩。浆锚法接头是将上节桩锚筋插入下节桩锚筋孔内,再用硫黄胶泥锚固,硫黄胶泥是一种热塑冷硬性胶结材料,它是由胶结料、细骨料、填充料和增韧剂熔融搅拌混合配制而成。其质量配合比为:硫黄∶水泥∶砂∶聚硫橡胶=44∶11∶44∶1(硫黄胶泥灌注后停歇时间不得小于7min),即可继续沉桩施工。浆锚法接桩可节约钢材,操作简便,接桩时间比焊接法大为缩短,但不宜用于坚硬土层中。送桩:如桩顶标高低于自然土面,则需用送桩管将桩送入土中。桩与送桩管的纵轴线应在同一直线上,拔出送桩管后,桩孔应及时回填或加盖。
⑤截桩头:如桩底到达了设计深度,而配桩长度大于桩顶设计标高时需要截去桩头。截桩头宜用锯桩器截割,或用手锤人工凿除混凝土,钢筋用气割割齐。严禁用大锤横向敲击或强行扳拉截桩。
(3)打桩控制
打桩时主要控制两个方面的要求:一是能否满足贯入度及桩尖标高或入土深度要求,二是桩的位置偏差是否在允许范围之内。在打桩过程中,必须做好打桩记录,以作为工程验收的重要依据。应详细记录每打入1m的锤击数和时间、桩位置的偏斜、贯入度(每10击的平均入土深度)和最后贯入度(最后3阵、每阵10击的平均入土深度)、总锤击数等。打桩的控制原则是:当(端承型桩)桩尖位于坚硬、硬塑的黏土、碎石土、中密以上的砂土或风化岩等土层时,以贯入度控制为主,桩尖进入持力层深度或桩尖标高可做参考;当贯入度已达到,而桩尖标高未达到时,其贯入度不应大于规定的数值;当(摩擦型桩)桩尖位于其他软土层时,以桩尖设计标高控制为主,贯入度可做参考。打桩时,如控制指标已符合要求,而其他的指标与要求相差较大时,应会同监理、设计单位研究处理。当遇到贯入度剧变,桩身突然发生倾斜、移位或有严重回弹,桩顶或桩身出现严重裂缝、破碎等情况时,应暂停打桩,并分析原因,采取相应措施。
(四)静力压桩施工
静力压桩是利用无震动、无噪音的静压力将预制桩压入土中的沉桩方法。静力压桩的方法较多,有锚杆静压,液压千斤顶加压、绳索系统加压等,凡非冲击力沉桩均按静力压桩考虑。静力压桩适用于软土、淤泥质土,沉桩截面小于400mm×400mm、桩长30~35m的钢筋混凝土实心桩或空心桩。与普通打桩相比,可以减少挤土、振动对地基和邻近建筑物的影响,桩顶不易损坏,不易产生偏心沉桩,节约制桩材料和降低工程成本,且能在沉桩施工中测定沉桩阻力,为设计、施工提供参数,并预估和验证桩的承载能力。静力压桩施工中,一般是采用分段预制、分段压入、逐段接长(可用焊接、硫化胶泥接桩)的方法。
1.静压桩沉桩机理
静压预制桩主要应用于软土、一般黏性土地基。在桩压入土过程中,以桩机本身的重量(包括配重)作为反作用力,以克服压桩过程中的桩侧摩阻力和桩端阻力。当预制桩在竖向静压力作用下沉入土中时,桩周土体发生急速而激烈的挤压,土中孔隙水压力急剧上升,土的抗剪强度大大降低,从而使桩身很快下沉。
2.压桩机具设备
静压力桩机分为机械式和液压式两种。前者是用桩架、卷扬机、加压钢丝绳、滑轮组和活动压梁等部件组成,施压部分在桩顶端面,施加静压力为600~2 000kN,这种桩机设备高大笨重、行走移动不便、压桩速度较慢,但装配费用较低,只有少数地区还在应用;后者由压拔装置、行走机构及起吊装置等组成(图2.22),采用液压操作,自动化程度高、结构紧凑、行走方便快速,施压部分不在桩顶面,而在桩身侧面,它是当前国内较广泛采用的一种新型压桩机械。

图2.22 全液压式静力压桩机压桩
1—长船行走机构;2—短船行走及回转机构;3—支腿式底盘结构;4—液压起重机;5—夹持与压板装置;6—配重铁块;7—导向架;8—液压系统;9—电控系统;10—操纵室;11—已压入下节桩;12—吊入上节桩
3.施工工艺方法要点
(1)静压预制桩的施工,一般都采取分段压入、逐段接长的方法。其施工程序为:测量定位→压桩机就位→吊桩、插桩→桩身对中调直→静压沉桩→接桩→再静压沉桩→送桩→终止压桩→切割桩头。静压预制桩施工前的准备工作、桩的制作、起吊、运输、堆放、施工流水、测量放线、定位等均同锤击法打(沉)预制桩。压桩的工艺程序如图2.23。

图2.23 压桩工艺程序示意图
1—第一段桩;2—第二段桩;3—第三段桩;4—送桩;5—桩接头处;6—地面线;7—压桩架操作平台线
(2)压桩时,桩机就位系利用行走装置完成。它是由横向行走(短船行走)和回转机构组成。把船体当做铺设的轨道,通过横向和纵向油缸的伸程和回程使桩机实现步履式的横向和纵向行走。当横向两油缸一只伸程,另一只回程,可使桩机实现小角度回转,这样可使桩机达到要求的位置。
(3)静压预制桩每节长度一般在12m以内,插桩时先用起重机吊运或用汽车运至桩机附近,再利用桩机上自身设置的工作吊机将预制混凝土桩吊入夹持器中,夹持油缸将桩从侧面夹紧,即可开动压桩油缸,先将桩压入土中1m左右后停止,调正桩在两个方向的垂直度后,压桩油缸继续升程把桩压入土中,升程完后,夹持油缸回程松夹,压桩油缸回程,重复上述动作可实现连续压桩操作,直至把桩压入预定深度土层中。在压桩过程中要认真记录桩入土深度和压力表读数的关系,以判断桩的质量及承载力。当压力表读数突然上升或下降时,要停机对照地质资料进行分析,判断是否遇到障碍物或产生断桩现象等。
(4)压桩应连续进行,如需接桩,可压至桩顶离地面0.8~1.0m用硫黄砂浆锚接,一般在下部桩留φ50mm锚孔,上部桩顶伸出锚筋,长1.5~2.0m,硫黄砂浆接桩材料和锚接方法同锤击法,但接桩时避免桩端停在砂土层上,以免再压桩时阻力增大压入困难。再用硫黄胶泥接桩间歇不宜过长(正常气温下为10~18min);接桩面应保持干净,浇筑时间不超过2min;上下桩中心线应对齐,节点矢高不得大于0.1%桩长。
(5)当压力表读数达到预先规定值,便可停止压桩。如果桩顶接近地面,而压桩力尚未达到规定值,可以送桩。静力压桩情况下,只需用一节长度超过要求送桩深度的桩,放在被送的桩顶上便可以送桩,不必采用专用的钢送桩。如果桩顶高出地面一段距离,而压桩力已达到规定值时则要截桩,以便压桩机移位。
(6)压桩应控制好终止条件,一般可按以下进行控制:
①对于摩擦桩,按照设计桩长进行控制,但在施工前应先按设计桩长试压几根桩,待停置24h后,用与桩的设计极限承载力相等的终压力进行复压,如果桩在复压时几乎不动,即可以此进行控制。
②对于端承摩擦桩或摩擦端承桩,按终压力值进行控制:
A.对于桩长大于21m的端承摩擦桩,终压力值一般取桩的设计极限承载力。当桩周土为黏性土且灵敏度较高时,终压力可按设计极限承载力的0.8~0.9倍取值;
B.当桩长小于21m,而大于14m时,终压力按设计极限承载力的1.1~1.4倍取值;或桩的设计极限承载力取终压力值的0.7~0.9倍;
C.当桩长小于14m时,终压力按设计极限承载力的1.4~1.6倍取值;或设计极限承载力取终压力值0.6~0.7倍,其中对于小于8m的超短桩,按0.6倍取值。
③超载压桩时,一般不宜采用满载连续复压法,但在必要时可以进行复压,复压的次数不宜超过2次,且每次稳压时间不宜超过10s。
4.静力压桩常遇问题及防治、处理方法
(1)静力压桩常遇问题及产生原因
①液压缸活塞动作迟缓(YZY型压桩机)。产生原因:油压太低,液压缸内吸入空气;液压油黏度过高;滤油器或吸油管堵塞;液压泵内泄漏,操纵阀内泄漏过大。
②压力表指示器不工作。产生原因:压力表开关未打开;油路堵塞;压力表损坏。
③桩压不下去。产生原因:桩端停在砂层中接桩,中途间断时间过长;压桩机部分设备工作失灵,压桩停歇时间过长;施工降水过低,土体中孔隙水排出,压桩时失去超静水压力的“润滑作用”;桩尖碰到夹砂层,压桩阻力突然增大,甚至超过压桩机能力而使桩机上抬。
④桩达不到设计标高。产生原因:桩端持力层深度与勘察报告不符;桩压至接近设计标高时过早停压,在补压时压不下去。
⑤桩架发生较大倾斜。产生原因:当压桩阻力超过压桩能力或者来不及调整平衡。
⑥桩身倾斜或位移。产生原因:桩不保持轴心受压;上下节桩轴线不一致;遇横向障碍物。
(2)静力压桩常遇问题的防治及处理方法
①液压缸活塞动作迟缓(YZY型压桩机)。防治及处理方法:提高溢流阀卸载压力;添加液压油使油箱油位达到规定高度;修复或更换吸油管;按说明书要求更换液压油;拆下清洗、疏通;检修或更换。
②压力表指示器不工作。防治及处理方法:打开压力表开关;检查和清洗油路;更换压力表。
③桩压不下去。防治及处理方法:避免桩端停在砂层中接桩;及时检查压桩设备;适当降低水位;以最大压桩力作用在桩顶,采取停车再开、忽停忽开的办法,使桩有可能缓慢下沉穿过砂层。
④桩达不到设计标高。防治及处理方法:变更设计桩长;改变过早停压的做法。
⑤桩架发生较大倾斜。防治及处理方法:立即停压并采取措施、调整,使保持平衡。
⑥桩身倾斜或位移。防治及处理方法:及时调整;加强测量;障碍物不深时,可挖除回填后再压;歪斜较大,可利用压桩油缸回程,将土中的桩拔出,回填后重新压桩。
5.质量控制
(1)施工前应对成品桩做外观及强度检验,接桩用焊条或半成品硫黄胶泥应有产品合格证书,或送有关部门检验,压桩用压力表、锚杆规格及质量也应进行检查。硫黄胶泥半成品应每100kg做一组试体(3件),进行强度试验。
(2)压桩过程中应检查压力、桩垂直度、接桩间歇时间、桩的连接质量及压入深度。重要工程应对电焊接桩的接头做10%的探伤检查。对承受反力的结构(对锚杆静压桩)应加强观测。
(3)施工结束后,应做桩的承载力及桩体质量检验。
(五)锚杆静压桩施工
锚杆静力压桩法,是近年开发的一项地基加固新技术,在老厂或旧有建筑物改造、已有建筑物基础托换加固以及新建工程中得到较为广泛的应用,取得了良好的技术经济效益。
1.基本原理与性能
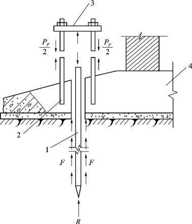
锚杆静压法沉桩,系利用建(构)筑物的自重作为压载,先在基础上开凿出压桩孔和锚杆孔,然后埋设锚杆或在新建(构)筑物基础上预留压桩孔、预埋钢锚杆,借锚杆反力,通过反力架,用液压压桩机将钢筋混凝土预制短桩逐段压入基础中开凿或预留的桩孔内,当压桩力达到1.5Pa(Pa——桩的设计承载力)和满足设计桩长时,便可认为满足设计要求,再将桩与基础连接在一起,卸去液压压桩机后,该桩便能立即承受上部荷载,从而可减少地基土的压力,及时阻止建(构)筑物继续产生不均匀沉降。
锚杆静压装置如图2.24所示;锚杆静力压桩时的力系平衡简图见图2.25。
(1)抗拔锚杆的基本性能
锚杆的形式,新浇基础一般采用预埋爪式锚杆螺栓;在旧有基础上,采用先凿孔,后埋设带镦粗头的直杆螺栓;后埋式锚杆与混凝土基础的黏结一般采用环氧树脂或硫黄胶泥砂浆,经固化或冷却后,能承受压桩时很大的抗拔力;锚杆埋深为8~10d(d——锚杆直径),端部镦粗或加焊钢筋箍,亦可采用螺栓锚杆。
(2)压桩阻力与单桩承载力
将桩压入土中时,要克服土体对桩的阻力PP,压桩阻力PP由桩侧阻力和桩尖阻力两部分组成,可按下式计算:


图2.24 锚杆静压法沉桩装置
1—桩;2—压桩孔;3—锚杆;4—钢结构及反力架;5—活动横梁;6—千斤顶;7—电动葫芦;8—基础;9—柱基;10—砖墙

图2.25 锚杆静压法沉桩时力系平衡简图
1—桩;2—锚杆;3—反力架;4—基础;
R—桩尖阻力;F—桩侧阻力
式中U——桩周长,m;
hi——各土层的厚度,m;
fi——各土层的桩侧阻力,kPa;
A——桩尖面积,m2;
gi——桩尖阻力,kPa。
在压桩过程中,由于挤土的作用,在桩周一定范围内出现重塑区,土的黏结力被破坏,土中超孔隙水压力增大,土的抗剪强度大大降低,故此桩侧摩阻力明显减小,压桩即利用此特性,能用较小的压桩力将桩压入到较深的土层中去,随着时间的推移,超孔隙水压力逐渐消散,土体逐渐压密固结,抗剪强度也随之提高,土的结构强度得到恢复,桩的侧向摩阻力也明显增大。根据实践,当在桩力为1.3~1.5Pa时,经三周后,黏土的单桩承载力得到明显恢复,其安全度K达到2,可满足设计要求。
2.特点及适用范围
锚杆静压桩的特点是:对于加固已沉裂、倾斜的建(构)筑物,可以迅速得到稳定,可在不停产、不搬迁的情况下进行基础托换加固;对于新建工程可与上部建筑同步施工,不占绝对工期;加固过程中无振动、无噪声、无环境污染,侧向挤压小;在压桩过程中可直接测得压桩力和桩的入土深度,可保证桩基质量;施工机具设备结构简单、轻便、移动灵活,操作技术易于掌握,可自行制造,可在狭小空间场地应用;锚杆静压法沉桩受力明确、简便,单桩承载力高(250~300kN),加固效果显著;不用大型机具,施工快速(新建工程每台班可压桩60~80延长米),节省加固费用,做到现场文明施工。
适用于加固黏性土、淤泥质土、人工填土、黄土等地基,特别适用于建筑物加层;已沉裂、倾斜建(构)筑物的纠偏加固;老厂房技术改造柱基及设备基础的托换加固;新建工程先建房后压桩的工程。
3.机具设备
(1)YJ-150型液压压桩机,由反力架、活动横梁、油压千斤顶、高压油泵、电动葫芦等部件组成,压桩力500kN,可自行制造。
(2)配套机具,包括电焊机、切割机、空气压缩机、风钻、风镐、配制环氧树脂胶泥(砂浆)及熬制硫黄胶泥(砂浆)用的器具等。
4.桩段制作要求
桩段采用钢筋混凝土,截面形状为方形,桩的截面边长为180~300mm,桩段长一般为1.0~3.0m不等,钢筋采用Ⅰ级钢和Ⅱ级钢,混凝土强度不小于C30。桩制作多采用无底模板间隔、重叠法生产,压桩时强度要求达到100%。
5.施工要点
(1)锚杆静压法沉桩程序是:清理基础顶面覆土→凿压桩孔和锚杆孔→埋设锚杆螺栓→安装反力架→吊桩段就位、进行压桩施工→接桩→压到设计深度和要求压桩力→封桩、将桩与基础连接→拆除压桩设备。
(2)开凿压桩孔可采用风镐或钻机成孔,压桩孔凿成上小下大截头锥形体,以利于基础承受冲剪;凿锚杆孔可采用风钻或钻机成孔,孔径为φ42mm,深度为10~12倍锚杆直径,并清理干净,使干燥。
(3)埋设锚杆应与基础配筋扎在一起,可采用环氧胶泥(砂浆)黏结,环氧胶泥(砂浆)可加热(40℃左右)或冷作业,硫黄砂浆要求热作业,填灌密实,使混凝土与混凝土黏结在一起,采取自然养护16h以上。
(4)反力架安装应牢固,不能松动,并保持垂直;桩吊入压桩孔后,亦要保持垂直。压桩时,要使千斤顶与桩段轴线保持垂直,并在一条直线上,不得偏压。
(5)每沉完一节桩,吊装上一段桩,桩间用硫黄胶泥连接。接桩前应检查插筋长度和插筋孔深度,接桩时应围好套箍,填塞缝隙,倒入硫黄胶泥,再将上节桩慢慢放下,接缝处要求浆液饱满,待硫黄胶泥冷却结硬后才可开始压桩。
(6)压桩施工应对称进行,防止基础受力不平衡而导致倾斜;几台压桩机同时作业时,总压桩力不得大于该节点基础上的建筑物自重,防止基础被抬起。
(7)压桩应连续进行,不得中途停顿,以防因间歇时间过长使压桩力骤增,造成桩压不下去或把桩头压碎等质量事故。
(8)封桩必须认真进行,应砍去外露桩头,清除桩孔内的泥水杂物,清洗孔壁,焊好交叉钢筋,湿润混凝土连接面,浇筑C30微膨胀早强混凝土并加以捣实,使桩与桩基承台结合成整体,湿养护7d以上。
6.质量控制
质量控制同静力压桩施工质量控制。
(六)振动沉桩施工方法
振动沉桩与锤击沉桩的施工方法基本相同,其不同之处是用振动桩机代替捶打桩机施工。振动桩机主要由桩架、振动锤、卷扬机和加压装置等组成。
1.振动锤
振动锤是一个箱体,内装有左右两根水平轴,轴上各有一个偏心块,电动机通过齿轮带动两轴旋转,两轴的旋转方向相反但转速相同。利用振动锤沉桩的工作原理是:沉桩时当启动电动机后,由于偏心块的转动产生离心力,其水平分力相互抵消,垂直分力则相互叠加,形成垂直振动力。由于振动锤与桩顶为刚性固定连接,当锤振动时,迫使桩和桩四周的土也处于振动状态,因此土被扰动,从而使桩表面摩阻力降低,在锤和桩的自重作用下,使桩能顺利地沉入土中。
2.振动沉桩方法
振动沉桩施工方法是在振动桩机就位后,先将桩吊升并送入桩架导管内,再落下桩身直立插入桩位中。然后在桩顶扣好桩帽,校正好垂直度和桩位,除去吊钩,把振动锤放置于桩顶上并粘牢。此时,由于在桩自重和振动锤重力作用下,桩便自行沉入土中一定深度,待稳定并经再校正桩位和垂直度后,即可启动振动锤开始沉桩。振动锤启动后产生振动力,通过桩身将此振动力传给土壤,迫使土体产生强迫振动,导致土壤颗粒彼此间发生位移,因而减少了桩与土壤间的摩擦阻力,使桩在自重和振动力共同作用下沉入土中,直至沉至设计要求位置。振动沉桩一般控制最后3次振动(每次振动10min),测出每分钟的平均贯入度,或控制沉桩深度,当不大于设计规定的数值时即认为符合要求。
振动沉桩具有噪声小、不产生废气污染环境、沉桩速度快、施工简便、操作安全等优点。振动沉桩法适用于在砂质黏土、砂土和软土区施工,但不宜用于砾石和密实的黏土层中施工。如用于砂砾石和黏土层中时,则需配以水冲法辅助施工。