1
现代城市规划与可持续发展
1.4.3.3 第三节 机场的规划
第三节 机场的规划

随着民用航空事业的发展与普及,机场已成为每个城市的重要组成部分。而现代飞机飞行速度越来越快,运载量也越来越大,在城市对外交通运输中的比重越来越大,对城市影响也越来越大。 在城市规划工作中,必须妥善地考虑机场位置的选定,以及机场与城市的距离和交通联系等问题。

一、机场位置选择

1.机场用地应当平坦,并有一定排水坡度(但一般机场跑道的最大纵坡也不要大于10‰),要有良好的工程地质、水文地质条件,不应位于有矿藏和山体滑坡地区以及洪水易淹地区,当然还要避免占用大量良田。

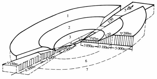
图3-13 我国一级机场净空限制范围示意

1-外水平面;2-锥形面;3-内水平面;4-过渡面;5-端净空面;6-二级至四级机场净空限制范围;7-五级机场净空限制范围

2.按机场的级别要求,保证足够的机场用地面积,保证净空限制区内没有障碍物。

3.气象条件对飞机起飞、降落有较大影响,特别是风向、风速和气温等。 尽量使机场跑道轴线与本地区主导风向具有较小的夹角。 争取逆向起飞降落,不受横向风速干扰,有利安全。

4.为避免飞机起飞、降落时越过城市市区上空而产生骚扰,机场位置宜在城市两侧且跑道轴线不穿过城市区,如图3-14中a、d和e所示。 要避免如图3-14中b所示的布置。 由于受自然地形等条件限制,一定要穿过城市上空时,也要争取将机场设于离城市较远的郊区,保证其端净空面不在城市市区范围内,如图3-14c所示。

图3-14 机场位置与城市市区的关系

1-城市市区;2-本地区主导风向

5.为满足机场通信联络方面的要求,选择机场位置时应避免附近有电波、磁场对机场导航、通信系统的干扰;同时还要注意对机场周围高压线、变电站、电讯台以及有高频或X光设备的工厂、企业、科研和医疗单位的影响。 此外,还要注意不要选在有大量飞鸟活动的地区,避免飞机升降时,飞鸟被吸入造成飞机失事。 最后,城市中有两个以上机场时要注意避免两者干扰;选择机场位置时还要为今后发展留有余地。

二、机场内的布置

机场由空区和陆区两部分组成。 空区是指机场内飞机起降、装卸、调动、停机以及飞机起飞后或降落前在机场及其上空活动的范围,包括等待空区、进近净空区、机场飞行区(升降带、滑行道和停机坪)等。 陆区是服务区,也称航站区,包括技术服务区和行政服务区。 技术服务区是为指导飞行、通信联络、信号标志、飞机的技术保养和修配等服务的建、构筑物和设备所占的区域。 行政服务区是为机场工作人员、旅客、邮件、货物服务的建、构筑物所占的区域。 陆区还包括职工生活区域、商业区及与机场有关的小型工业企业设施等。

图3-15 民用机场组成示意

1-升降带、跑道;2-滑行道;3-停机坪;4-技术服务区;5-候机楼;6-行政服务区;7-停车场;8-通往城市的道路

(一)跑道

跑道布置与机场容量、基地风向有关。 飞机应在逆风下升降,逆风风速越大,起飞时所需滑跑距离越短,逆风降落既可以缩短滑跑距离,又能增加安全性。横风(指侧向有一定强度的风)时,飞机起飞降落均较危险。 跑道布置形式有带形、平行形、交叉形、V形和集中形等。 跑道的长度与宽度和飞机特性、跑道有效纵坡等因素有关。 图3-16标明了为我国一级机场在标准条件下(即海拔高度为零、气温15℃、无风、无坡情况)的长度与宽度。 机场海拔高度每升高100m,长度增长2.5%;温度超高1℃,长度增长1%;坡度增大0.1%,跑道增长1%。

图3-16 我国一级机场跑道及升降带组成

1-跑道长2800m,宽45m;2-跑道道肩,宽度≥60m;3-侧安全道,等于跑道长度,宽度300m;4-端安全道,长200m;5-过渡面,长度60m

2.滑行道

滑行道的作用是使飞机在跑道上降落后,很快滑行离开跑道,以免影响其他飞机使用跑道,以及飞机起飞前从滑行道可以迅速进入跑道。

3.停机坪

停机坪有登机口停机坪、整备停机坪、试运转停机坪、防磁停机坪、机库停机坪等。 一般说的停机坪是指登机口停机坪。 飞机在此载卸旅客、货物、行李,装载燃料、水、食物和清洁机舱等。

停机坪的规划与布置应根据机坪类别,停放飞机的类型、数量、停放方式和自滑式牵引等因素确定。

三、机场与城市距离和交通的联系

机场并不是航空运输的终点,而是地—空运输的一个衔接点,航空运输的全过程必须有地面交通的配合才能最后完成。 目前,世界各国机场一城市的地面交通联系的速度与效率已成为发展现代空运的主要矛盾。 随着飞机航速的不断提高,飞行所花的时间将越来越短,地面交通所占的比重就会越来越高,这是非常不合理的。 因此,在城市规划中,必须很好地解决这个问题。

(一)机场与城市距离

前面谈到从机场本身的使用和建设,以及对城市的干扰、人防、安全等方面考虑,机场与城市的距离远些为好,但从机场为城市服务、更好地发挥高速的航空交通优越性来说,则要求机场接近城市为便利。 我国机场与城市中心距离最远的是兰州中川机场(52km)、重庆白市骚机场(40km);中等距离的有:北京首都机场(27km)、长沙大托铺机场(26km)、南宁的吴圩机场(27.8km)和哈尔滨的阎家岗机场(32km);较近的有:武汉南湖机场(5km)、广州白云机场(6km)、南京大校场机场(6km)和昆明巫家坝机场(6.5km)。 据国外60多个机场统计:机场距离城市10~20km者约占15%;30~40km者约占35%。 城市规划总的原则是:必须努力争取在满足机场选址要求的前提下,尽量缩短机场与城市的距离。

(二)机场与城市的交通联系

为了发挥航空运输的快速特点,与城市联系的地面交通越快越好,一般希望机场到城市所花的时间在30分钟以内。 目前,国内外采用的方式主要有专用高速公路、高速列车、地下铁道等。 地下铁道、高速列车运量大、速度快,但要多一次转乘,增添了麻烦,而且投资较大、灵活性差;采用汽车比较方便、灵活、直接;但随着小汽车的增加,常常出现交通堵塞、停车场地不够等情况。 最好是设专用高速公路和城市环道系统相联结,可望达到快速、通畅的要求。