1
中国传统家具榫卯结构
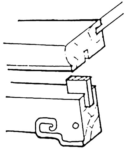
1.7.5.20 20 栽销
20 栽销

栽销是在两顺向木材之间凿眼垂直栽上的薄方木片,以连接固定两者间的位置。如在桌面心板之间,以及床牙板与大边之间等(图4-92)。

图4-92 栽销