1
中国传统家具榫卯结构
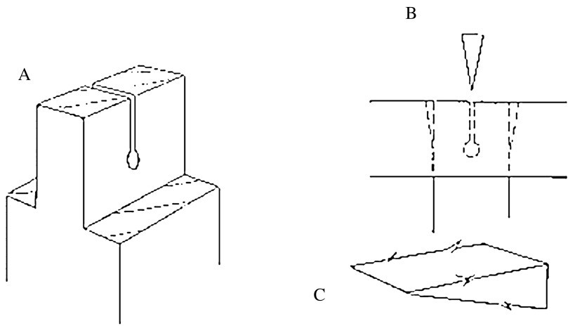
1.7.5.10 10 破头榫
10 破头榫

将榫头劈裂,用与榫同厚的木楔打入榫头 ,再将榫头一起挤压在卯眼里,使之更加牢固。一般施用于柜、橱侧面穿带的榫头上(图4-81)。

图4-81 破头榫