-
1.1扉页
-
1.2目录
-
1.3前言
-
1.4第一章 中国传统家具榫卯结构的发展概况
-
1.4.1一、传统家具发展简史
-
1.4.1.11 殷商西周时期家具(前1600年~前771年)
-
1.4.1.22 春秋战国时期家具(前770年~前221年)
-
1.4.1.33 秦汉时期家具(前221年~220年)
-
1.4.1.44 魏晋南北朝时期家具(220年~589年)
-
1.4.1.55 隋唐五代时期家具(581年~960年)
-
1.4.1.66 宋元时期家具(960年~1368年)
-
1.4.1.77 明代家具(1368年~1644年)
-
1.4.1.88 清代家具(1616年~1911年)
-
1.4.2二、传统家具榫卯结构的发展概况
-
1.4.2.11 河姆渡时期的榫卯结构
-
1.4.2.22 夏至秦汉时期的榫卯结构
-
1.4.2.33 魏晋南北朝至唐宋时期的榫卯结构
-
1.4.2.44 元明清时期的榫卯结构
-
1.5第二章 常见榫卯结构的释名及其制作工艺
-
1.5.1一、榫卯结构的释名
-
1.5.2二、榫卯结构的基本构成
-
1.5.3三、榫卯结构的基本连接形式
-
1.5.4四、榫卯结构的制作工具演变
-
1.5.5五、榫卯结构的制作要求及工艺
-
1.5.6六、榫卯结构的优、缺点
-
1.5.6.11 榫卯结构的优点
-
1.5.6.22 榫卯结构的缺点
-
1.6第三章 建筑榫卯结构与家具榫卯结构
-
1.6.1一、建筑榫卯结构的形式及应用
-
1.6.2二、建筑榫卯结构与家具榫卯结构的联系
-
1.6.2.11 家具造型与建筑造型
-
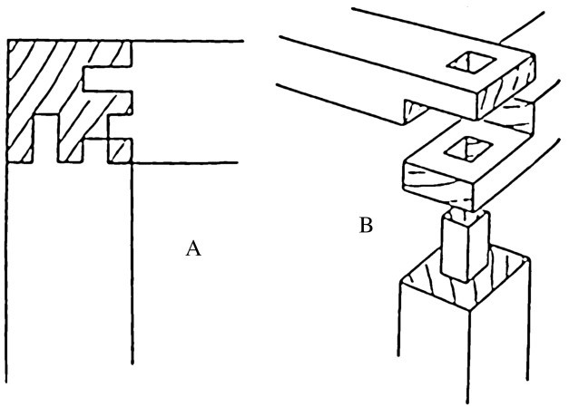
1.6.2.22 家具的腿与建筑的柱
-
1.6.2.33 家具的牙子与建筑的替木
-
1.6.2.44 家具的围子与建筑的棂格
-
1.6.2.55 家具的束腰与建筑的须弥座
-
1.7第四章 中国传统榫卯结构在传统家具中的应用
-
1.7.1一、榫卯结构在不同木制品中的应用
-
1.7.1.11 案型结体家具
-
1.7.1.22 束腰桌型结体家具
-
1.7.1.33 四面平式桌型结体家具
-
1.7.1.44 “仿竹式”家具
-
1.7.1.55 门的榫卯结构
-
1.7.1.66 门及构架的追头型榫卯接合
-
1.7.2二、榫卯结构在家具不同部位的接合形式
-
1.7.2.11 组合与攒边装板的做法
-
1.7.2.22 腿、牙子、面子的接合
-
1.7.2.33 腿子与托泥、座墩等下部构件的接合
-
1.7.2.44 附加的榫销
-
1.7.3三、木器接合中榫卯结构的不同形式的应用
-
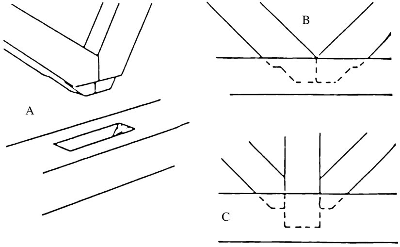
1.7.3.11 半搭接合
-
1.7.3.22 方榫接合
-
1.7.3.33 三缺榫接合
-
1.7.4四、榫卯结构在木框及传统框式家具中的应用
-
1.7.4.11 木框榫接合的形式和适用范围
-
1.7.4.22 箱框的接合形式和适用范围
-
1.7.4.33 方材的纵向接合
-
1.7.5五、传统榫卯结构形式及使用综览
-
1.7.5.11 龙凤榫加穿带
-
1.7.5.22 走马销
-
1.7.5.33 夹头榫
-
1.7.5.44 插肩榫
-
1.7.5.55 楔钉榫
-
1.7.5.66 抱肩榫
-
1.7.5.77 霸王枨
-
1.7.5.88 燕尾榫
-
1.7.5.99 巴掌榫
-
1.7.5.1010 破头榫
-
1.7.5.1111 挤楔
-
1.7.5.1212 大进小出楔
-
1.7.5.1313 破头楔
-
1.7.5.1414 卡子花结构
-
1.7.5.1515 苏作半榫用钉
-
1.7.5.1616 修理断腿的钉
-
1.7.5.1717 透销
-
1.7.5.1818 插销
-
1.7.5.1919 钉销
-
1.7.5.2020 栽销
-
1.7.5.2121 穿销
-
1.7.5.2222 明式官帽椅上的管门钉
-
1.7.5.2323 六子联芳
-
1.7.5.2424 粽角榫
-
1.7.5.2525 套棒
-
1.7.5.2626 钩挂榫
-
1.7.5.2727 格肩榫
-
1.7.5.2828 托角榫
-
1.7.5.2929 长短榫
-
1.7.5.3030 裹腿枨
-
1.7.5.3131 夹花双头榫
-
1.7.5.3232 斜面钩搭接
-
1.7.5.3333 圆木的相交接合
-
1.7.5.3434 三碰肩缩口榫
-
1.7.5.3535 包肩剔夹口榫
-
1.7.5.3636 挂榫
-
1.7.5.3737 半燕尾扎钩挂榫
-
1.7.5.3838 托角装饰榫
-
1.7.5.3939 三碰肩包皮榫
-
1.7.5.4040 双交榫
-
1.7.5.4141 钩结榫
-
1.7.5.4242 中榫
-
1.7.5.4343 单肩批榫
-
1.7.5.4444 双肩批榫
-
1.7.5.4545 双榫双肩
-
1.7.5.4646 半双榫
-
1.7.5.4747 两分榫
-
1.7.5.4848 大进小出榫
-
1.7.5.4949 对角榫
-
1.7.5.5050 单面带夹口斜角榫
-
1.7.5.5151 双面斜角榫
-
1.7.5.5252 方角肩榫
-
1.7.5.5353 马牙榫
-
1.7.5.5454 梳榫
-
1.7.5.5555 钩头榫
-
1.7.5.5656 双向钩头榫
-
1.7.5.5757 三层榫
-
1.7.5.5858 六方交口榫
-
1.7.5.5959 正斜交口榫
-
1.7.5.6060 十字榫搭接
-
1.7.5.6161 明榫
-
1.7.5.6262 暗榫
-
1.7.5.6363 盖头榫
-
1.7.5.6464 L形榫
-
1.7.5.6565 攒斗
-
1.8第五章 常见经典传统家具中的榫卯结合形式的分析
-
1.8.1一、椅凳类
-
1.8.1.11 灯挂椅
-
1.8.1.22 圈椅
-
1.8.1.33 交椅
-
1.8.1.44 玫瑰椅
-
1.8.1.55 方凳与绣墩
-
1.8.2二、桌案类
-
1.8.2.11 八仙桌
-
1.8.2.22 炕桌
-
1.8.2.33 平头案
-
1.8.2.44 翘头案
-
1.8.2.55 卷书案
-
1.8.3三、床榻类
-
1.8.3.11 罗汉床
-
1.8.3.22 架子床
-
1.8.4四、橱柜类
-
1.8.4.11 圆角柜
-
1.8.4.22 方角柜
-
1.8.5五、其他类
-
1.8.5.11 屏风
-
1.8.5.22 衣架
-
1.8.5.33 箱
-
1.8.5.44 面盆架
-
1.9第六章 传统家具榫卯结构的现代演绎和发展
-
1.9.1一、现代榫卯结构与传统榫卯结构的区别
-
1.9.2二、现代红木家具榫卯结构的演变
-
1.9.2.11 一型接合
-
1.9.2.22 T型接合
-
1.9.2.33 L型接合
-
1.9.2.44 F型接合
-
1.9.2.55 口型接合
-
1.9.2.66 干型接合
-
1.9.2.77 弧型接合
-
1.9.2.88 角型接合
-
1.9.2.99 X型和米型
-
1.9.2.1010 拆装式
-
1.9.2.1111 其他结构
-
1.9.2.1212 典型部件的结构
-
1.9.3三、现代榫卯加工工具及组装工艺
-
1.9.3.11 现代榫卯加工工具
-
1.9.3.22 榫卯组装
-
1.9.4四、榫卯结构未来的发展趋势
-
1.10附录
-
1.10.1家具图释
-
1.10.2家具常用术语