1
中国传统家具榫卯结构
1.5.2 二、榫卯结构的基本构成

二、榫卯结构的基本构成

榫卯结构大致有以下结构:

(1)榫:器物两部分利用凹凸相接的凸出的部分。

(2)榫头:竹、木、石制器物或构件上利用凹凸方式相接处凸出的部分。

(3)榫卯(榫头和卯眼):框架结构两个或两个以上部分的接合处。

(4)榫销:插入榫上销孔中的销。

(5)榫眼:榫枘相接处为容纳枘而凿出的窟窿,即器物咬合的凹下部分。

(6)榫凿:用来凿切榫眼的凿子。

(7)榫接合:榫头压入榫眼、榫孔、榫沟或榫槽的接合。

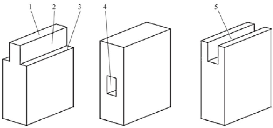
图2-2 榫头的组合

1—榫端;2—榫颊;3—榫肩;4—榫眼;5—榫槽