3.3 习 题
1.在杨氏双缝实验中,除了原有的光源缝S外,再在S的正上方开一狭缝S′,如图3-9所示。①若使
试求单独打开S或S′以及同时打开它们时屏上的光强分布。
②若
同时打开时,屏上的光强分布如何?

图3-9 杨氏双缝实验
2.瑞利干涉仪的结构和使用原理如下(参见图3-10):以钠光灯作为光源置于透镜L1的前焦面,在透镜L2的后焦面上观测干涉条纹的变动,在两个透镜之间安置一对完全相同的玻璃管T1和T2。实验开始时,T2管充以空气,T1管抽成真空,此时开始观察干涉条纹。然后逐渐使空气进入T1管,直到它与T2管的气压相同。记下这一过程中条纹移过的数目。射光波长为589.3nm,管长为20cm,条纹移过98根,求空气的折射率。

图3-10 瑞利干涉仪
3.如图3-11所示,将一焦距f′为50cm的会聚透镜的中央部分截取6mm,把余下的上下两部分再黏合在一起,成为一块透镜L。在透镜L的对称轴上,左边300cm处有一波长λ=5×10-7 m的单色点光源S,在右边450cm处置一光屏DD。试分析并计算:
①S发出的光经过透镜L后的成像情况,如所成之像不止一个,计算各像之间的距离;
②在光屏DD上能否观察到干涉条纹?如能观察到干涉条纹,相邻明条纹的间距是多少?

图3-11 习题3示意图
4.白光以45°角射在肥皂(n=1.33)膜上,试求使反射光呈黄色(λ=6.1×10-7 m)的最小膜厚度。
5.将光滑的平板玻璃覆盖在柱形平凹透镜上,如图3-12所示,试求:①用单色光垂直照射时,画出反射光中干涉条纹分布的大致情况;②若圆柱面的半径为R,且中央为暗纹,问从中央数第2条暗纹与中央暗纹的距离是多少?③连续改变入射光的波长,在λ=5×10-7 m和λ=6×10-7 m时,中央均为暗纹,求柱面镜的最大深度;④若轻压上玻璃片,条纹如何变化?

图3-12 习题5示意图
6.用很薄的云母片(n=1.58)覆盖在双缝装置中的一条缝上,这时,光屏上的中心被原来的第7级亮纹所占据,若λ=5.5×10-7 m,则云母片有多厚?
7.波长λ为0.5μm的平行单色光垂直入射到双孔平面上,已知双孔间距t为0.5mm,在双孔屏另一侧5cm远处,正放置一枚像方焦距f′为5cm的理想薄透镜L,并在L的像方焦平面处放置接收屏。求:①干涉条纹的间距等于多少?②将透镜往左移近双孔2cm,接收屏上干涉条纹的间距又等于多少?
8.在杨氏双缝实验中,双缝间距为0.5mm,接收屏距双缝1m,点光源距双缝30cm,它发射波长λ=5×10-7 m的单色光。试求:①屏上干涉条纹间距;②若点光源由轴上向下平移2mm,屏上的干涉条纹向什么方向移动?移动多少?③如点光源发出的光波为500.0±2.5nm范围内的准单色光,求屏上能看到的干涉极大的最高级次;④若光源具有一定的宽度,屏上干涉条纹消失时,它的临界宽度是多少?
9.沿着与肥皂膜的法线成35°角的方向观察膜呈绿色(λ=5×10-7 m),设肥皂水的折射率为1.33,求:①薄膜的厚度;②如果垂直注视,膜呈何种颜色?
10.一束白光垂直照射厚度为0.4μm的玻璃片,玻璃的折射率为1.5,在可见光谱范围内(λ=4×10-7 m到λ=7×10-7 m),反射光的哪些波长成分将被加强?
11.白光以45°角射在肥皂(n=1.33)膜上,试求使反射光呈黄色(λ=6.1×10-7 m)的最小膜厚度。
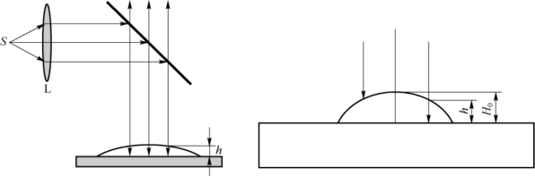
12.如图3-13所示的实验装置,在一洁净玻璃片的上表面放一滴油,当油滴展开成油膜时,在波长λ=6×10-7 m的单色光的垂直照射下,从反射光中观察到油膜所形成的干涉条纹。在实验中由读数显微镜向下观察油膜所形成的干涉条纹。如果油膜的折射率n=1.20,玻璃的折射率n′=1.50,试求:①当油膜中心的最高点与玻璃片的上表面相距h=1.2×10-6 m时,描述所观察到的条纹的形状,即可以观察到几条亮条纹,亮条纹所在处油膜的厚度是多少?中心点的明暗程度又如何?②当油膜逐渐扩展时,所看到的条纹将如何变化?

图3-13 习题12示意图

图3-14 习题13示意图
13.如图3-14所示,A为平凸透镜,B为平板玻璃,C为金属柱,D为框架,A、B之间留有气隙,而A被固定在框架的边缘上。温度变化时,C发生伸缩,而假设A、B、D都没有伸缩。现用波长为λ=6.328×10-7 m的激光垂直照射,试求:①在反射光中观察时,看到Newton环的条纹都移向中央,这表明金属柱C的长度是增加还是缩短?②如果观察到有10个明条纹移到中央而消失,C的长度变化了多少毫米?
14.在傍轴条件下,等倾条纹的半径与干涉级有什么样的依赖关系?Newton环的情况又怎样?能够将两者进行区别吗?如何区别?
15.用钠光(λ=5.893×10-7 m)观察Michelson干涉条纹,起初看到干涉场中有16个亮环,且中心是亮的。移动一个平面镜M1后,看到中心吞吐了20环,此时干涉场中还剩6个亮环。试求:①M1移动的距离;②开始时中心亮斑的干涉级;③M1移动后,最外面亮环的干涉级。
16.将光滑的平板玻璃覆盖在柱形平凹透镜上,如图3-15所示,试求:①用单色光垂直照射时,画出反射光中干涉条纹分布的大致情况;②若圆柱面的半径为R,且中央为暗纹,问从中央数第2条暗纹与中央暗纹的距离是多少?③连续改变入射光的波长,在λ=5×10-7 m和λ=6×10-7 m时,中央均为暗纹,求柱面镜的最大深度;④若轻压上玻璃片,条纹如何变化?

图3-15 习题16示意图
17.设Fabry-Poret腔(F-P腔)长5cm,用扩展光源做实验,光波波长λ=6×10-7 m,问:①中心干涉级数是多少?②在1°的倾角附近,干涉环的半角宽度是多少?(设反射率R=0.98。)③如果用该F-P腔分辨谱线,其色分辨本领有多大?可分辨的最小波长间隔是多少?④如果用其对白光进行选频,透射最强的谱线有几条?每条谱线的宽度是多少?⑤由于热胀冷缩所引起的腔长的改变量为10-5(相对值),则谱线的漂移量是多少?
18.若用钠光灯的双谱线λ=5.890×10-7 m和λ=5.896×10-7 m照明Michelson干涉仪,首先调整干涉仪,得到清晰的干涉条纹,然后移动M1,干涉图样为什么会逐渐变得模糊?问第一次视场中干涉条纹消失时,M1移动了多少距离?
19.玻璃板上有一层油膜,波长可连续改变的单色光正入射,在λ=6×10-7 m时,观察到反射光干涉相消,并且在这两波长之间再无其他波长的光相消。①证明油膜的折射率一定小于1.5(玻璃的折射率为1.5)。②若油的折射率为1.3,求油膜的厚度。

图3-16 习题20示意图
20.如图3-16所示,在一厚玻璃中有一气泡,形状类似球面透镜,用单色光从玻璃的左侧垂直入射。①说明在右侧看到的干涉条纹的特点,即形状、间距、级数和边界处的条纹特点。②若均匀用力挤压玻璃的左右两侧,条纹有何变化?
21.波长为λ的平行单色光以小倾角θ斜入射到间距为t的双缝上,设接收屏到双缝的距离为D。①求零级主极大的位置。②假设在屏上到双缝距离都相等的地方恰好出现暗条纹,倾角θ必须满足什么条件?
22.一台迈克尔逊干涉仪,使用波长λ=550nm的扩展光源,调节两臂使干涉仪产生同心圆环干涉条纹。①此圆环干涉条纹为何种干涉条纹?②要使干涉圆环向中心一一消失20个圆环条纹,则可动臂必需移动多远?③空气平板是变厚还是变薄了?
23.如图3-17所示,点光源S发射的球面波与平面波满足相干条件,若在x0y0平面上两波具有相同的位相,在xy平面上两波具有相同的振幅,距S1m远的、与平面波传播方向垂直的xy平面满足x2+y2≪1m,那么:①xy平面上的干涉条纹是什么形状?②干涉条纹的间距和空间频率各是多少?

图3-17 习题23示意图

图3-18 习题24示意图
24.如图3-18所示,将一台泰曼-格林干涉仪的一个反射镜改为球面反射镜,使用波长为550nm的光源远心照明,调节球面反射镜的镜臂,使其产生同心圆环干涉条纹。①此圆环干涉条纹为何种干涉条纹?②要使干涉圆环向中心一一消失20个圆环条纹,则可动臂必需移动多远?③M2的移动方向是向左还是向右?
25.将一个波长稍小于600nm的光波与一个波长为600nm的光波在F-P干涉仪上进行比较,当F-P干涉仪的两镜面间距离改变2.0mm时,两光波的条纹系就重合一次(干涉条纹基本消失),试求未知光波的波长。
26.波长为λ、振幅为A、传播方向平行于xz平面但与z轴的夹角为θ的平面波,与光源位于z轴上,距坐标原点的距离为a,波长也为λ的球面波在z=0平面发生干涉。设发散球面波在(0,0,-a)点与平面波在坐标原点的初相位相等,振幅也为A,a2≫x2+y2,请问:①在z=0平面上干涉条纹是什么形状?②干涉条纹的间距是多少?
27.波长为500nm的绿光投射在间距d为0.022cm的双缝上,在距离180cm处的光屏上形成干涉条纹,求两个亮条纹之间的距离。若改用波长为700nm的红光投射到此双缝上,两个亮条纹之间的距离又为多少?算出这两种光第2级亮纹的位置。
28.在杨氏实验装置中,光源的波长为640nm,两狭缝间距为0.4mm,光屏离狭缝的距离为50cm。试求:①光屏上第1亮条纹和中央亮条纹之间的距离;②若p点离中央亮条纹0.1mm,问两束光在p点的相位差是多少?③求p点的光强度和中央点的强度之比。
29.把折射率为1.5的玻璃片插入杨氏实验的一束光路中,光屏上原来第5级亮条纹所在的位置为中央亮条纹,试求插入的玻璃片的厚度,已知光的波长为6×10-7 m。
30.波长为500nm的单色平行光射在间距为0.2mm的双狭缝上,通过其中一个缝的能量为另一个的2倍,在离狭缝50cm的光屏上形成干涉图样,求干涉条纹间距和条纹的可见度。
31.波长为700nm的光源与菲涅耳双镜的相交棱之间的距离为20cm,棱到光屏间的距离L为180cm,若所得干涉条纹中相邻亮条纹的间隔为1mm,求双镜平面之间的夹角θ。
32.在如图3-19所示的劳埃德镜实验中,光源S到观察屏的距离为1.5m,到劳埃德镜面的垂直距离为2mm。劳埃德镜长40cm,置于光源和屏之间的中央。①若光波波长λ=500nm,问条纹间距是多少?②确定屏上可以看见条纹的区域大小,此区域内共有几条条纹?(提示:产生干涉的区域P1P2可由图中的几何关系求得。)

图3-19 劳埃德镜实验
33.迈克尔逊干涉仪的反射镜M2移动0.25mm时,看到条纹移过的数目为909个,设光为垂直入射,求所用光源的波长。
34.迈克尔逊干涉仪平面镜的面积为4×4cm2,观察到该镜上有20个条纹。当入射光的波长为589nm时,两镜面之间的夹角为多大?
35.调节一台迈克尔逊干涉仪,使其用波长为500nm的扩展光源照明时会出现同心圆环条纹。若要使圆环中心处相继出现1 000条圆环条纹,则可动臂将移动多远的距离?若中心是亮的,试计算第一暗环的角半径。(提示:圆环是等倾干涉图样。计算第一暗环角半径可利用θ≈sinθ及cosθ≈1-θ2/2的关系。)
36.用单色光观察牛顿环,测得某一亮环的直径为3mm,在它外边第5个亮环的直径为4.6mm,所用平凸透镜的凸面曲率半径为1.03m,求此单色光的波长。
37.在反射光中观察某单色光所形成的牛顿环。其第2级亮环与第3级亮环的间距为1mm,求第19和第20级亮环之间的距离。
38.菲涅耳双棱镜实验装置尺寸如图3-20所示:缝到棱镜的距离为5cm,棱镜到屏的距离为95cm,棱镜角为α=179°32′,构成棱镜玻璃材料的折射率为n′=1.5,采用的是单色光。当厚度均匀的肥皂膜横过双棱镜的一半部分放置时,该系统中心部分附近的条纹相对原先有0.8mm的位移。若肥皂膜的折射率为n=1.35,试计算肥皂膜厚度的最小值。

图3-20 菲涅耳双棱镜实验装置
39.将焦距为50cm的会聚透镜中央部分C切去(见图3-21),余下的A、B两部分仍旧粘起来,C的宽度为1cm。在对称轴线上距透镜25cm处置一点光源,发出波长为692nm的红宝石激光,在对称轴线上透镜的另一侧50cm处置一光屏,平面垂直于轴线。试求:①干涉条纹的间距是多少?②光屏上呈现的干涉图样是怎样的?

图3-21 习题39示意图