1
建筑力学
1.4.2.4 2.4 多跨静定梁
2.4 多跨静定梁

2.4.1 多跨静定梁的几何组成

多跨静定梁是由若干根梁用铰连接,并用若干支座与基础相连组成的静定结构。多跨静定梁一般要跨越几个相连的跨度,是工程中广泛使用的一种结构形式。例如房屋建筑中的木檩条梁(见图3-23(a))和公路桥梁(见图3-24(a))等。

图3-23

多跨静定梁按其几何组成特点有两种基本形式:第一种组成方式如图3-23(b)所示,除左边第一跨外,其他各跨均有一铰,即在外伸梁AB的基础上依次加上BC、CD两根梁;第二种组成方式如图3-24(b)所示,无铰跨与有两个铰的跨交替出现,即在外伸梁AB、CD中间架上BC跨。在实际工程中,有些多跨梁还会采用这两种方式混合的形式。

图3-24

从几何组成上看,多跨静定梁的各部分可以分成基本部分和附属部分。如图3-23(b)所示, AB梁由三根支座链杆与地基相连,它不依赖其他部分的存在,就能独立地维持其几何不变性,称为基本部分。而BC梁则必须依靠基本部分的AB梁才能维持其几何不变性,CD梁也必须依靠AC部分才能维持其几何不变性,称为附属部分。同理,在图3-24(b)中,AB梁和CD梁是基本部分,而BC梁是附属部分。显然,附属部分是靠基本部分支承才能维持其几何不变性的,如果附属部分被破坏或撤除,基本部分仍为几何不变;反之,如果基本部分被破坏或撤除,则附属部分必然连同破坏或倒塌。为了更清晰地说明它们各部分之间的支承关系,可以用如图3-23(c)和图3-24(c)所示的这种把基本部分画在下层,而把附属部分画在上层的层次图来表示。

2.4.2 多跨静定梁的内力计算

把多跨静定梁的基本部分和附属部分用层次图表示后,多跨静定梁就被拆成了若干单跨静定梁。从受力分析来看,由于基本部分直接与地基组成为几何不变体系,因此它能独立地承受荷载而维持平衡。当荷载作用于基本部分时,由平衡条件可知,将只有基本部分受力,附属部分不受力。当荷载作用在附属部分上时,则不仅附属部分受力,而且由于它是支承在基本部分上的,其反力将通过铰结点传给基本部分,所以使基本部分也受力。

由基本部分和附属部分的这种传力关系可知,多跨静定梁的计算顺序应该是先计算附属部分,后计算基本部分,也就是说与几何组成的顺序相反。按照这样的顺序计算,则每段梁的计算都与单跨静定梁相同,可以避免求解联立方程,最后将各段梁的内力图连在一起,即可得到多跨静定梁的内力图。

由上述可知,分析多跨静定梁的步骤可归纳如下。

(1)根据几何组成,先确定多跨静定梁的基本部分和附属部分,然后按照附属部分和基本部分的支承关系,画出层次图。

(2)根据层次图,按照先附属部分,后基本部分的原则,依次计算各段梁的反力,包括支座反力和铰结处的约束力。

(3)按照绘制单跨静定梁内力图的方法,分别作出各段梁的内力图,然后再将各部分连在一起,就是多跨静定梁的内力图。

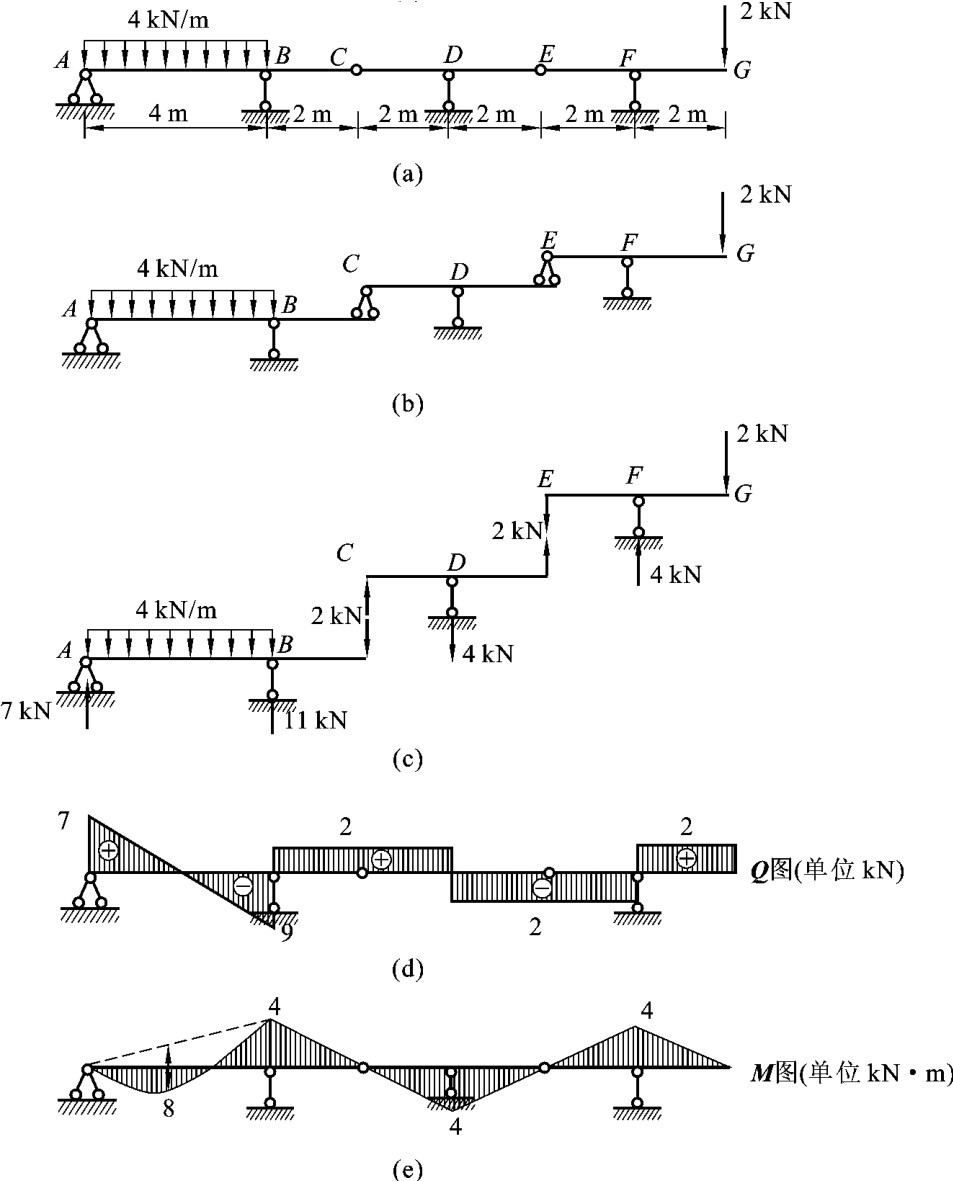
【例3-11】 绘制如图3-25(a)所示的多跨静定梁的内力图。

图3-25

【解】 (1)画层次图。

AC梁有三个支座链杆和地基相连,是基本部分;梁CE固定在梁AC上,是附属部分;梁EG固定在梁CE上,也属于附属部分。其层次图如图3-25(b)所示。

(2)求支座反力。

从层次图中可以看出,整个多跨梁由三个层次构成。在计算时,先计算梁EG,再计算梁CE,最后计算梁AC,各段梁的隔离体如图3-25(c)所示。

由平衡方程∑ME=0,∑Y=0得梁EG的支座反力为

FE=2kN(↓), FF=4kN(↑)

将FE的反作用力F′E作为荷载加在梁CE上的E处,取CE为隔离体,求出梁CE的支座反力为

FC=2kN(↑), FD=4kN(↓)

同理,将FC的反作用力F′C作为荷载加在梁AC上的C处,取AC为隔离体,求出梁AC的支座反力为

FA=7kN(↑), FB=11kN(↑)

(3)绘制内力图。

各段梁的约束反力求出后,可以按照单跨静定梁的内力图分段画出各梁段的剪力图和弯矩图,再将各段梁的内力图连接在一起就得到多跨静定梁的内力图,如图3-25(d)、(e)所示。

【例3-12】 绘制如图3-26(a)所示的多跨静定梁的内力图。

图3-26

【解】 (1)画层次图。

AB梁为基本部分,CF梁虽然只有两根竖向支座链杆与地基相连,但在竖向荷载作用下,仍能够维持平衡,所以在竖向荷载作用下CF梁也是基本部分,而BC梁作为附属部分,层次图如图3-26(b)所示。

(2)求支座反力。

从层次图中可以看出,整个多跨梁由两个层次构成。在计算时,先计算附属部分BC梁,再计算基本部分AB梁和CF梁,各段梁的隔离体如图3-26(c)所示。

梁上的外力均为竖向荷载,由整体平衡条件可知水平反力∑X=0,从而可以知道梁上各铰结处的水平约束力均为0。

由平衡方程∑MB=0,∑Y=0得梁BC的支座反力为

FB=FC=5kN(↑)

将FB和FC的反作用力加到基本部分的相应截面上,其中AB梁除了承受BC梁传来的向下的5kN反力外,还需承受原作用在该截面处的4kN的集中力。各铰结点的约束力和支座反力如图3-26(c)所示。

(3)绘制内力图。

首先绘制弯矩图,从AB梁开始,此段梁为悬臂梁,且没有外力作用,弯矩图为斜直线,A截面弯矩有突变为-18kN·m,而B处为铰,弯矩为0,将以上两点连成直线即可。附属部分BC梁的中点G处有集中力作用,弯矩图会产生尖角,弯矩值大小通过计算为10kN·m,C处同样为铰,弯矩为0,分别用直线连接BG和GC,并将GC延长至活动铰支座D处所在的截面,即得BD段弯矩图。DH段梁同样为斜直线,H截面的弯矩值为-5kN·m,连线即得。最后HE和EF段梁作用有均布荷载,先绘出悬臂部分EF段的弯矩图后,HE段的弯矩图可用叠加法绘制。全梁弯矩图如图3-26(d)所示。

有了弯矩图,剪力图就可根据微分关系或平衡条件求得。对于弯矩图为直线的区段,利用弯矩图的斜率来求得剪力是非常方便的。例如AB段的剪力值为

QAB=-18+0 2 kN=9kN

关于剪力的正负号,可按如下方法判定:若弯矩图是从基线顺时针方向转(以小于90°的转角为基准),则剪力为正,反之为负。所以QAB为正。又例如GD段的剪力值为

QGD=-10+10 4 kN=-5kN

对于弯矩图为曲线的梁段,如果根据弯矩图的切线的斜率来计算剪力并不方便,这时可利用梁段的平衡条件来求梁段的剪力值。例如HE梁段,可取该段梁为隔离体(在截面E作截断),由∑MH=0和∑ME=0可分别求得

QE左=-12-6×2×1+5kN=-9.5kN 2
QH=6×2×1+5-12kN=2.5kN 2

在均布荷载作用的梁段,剪力图为斜直线,所以将以上两点的剪力连成直线即得HE段的剪力图。全梁的剪力图如图3-26(e)所示。

由上述例题可知,如果能熟练地应用弯矩图的形状特征和叠加法,则可先画弯矩图,再画剪力图,对于某些情况,还可以避免求支座反力,可大大减少计算量,提高计算效率。

2.4.3 多跨静定梁的内力特征

图3-27所示为多跨相互独立的系列简支梁及其在均布荷载q作用下的弯矩图。图3-28是和图3-27(a)具有相同跨度、相同荷载作用下的多跨静定梁及其弯矩图。比较两个弯矩图可以看出,系列简支梁的最大弯矩值比多跨静定梁的最大弯矩值要大。这是因为在多跨静定梁中布置了伸臂梁的缘故,它一方面减小了附属部分的跨度,另一方面又使得伸臂梁上的荷载对基本部分产生负弯矩,从而能抵消部分跨中荷载所产生的正弯矩。因此,系列简支梁虽然结构比较简单,但多跨静定梁的承载能力大于系列简支梁,如果是在相同荷载情况下,采用多跨静定梁会更节省材料。

图3-27

图3-28