1
创新方法TRIZ 解读改进补充完善
1.8.2.2.2 7.2.2 功能分析输入输出法的案例分析
7.2.2 功能分析输入输出法的案例分析

下面列举几个应用输入输出法进行功能分析的案例。

案例1:刷牙功能分析输入输出法。

首先画出输入输出框图(图7-3),对输入输出双方的内容提出问题,解决问题,实现创新。

图7-3 刷牙功能分析输入输出框图

针对输入、输出五项提问,产生新的创意,实现创新,产生新的产品(图7-4)。

图7-4 提问产生新的产品

手动——这是刷牙的动力。是否可采用别的动力?自然会想到电动。于是研制了电动牙刷,如图所示。一种是刷头振动式,一种是刷头旋转式。

牙刷——这是每一个人都要用的产品,需求量很大,产品材料、结构都在不断发生变化。最早的刷毛是猪鬃,后来普遍采用尼龙,现在采用竹碳纤维,乃至纳米、稀土、负离子等材料。结构色彩也是五花八门,如不倒翁牙刷,摇摇晃晃,就是不倒。

牙膏——采用组合原理,制成药物牙膏,及各种特殊用途的牙膏;乃至与牙刷组合在一起,把牙膏装进牙刷的手柄中,如图7-4所示。采用逆向思维,刷牙不用牙膏。于是开发出了多种不用牙膏的牙刷。如竹纤维牙刷,具有自清自洁,抑制细菌的功能,省去牙膏。

不用牙膏的纳米稀磁芯片牙刷,具有超强渗透能力,还可迅速瓦解牙垢、牙石,清除口腔异味,并能促进牙齿周边组织血液循环、疏通牙周经络。

负离子牙刷,是采用内置高能电池,利用直流电场所产生的负离子作用,来预防或改善一些口腔疾病的产品。刷柄处是阳极片,刷毛中有负离子材料。

在输出的五项中,除第一项是有用功能外,其余都是有害功能。

如何消除牙刷污染,有人研发了紫外灯牙刷消毒器。竹纤维牙刷,自身就有抑制细菌的功能。

牙刷要经常更换,原有的牙刷就要扔掉。应该扔掉的只是刷头,连刷柄一起扔掉就浪费了材料。于是根据创新原理“分割”,把牙刷分成刷头和刷柄两部分。要换牙刷的时候,把刷头拔下扔掉,再插上一个新刷头。似乎很难见到这样的牙刷产品。

案例2:铅笔刀(图7-5)功能分析输入输出法。

首先画出输入输出框图,输入输出内容要尽可能完善。对输入输出双方的内容提出问题,解决问题,实现创新。

这里首先从输出的三项着手。削好的铅笔是一个基本功能;散落的切屑,污染环境,削好的铅笔断尖,这是两个有害功能,要予以消除。

防止切屑散落:这里有一个技术矛盾或物理矛盾:结构简单,只好切屑落地。

选择创新原理“自服务、借助中介物”。将铅笔刀装进一个容器中——一个中介物,切屑落在容器中,防止了切屑散落在地上(图7-6)。

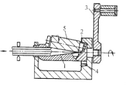
防止断尖:首先要找到断尖的原因。一手拿着铅笔,一手拿着卷笔刀,套在一起转,肯定两者不会在一条直线上。正是两者之间的歪斜发生断尖。所以,要防止断尖,必须将铅笔和卷笔刀固定在一条直线上。铅笔固定了再让它转有点复杂,这里应用“逆向思维”,让刀子转。原来是单一的一个小刀片,效率低。这里借用了金属切削的知识,用圆柱形铣刀削铅笔。如图7-7所示,有一个摇把带着铣刀绕铅笔头旋转切削。铅笔在径向用夹子固定,而在轴向可以连同夹子一起移动,在轴向可以活动。这样,就有弹簧将铅笔拉向铣刀,顶在铣刀上,以供切削,一直到切出整个铅笔头。这就是手摇削铅笔刀的原理(图7-8)。

为了消除断尖这个有害功能,我们创新了一个新产品——手摇削铅笔刀。这里首先要找到断尖的原因,将铅笔和卷笔刀固定在一条直线上,这是关键,其余都好办了。

图7-5 铅笔刀

图7-6 不散落切屑的铅笔刀

图7-7 手摇削铅笔刀

图7-8 手摇铅笔刀原理图

7.2.3功能分析输入输出法的练习

练习1:指甲刀功能分析输入输出法(图7-9)。

画出指甲刀输入输出框图,对输入输出双方的内容提出问题,解决问题,实现创新。

练习2:抽水马桶功能分析输入输出法练习(图7-10)。

练习3:洗衣机系统功能分析输入输出法(图7-11)。

图7-9 指甲刀

图7-10 马桶

图7-11 洗衣机

练习4:报纸功能分析输入输出法(图7-12)。

练习5:锯木头开板功能分析输入输出法练习(图7-13)。

图7-12 报纸

图7-13 木板