1
房屋建筑学(第4版)
1.4.3.1 16.1 单层厂房外墙、侧窗及大门
16.1 单层厂房外墙、侧窗及大门

16.1.1 外墙

(1)外墙的分类和选择

单层厂房的外墙按材料可分为砖墙、砌块墙、板材墙等;按承重方式分为承重墙、自承重墙、框架墙等(图16.1)。

当厂房跨度和高度不大,没有或只有较小的起重运输设备时,一般可采用承重墙(图16.1中A轴的墙),直接承受屋盖与起重运输设备等荷载。 当厂房跨度和高度较大,起重运输设备吨位较大时,通常采用钢筋混凝土排架柱来承受屋盖与起重运输设备等荷载,而外墙只承受自重,仅起围护作用,这类墙称为自承重墙(图16.1中D轴的墙)。 有的高大厂房的上部墙体及厂房高低跨交接处的墙体,多采用架空支承在排架柱上的墙梁(连系梁)来承担,这类墙称为框架墙(图16.1中B轴上部的墙)。 自承重墙是厂房外墙的主要形式。 下面分述单层厂房外墙的构造要点。

图16.1

(2)砌体填充墙

砌体填充墙是指利用砖或砌块填充的非承重墙。 如在单层厂房中填充或悬挂于框架或排架柱间并由框架或排架承受其荷载的外墙,高低跨之间的封闭墙等。 该类墙一般由钢筋混凝土基础梁和连系梁来支承。 基础梁是指由基础支承的柱间墙下梁,而连系梁是指厂房纵向柱列的水平连系构件,设在墙内的又称为墙梁。 墙梁分承重与非承重两种。

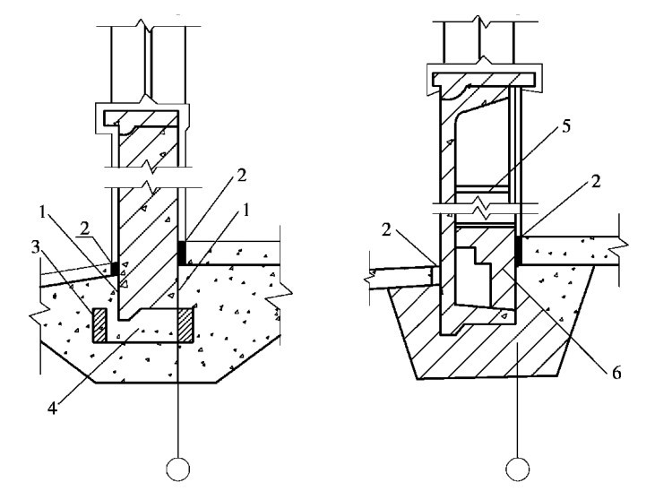
基础梁两端搁置在柱基础的杯口上,将荷载传给基础(图16.2(a))。

基础梁的截面常采用倒梯形(图16.2(b))。 有预应力与非预应力钢筋混凝土两种。 基础梁搁置的构造要求是:

①为满足墙身防潮要求方便开门,基础梁顶面标高应低于室内地坪50mm,比室外地坪高100mm。

②基础梁搁置在杯形基础顶的方式,与基础埋置深度不同。 当基础杯口顶面距室内地坪为500mm时,基础梁可直接搁在杯口上;当基础杯口顶面距室内地坪>500mm时,可设置C15混凝土垫块搁于杯口顶面来供基础梁放置,垫块宽度当墙厚为240mm时其宽为300mm,墙厚为370mm时为400mm;当基础很深时,可设置高杯口基础或在柱上设牛腿来搁置基础梁(图16.3)。

图16.2 基础梁的位置与搁置方式

图16.3

图16.4 基础梁搁置构造要求及防冻胀措施

③基础梁底的回填土一般不需夯实,并应留有不少于100mm的空隙,以利于基础梁随柱基础一起沉降。 在寒冷地区为防因土冻胀致使基础梁上隆而开裂,应在基础下及周围铺一定厚度的砂或炉渣等松散材料,同时在外墙周围做散水(图16.4)。

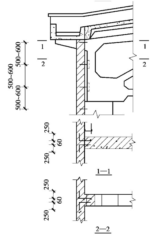
墙支承在基础梁和连系梁上,应把柱当作墙体的可靠支点,使墙与柱有牢固的连接,以增加墙体的稳定性和防止墙体因外部荷载的作用而倾倒。 一般的连接方法是沿柱高度每隔500~600mm预留两根Ф6钢筋(俗称胡子筋),并伸入墙体水平灰缝中,埋入的深度根据墙厚而定,一般不少于120mm,也可将两根由6钢筋焊牢在柱子上的预埋铁件上(图16.5)。

图16.5 砌体外墙与柱的连接

按厂房高度、荷载和地基条件等,需将一道或几道墙梁沿厂房四周串通,一般称为圈梁。其作用是增强厂房结构的整体性,抵抗因地基不均匀沉降或较大振动荷载所引起的变形。 圈梁应尽可能兼作窗过梁用。 圈梁截面常为矩形或L形,可预制或现浇,与柱的连接构造如图16.6所示。

不在墙内的连系梁主要作用是联系柱列以增加厂房的纵向刚度。 一般布置在多跨厂房的中列柱的顶端。

屋架的上弦、下弦或屋面梁可用预埋钢筋拉接墙体;若在屋架腹杆上预埋钢筋不便,可在将预埋钢板上焊接钢筋与墙体拉结(图16.7)。

(3)板材墙

应用板材墙是墙体改革的重要内容。 墙板能利用工业废料制作,有利于生产工业化,加快施工速度,比砖墙质量轻且抗震性能优良。 因此板材将成为我国工业建筑广泛采用的外墙类型之一。 但目前还存在板材的用钢量大,造价偏高,接缝处不严密,时有透风渗水现象,其热工性能尚不理想等问题,亟待研究解决。

1)墙板类型及规格

墙板根据不同的需要作不同的分类。 如按受力状况分为承重墙板和非承重墙板;按热工性分为保温墙板和非保温墙板;按板的规格分为基本板、异形板和补充性构件;按在墙面的位置分为檐下板、一般板、女儿墙、山尖板;按用材分为单一材料和复合材料制作的墙板等。 常用的墙板有单一材料墙板和复合材料墙板(图16.8)。

图16.6 圈梁与柱的连接

图16.7 墙与屋架的连接

图16.8

①单一材料墙板 是采用一种主要材料制作。 如普通混凝土、陶粒混凝土、加气混凝土、膨胀蛭石混凝土、烟灰矿渣混凝土等混凝土材料制作。

a.钢筋混凝土槽形板、空心板 具有耐久性好,有利用工业生产过程中施加预应力,施工方便。 槽形板用钢和水泥量较省等优点,但保温隔热性能差,板面易积灰,故多用于热车间及不需保温的车间等。 空心板的用钢和水泥量较槽形板多,但它两面平整不易积灰,且具有一定的保温隔热能力,故得到较为广泛的应用。

b.配筋轻混凝土板 指采用陶粒混凝土、烟灰矿渣混凝土、各种加气混凝土等配以钢筋制成的墙板。 这类墙板比普通混凝土板和砖墙轻且保温隔热性能好,因有配筋则便于运输、吊装和堆叠放置。 但吸湿性较大,一般需加水泥砂浆等防水面层,有的存在易龟裂或锈蚀钢筋等问题。 适用于对保温或隔热要求较高,以及既要保温又要隔热但湿度不很大的车间。

图16.9

②复合材料墙板 是采用多种高效轻质材料做成的,如一般做成轻质高强的夹心式墙板(图16.9)。 面板可用多种材料制作,如预应力钢筋混凝土薄板、石棉水泥板、一般钢板、不锈钢板、铝板、玻璃钢板等。 夹心层材料可用矿棉毡、玻璃棉毡、泡沫塑料、泡沫橡皮、泡沫玻璃、木丝板、各种蜂窝板等保温隔热的轻质材料,能充分发挥材料的特性,芯层材料具有高效的热工性能,外壳材料有承重、防腐蚀等功能。 复合墙板现存在的问题是:制造工艺较复杂,造价偏高,用作保温时易产生“热桥”等不利情况,有待研究解决。

墙板的规格尺寸系按我国《厂房建筑模数协调标准》(GB/T50006—2010)的规定,并考虑山墙抗风柱的设置情况而编制的,外墙墙板厚度应为技术尺寸(符合建筑功能、工艺技术要求的建筑构配件的截面或厚度在经济上处于最优状态下的最小尺寸数值),宽度和长度应为模数化尺寸(符合模数数列规定的尺寸)。

2)墙板布置

大型墙板布置可分为横向布置、竖向布置和混合布置3种方式。

①墙板横向布置 横向布置的优点是墙板长度和柱距一致,利用柱来作为墙板的支承或悬挂点,竖缝由柱身遮挡,不易渗透风雨;墙板起连系梁与门窗过梁的作用,能增强厂房的纵向刚度;构造简单、连接可靠,板型较少,便于设置窗框板或带形窗等。 缺点是遇穿墙孔洞时,墙板的布置较复杂。 这种布置是目前我国应用较多的一种方式(图16.10(a))。

图16.10 板材外墙布置形式

②墙板竖向布置 竖向布置的优点是不受柱距限制,布置灵活,遇到穿墙孔洞时便于处理。 但目前国内厂房高度尚未定型,墙板的固定需设置连系梁,其构造复杂,竖向板缝多,易渗漏雨水(将板正反扣布置,其竖板垂直缝防水效果较好些)等。 此布置方式现采用不多(图16.10(b))。

③墙板混合布置 混合布置具有横向和竖向布置的优点,布置较为灵活,但板型较多,难以定型化,并且构造较为复杂,因此其应用也受限制(图16.10(c))。

厂房的山墙上形成山尖形,从立面设计要求可做出多种处理方案(图16.11)。 在山尖部分用砖、混凝土块等砌筑,为了立面统一,可抹灰画线,形成墙板的形象。

图16.11 山墙墙板的布置

3)墙板与承重结构的连接构造

①墙板与柱的连接 单层厂房的墙板与排架柱的连接,一般采用柔性连接和刚性连接两种方式。

a.柔性连接。 柔性连接是通过设置预埋铁件和其他辅助件使墙板和排架柱相连接。 柱只承受由墙板传给的水平荷载,而墙板的质量不加给柱子是由基础梁或勒脚墙板承担。

柔性连接适用于地基构成不均匀、沉降较大或有较大振动影响的厂房,目前自承重墙较多采用此方式。

墙板的柔性连接构造形式较多,其中最简单的为螺栓连接和压条连接两种做法(图16.12):螺栓连接是在水平方向用螺栓、挂钩等辅助件拉接固定,在垂直方向每3~4块板由焊于柱上的钢支托支承。 这种连接构造使墙板与柱在一定范围内相对独立位移,能较好地适应振动(包括地震)引起的变形。 但厂房的纵向刚度差,安装固定要求准确,较费工、费钢材。 压条连接是在墙板外加压条,与焊于柱上的螺栓墙板和柱压紧拉牢。 压条连接适用于对预埋件有锈蚀作用或裹力较差的墙板,如粉煤灰硅酸盐泥混凝土板,加气混凝土板等。 其优点是墙板中不需另设预埋铁件,构造简单,省钢材,压条封盖后的竖密封性好。 其缺点是螺栓的焊接或膨胀螺栓质量要求高,施工较复杂,安装时墙板要求在一个水平面上,预留要求准确等。

b.刚性连接。 刚性连接是在柱子和墙板中先分别设置预埋铁件,安装时用角钢或Ф16的钢筋焊接连牢(图16.13)。 其优点是构造简单、施工方便,厂房的纵向刚度好。 缺点是对不均匀沉降及振动较敏感,墙板板面要求平整,预埋件位置要求准确。 刚性连接只用于地震设防烈度≤7度的地区和地基构成均匀、振动影响不大的厂房。

②墙板板缝的处理 墙板能起防风雨、保温、隔热的功能作用,除板材自身要具有满足这些功能要求外,还需做好板缝的处理。

图16.12 墙板与柱的柔性连接

图16.13 刚性连接构造示例

板缝的处理应满足防风雨、保温隔热、便于制作、施工方便、坚固耐久、经济美观等要求。因此,板缝宜采用构造措施防风雨,用砂浆勾缝或选用防水材料堵塞板缝。 对防水要求较高的,可将上两种方法结合使用。 对吸水率大的轻骨料混凝土墙板,在板接合处应预刷防水涂料。 对要求保温的墙板,要用有保温性能的材料填充,并应作双面嵌缝。 为避免毛细管作用引起渗漏,嵌缝材料不可将整个板缝填满,应留有空腔。 对有振动较大成沉降不均匀的厂房,嵌缝应参考表16.1,选用弹性较好的材料嵌填。

板缝可以做成各种形式。 水平缝有平口缝、高低错口缝、企口缝等。 企口缝的处理方式较好。 但从制作施工以及防雨水的重力和风力渗透等考虑,错口缝较为理想,一般多为采用。 水平板缝形式及缝的处理如图如16.14所示。 垂直板缝可做成直缝、喇叭缝、单腔缝、双腔缝等形式。 垂直板缝的处理如图16.15所示。 在墙板变形缝处,通常采用22号镀锌铁皮盖缝,其构造如图16.16所示。 在降雨量较大的地区,墙板垂直缝两侧板面上,应根据制作条件设阻水凹槽或阻水边坎,如图16.17所示。

表16.1

图16.14

图16.15 垂直缝形式

图16.16 变形缝盖缝形式

图16.17 板边阻水构造示例

4)特殊部位的构造

①檐口部位 板材墙的檐口可以采用挑檐板、檐沟板或女儿墙等构造形式(图16.18)。当采用女儿墙墙板时,需加强连接,做到安全可靠,利于抗震。 女儿墙上的压顶板板缝应与墙板缝错开布置,并做抹灰。 在地震区,女儿墙高度≤500 mm,其压顶板最好是现浇钢筋混凝土。

图16.18 板材墙檐口连接

②勒脚部位 单层厂房勒脚采用墙板时,其所用板型及承重结构的连接方式,基本上同墙身主要部分墙板(图16.19)。 如采用轻混凝土墙板做勒脚时,应注意作好防潮防腐处理。 勒脚也可用砖或砌块砌筑。

③转角与山墙墙板的连接 转角与山墙墙板的布置与连接有多种方式,设计时需作比较,力求与墙面主要部分统一协调,墙板类型少,安装方便,支承和连接可靠。 山墙与厂房承重柱间的空隙常用附加柱填充,也可在厂房承重柱上设钢支托和水平承压杆支承。 对山墙转角处墙板,一般是将山墙加长,如为使山墙边板也使用标准板,则另加补充转角构件,它与标准板之间要用铁件相连接。 补充构件也可用砖、砌块或现浇混凝土等替代(图16.20)。

图16.19 勒脚墙板建筑构造

图16.20 山墙墙板的连接

④厂房高低跨交接处墙板的构造 在单层厂房高低跨交接处,墙板的连接构造有多种方式(图16.21)。

图16.21 高低跨处墙板构造

⑤墙板上侧窗与门洞 为节约木材,侧窗一般应采用钢窗。 钢窗铁脚与墙板的连接,最好先在墙板上预埋铁件,然后沿窗洞口焊上通长钢板供与钢窗铁脚相接。 也可专作窗框板,将窗扇直接安装在窗框内(图16.22和图16.23)。

图16.22

图16.23

对板材墙中开设门洞部分,根据洞口尺寸采用异形板、补充构件或作局部现浇。 在振动影响不大的厂房门洞,也可采用局部砌砖(图16.24)。

图16.24 门洞部分的墙板处理

(4)轻质板材墙

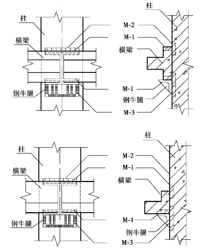
对不要求保温、隔热的热加工车间、防爆车间等的外墙,可采用石棉水泥板、瓦楞铁皮、塑料墙板、铝合金板以及夹层玻璃墙板等。 这类墙板仅起围护作用,除传递水平风荷载外,不承受其他荷载,其本身重量也由厂房骨架来承受。 目前多采用的是波纹石棉水泥瓦,它通常悬挂在柱间的预制钢筋混凝土横梁上。 横梁两端是置于柱子的钢牛腿上,并通过预埋件与柱子焊接牢固。 横梁的间距应与波纹石棉水泥瓦的长度相适应。 横梁与瓦板可采用螺栓与铁卡连接(图16.25和图16.26)。

图16.25

图16.26

(5)开敞式外墙

我国南方地区,一些热加工车间为获得良好的自然通风散热效果,常采用开敞式外墙。 即下部设矮墙,上部开敞口设挡雨遮阳板(图16.27)。

挡雨遮阳板每排之间的间距,与当地飘雨角度、日照以及通风等因素有关,设计时应结合车间对防雨的要求而定。 一般飘雨角取45°,对风雨较大的地区可酌情减小角度(图16.28)。

图16.27

图16.28

图16.29

挡雨遮阳板常用的有:

1)石棉水泥瓦挡雨遮阳板

石棉水泥瓦挡雨遮阳板由钢支架、钢檩条、中波石棉水泥瓦板和防溅板组成。钢支架与柱上预埋铁件连接。它质量轻、施工简便、拆装灵活,但瓦脆易损坏,适用于一般热加工车间(图16.29)。

2)钢筋混凝土挡雨遮阳板

钢筋混凝土挡雨遮阳板分为有支架和无支架两种。

①有支架型 一般采用钢筋混凝土支架,上设钢筋混凝土板。 支架与柱、支架与板均通过预埋件焊接固定,适用于高温车间(图16.30)。

②无支架型 板放于柱之间,板与柱通过角钢与预埋件焊接固定。 用料省、构造简单,但因板长受柱截面尺寸影响,故规格类型较多。 适用于高温车间(图16.31)。

图16.30

图16.31

16.1.2 侧窗

单层厂房的侧窗一般均为单层窗。 但在寒冷地区的采暖车间,当室内外计算温差≥35℃时,则在距地3m内设置双层窗。 若生产工艺有特殊要求,如恒温恒湿、洁净车间等,则宜全部采用双层窗。

对侧窗的要求是:①洞口尺寸的数列,应符合建筑模数协调标准的规定,以利于窗的标准化和定型化;②构造要求坚固耐久、接缝严密、开关灵活、节省材料、降低造价。

(1)侧窗的特点

①侧窗的面积大。 一般以吊车梁为界,其上部的小窗为高侧窗,下部的大窗为低侧窗。

②大面积的侧窗因通风的需要,多采用组合式。 一般平开窗位于下部,接近工作面;中悬窗位于上部;固定窗位于中部。 在同一横向高度内,应采用相同的开关方式。

③侧窗的尺寸应符合模数。 洞口宽度一般在900~6000 mm之间,当洞口宽度小于2400mm时,取300mm的倍数;大于2400mm时,取600m的倍数。 洞口高度一般在900~4800mm之间,当洞口高度为1200~4800mm时,取600mm的倍数。

(2)侧窗的类型及构造

1)木侧窗

木侧窗施工方便,取材较易,造价较低,但耗木量大,易变形,防火及耐久性差,常用于盛产木材地区和中、小型及辅助车间,一些具腐蚀金属如电镀车间等也常采用,但不宜用于高湿、高温或木材易腐蚀的车间。

工业厂房木侧窗的组成及构造要求与民用建筑木窗基本相同。 因厂房侧窗面积较大,窗料截面也相应增大。 又因厂房对采光通风的要求,常采用由多种开启方式组合而成的组合窗。

①木侧窗的拼框组合 在我国现行木侧窗标准图集中,洞口大于3600mm×3600mm的侧窗。 均由两个基本窗拼框组成。 拼接采用ϕ10螺栓或ϕ6木螺栓、中距1000mm将两个窗框连接起来。 用螺栓连接时,应在两框间加垫木,框间缝隙嵌入沥青麻丝,缝隙内外两侧有木盖缝条(图16.32)。

图16.32 木窗拼框构造

②靠框式中悬木侧窗 中悬窗采用较多,有进框式和靠框式两种。 进框式构造简单,密闭性较好,但受潮变形会影响开启;靠框式关闭后其下冒头靠在横档或下框上(图16.33),因此防雨、排水效果好,当窗扇发生变形时也不影响开关,因而目前多采用。 但靠框式用料较多,密闭性较差,故对有保温和防风沙要求的厂房不宜采用。

图16.33 靠框式中悬木窗构造

2)钢侧窗

钢侧窗具有坚固耐久、防火耐潮、关闭严密、透光率大、易进行工业化生产等优点,现在工业厂房广为采用。

①窗料 工业建筑中使用的实腹钢窗料一般为32mm。 当窗面积较大时,则采用40mm窗料。 空腹薄壁钢窗料有25mm×36mm京66型和27.5mm×37mm沪88型两种,其质量轻、抗扭强度高,但因壁薄,不宜用于有酸碱介质侵蚀和湿度较大的车间。

②基本窗和组合窗 大面积钢侧窗是由若干基本窗拼装组成。 为便于制作和运输,基本窗的尺寸一般不宜大于1800mm×2400mm(宽×高)。 组合时,横向拼接时相邻窗框间需加竖梃;竖向拼接时上下窗框间需加横档(图16.34和图16.35)。 若组合窗的面积特大时,还需在适当位置增设立柱和横梁,以加强其整体刚度。

图16.34 钢窗拼框构造

图16.35 钢窗横档、竖梃安装

基本窗可开启的钢窗扇尺寸不宜过大,以免因刚度不足而扭曲变形。 一般可开启的窗扇尺寸不宜大于表16.2中所列数字。

表16.2 钢窗开启扇最大尺寸(宽×高,mm)

注:用40mm钢窗料特制的钢立旋窗窗扇尺寸可达900mm×3000mm。

③节点构造 钢窗料截面上的各种凸凹形状,是为使相应窗料互相配合,保证接缝严密,加强刚度和便于拼装、安设(图16.36)。

图16.36 钢窗料的连接

钢窗框与窗洞四周墙体的连接,一般是在墙上预留50mm×50mm×100mm的洞。 把鱼尾铁脚一端插入洞内,用1∶2水泥砂浆或C15细石混凝土填实;另一端用螺栓与窗框固定。 每边第一只铁脚位置距框边180mm,其余等分(中距约500mm)。 若周边墙体不便预留洞时(如墙体为大型墙板或窗顶为钢筋混凝土过梁等),则需按铁脚位置在墙体或过梁上预埋铁件,安装时用连接件与窗框焊接(图16.37)。 窗框固定后,窗框四周与窗洞间空隙须用1∶2水泥砂浆填实,以免透风渗水。

图16.37 钢窗框与四周墙体的固定

3)钢筋混凝土侧窗

钢筋混凝土侧窗目前主要用作固定窗,也有在上设部分钢或木窗扇。 一般窗框用C20混凝土制作,内配2ϕ6钢筋,用8号镀锌铁丝作系筋(图16.38)。

组合窗以单向组合为宜。 横向组合时,一般在相邻框预留对应拼装孔中插ϕ6短筋,然后用1∶2水泥砂浆填实锚固,若组合窗宽度大于3600mm时,需加设预制钢筋混凝土小柱作竖梃。 竖向组合时,一般用预制钢筋混凝土T形拼条作横档;若组合窗宽度大于3600mm时,需用钢筋混凝土过梁来作横档,以保证刚度。

图16.38 钢筋混凝土侧窗

经使用检验,这类窗基本上可满足使用上的要求,特别是配合大型墙板,按墙板规格设计成条形窗或带窗的墙板,效果良好。 这类窗目前主要缺点是开扇与钢筋混凝土窗框的接缝不够严密,逢风雨大时,易渗水透风。

4)垂直旋转通风板窗

垂直旋转通风板窗主要用于需散发大量热量、烟灰和无密闭要求的高温车间。 制作材料有钢丝网水泥、钢筋混凝土和金属板等,其中以钢丝网水泥通风板窗采用较多。

通风板窗扇是用M40水泥砂浆内配ϕ0.9钢丝网及ϕ3冷拔钢丝骨架采用点焊连接,用定型模板捣制成型。 其窗扇的基本宽度为910mm,窗扇间横向招缝长度为10mm,因而窗扇的标志尺寸是900mm。 其组合宽度有2700mm,3600mm,4500mm,5400mm及10800mm这5种;窗洞口高度有1800mm,2100mm,2400mm,2700mm和3000mm这5种。

该类窗为无框结构,通风板窗扇中心上下两端设磨圆的主轴钢筋,上部套入由钢管或钢板组成的转轴座,下部插入钢插销板的中心孔内。 钢插销板上设有不同开启角度的孔洞,使用时根据风向,利用插销和不同的插销孔位,使其与墙面分别形成0°,45°,90°和135°的夹角(图16.39)。

5)其他类型侧窗

①密闭窗 密闭窗适用于有防尘、保温、隔声等要求的车间,窗要能密闭,首先应尽量减少窗中的缝隙,必须减少窗面积和开启扇,使缝隙达到最少;其次应作好窗扇的密闭处理,可用橡皮条、泡沫乳胶条或毡呢条等粘贴或钉窗扇与窗框之间的缝隙处,玻璃与窗框的连接可用橡皮条或增加油膏等措施来满足密闭的要求。 密闭窗多采用双层玻璃窗或双层中空玻璃窗,以保证密闭的效果(图16.40)。

图16.39 钢丝网水泥垂直旋转通风板窗

图16.40 密闭窗节点构造

②百叶窗 百叶窗主要起通风作用。 它可用金属、木材、钢筋混凝土等材料制作。 形式有固定和活动两种,单层厂房多采用固定式百叶窗。 百叶呈45°或60°以利于通风、挡雨及遮阳。为防止鸟、虫和鼠等小动物进入车间引发事故,一般在百叶窗后加设一层钢丝网或窗纱。 对有遮光要求的,可将百叶做成折线形,并将其涂暗色,使之既通风又遮光。

③固定式通风高侧窗 有些厂房需满足常年通风的要求,可将位于厂房高处的侧窗设计成固定式的通风窗。 其构造类型较多,可将窗扇垂直错开布置形成通风口;也可将钢筋混凝土窗扇做成倾斜的固定窗扇;或者局部做成钢筋混凝土窗页,既能满足采光、通风、防雨的要求,又可不设开关器,构造简单、造价经济、管理方便。

16.1.3 大门

厂房仓库和车库的大门主要作生产运输及人流通行、疏散之用。 门的外形尺寸及质量都比较大、构造复杂。 设计时应根据使用要求、材料种类、制作条件等进行合理选择。

(1)大门洞口尺寸

单层厂房的大门,一般洞口尺寸应比通过的满载货物车辆的轮廓尺寸加宽600~1000mm,加高400~500mm,同时,还应符合建筑模数协调标准的规定,以300mm为扩大模数进级,以减少大门类型,便于采用标准构配件。

目前,单层厂房常用的运输车辆有以下4种类型(图16.41)。 常采用的洞口尺寸为:

①通行电瓶车的大门门洞 宽×高为2100mm×2400mm,2400mm×2400mm。

②通行轻、中型卡车的常用大门门洞 宽×高为3000mm×3000 mm,3000 mm× 3300mm,3300mm×3000mm,3300mm×3600mm。

③通行重型载重卡车的常用大门门洞 宽×高为3600mm×3600mm,3600mm× 4200mm。

④通行火车的常用大门洞口 宽×高为4200mm×5100mm,4500mm×5400mm。

图16.41

(2)厂房大门的主要特点

①厂房的门扇大于门框,门框一般由钢筋混凝土制成。

②厂房大门供货物出入,大门上常附设的小门供行人出入。

③门扇与门框的连接采用特制的铰链。

④一组门框与门扇,一般由骨架和面板组成,很少有单一材料的门。

(3)大门的类型

工业厂房大门的类型较多。

①按用途分有一般大门和特殊大门两类。 特殊大门是根据生产工艺的特殊要求设计的,如保温门、冷藏门、防火门、隔声门、防风沙门、烘干室门、射线防护门等。

②按材料分有木门、钢板门、钢木门、铝合金门、空腹薄壁钢板门等。

③按开启方式分有平开门、推拉门、平开折叠门、推拉折叠门、上翻门、升降门、偏心门、卷帘门、光电控制门等(图16.42)。

a.平开门。 平开门在单层厂房中采用最多,其构造简单,开关方便。 通常门是向外开启的,门上需设置雨篷以保护门扇和方便出入。 平开大门均设两门扇,大门门扇上可开设一扇供人通行的小门,作大门关闭时工作人员进出用。

b.推拉门。 推拉门在单层厂房中采用较多。 推拉门的开关是通过滑轮,门扇沿导轨向左右推拉而成。 推拉门门扇受力状态好,构造简单,不易变形。 推拉门一般设两个门扇,它们各沿专用导轨推行。 因柱子影响,推拉门设在室外墙侧,因此,应设足够宽和长的雨篷加以保护。推拉门密闭性较差,故不宜用于有密闭要求较高的车间。

图16.42 常见开启厂房大门的形式

c.平开折叠门。 大门门洞较宽,为减小门扇宽度和占地面积,将宽大的平开门扇改做成数扇,改做的门扇之间用铰链连接,这样可自由水平折叠开启,使用较灵活方便。 关闭时分别用插锚固定,以防门扇变形和保证大门的刚度。

d.推拉折叠门。 推拉折叠门是将推拉门门扇一分为二,边扇仍是推拉式,另一扇用铰链挂在边扇上。 开门时先平开挂扇并固定在连扇上后,再推拉边扇。 这比推拉门灵活方便,但构造复杂。

e.空腹薄壁钢折叠门。 折叠门可由几个较窄的门扇相互间用铰链连成一体,门洞上下均设导轨,开启时门扇沿导轨左右推开,门扇折叠到一起。 其壁较薄、较方便,占用空间较少,应注意保养与维护,适用于较大的门洞,但不适用于有腐蚀性介质的车间。

f.上翻门。 上翻门开启后整个门扇翻到门过梁下面,不占车间使用面积。 它开后不受厂房柱子影响,可避免大风及车辆造成门扇的损坏。 上翻门按导轨的形式和门扇的形式分为重锤直轨吊杆上翻门、弹簧横杠杆上翻门和重锤直轨折叠上翻门。

g.卷帘门。 卷帘门的页板是由薄钢板或铝合金冲压成型,开启时由门上部的转轴将帘板卷起。 卷帘门有手动和电动开启型,电动型卷帘门需配有停电时可用手动开启的备用设施。卷帘门构造较复杂,造价较高,一般用于车库、非频繁开启的高大门洞。

h.升降门。 升降门系门扇沿导轨向上作开启,若门洞高时沿水平方向将门扇分段,它不占车间使用空间,只要求在门洞上部留有足够的上升高度。 升降门有电动和手动开启式,一般宜用电动式,升降门适用于较高大的大型厂房。

(4)大门的构造

工业厂房的大门一般均有国家标准图供选用。 现仅介绍单层厂房多采用的平开式门和推拉式门与民用建筑不同的构造做法,对其他较常用的门只作简单介绍。

1)平开大门的构造

厂房的平开大门同样是由门框、门扇与五金配件等组成。 门扇有木制、钢板制、钢木混合制等,当门扇面积大于5m2时,宜采用钢木混合或钢板制作(图16.43)。

①门扇由骨架和面板构成。 除木门外,骨架常用型钢制成。 由于门扇面积大,为防止门扇变形,在钢骨架上应加设角钢的横撑和交叉支撑,木骨架应加设三角铁,以增强门扇刚度。 木门及钢木门的门扇一般用15mm厚的木材作门芯板,用螺栓与骨架结合;钢板门则用1~1.5mm厚的钢板作门芯板。 为防风沙,在门扇下缘及门扇与门框、门扇与门扇之间的缝隙处加设橡皮条。

②门框由上框和边框构成。 有的上框利用门顶的钢筋混凝土过梁兼作。 过梁一般均带有雨篷,而篷外挑长度一般为900mm,雨篷宽度一般比门洞每边宽出370~500mm。 边框有钢筋混凝土和砖砌两种。 当门洞宽度大于2400mm时,应作钢筋混凝土门框,便于固定门铰链及保护墙角。 边框与墙体应有拉筋连接,并在铰链位置预埋铁件。 当门洞宽度小于2400mm且两边为砌体墙时,可不作钢筋混凝土边框,但应在铁链位置处设预制混凝土块砌于墙上,预制块需设有与砌体的拉接筋和与铰链焊接的预埋铁件。 钢木大门构造如图16.44所示。

2)推拉门的构造

推拉门同民用建筑的推拉门相同,仍是由门扇、上导轨、滑轮、下导轨和门框组成。 但门扇可采用钢木门扇、钢板门扇和空腹薄壁钢板门等。 门框为钢筋混凝土。 厂房中一般多用上挂式推拉门,当门扇高度大于4m、质量较大时则宜采用下滑式。

上挂式推拉门的上轨和滑轮是使门扇能推拉的重要构件,因此,必须坚固耐用、滚动灵活、需常检修,滑轮装置有单轮、双轮或四轮,单轮制作简单,双轮或四轮虽制作复杂但不易卡滞脱轨,可根据门的大小及要求选用,为防门扇脱轨,导轨端头需设门挡。 下部导向装置有凹式、凸式和导饼轨道。 目前多采用铸铁制的导饼,它高出地面20mm,间距为300~900mm。 上挂式推拉门构造如图16.45所示。

图16.43 钢筋混凝土门框与平开门五金零件

(5)其他类型大门的构造

1)折叠门

折叠门由门扇、上导轨、滑轮、吊挂螺栓、下导轨、导向铰链、门铰和门框组成。 门扇一般为钢板制作。 其上导轨、滑轮装置及构造与推拉门相似;边扇则和平开门一样,用铰链与门框固定,但在门扇下需设一条固定于地面的下轨道,使门扇下缘的导向铰链沿轨移动。 为使门扇开启后能全部平靠门洞两侧,则上、下轨道需与门洞所在墙面有一夹角。 侧悬折叠空腹钢门构造如图16.46所示。

图16.44 钢木门大门构造

图16.45 上挂式推拉门构造

2)卷帘门

卷帘门由卷帘板、导轨、卷筒和开关装置等组成。 门扇为1.5mm厚带钢轧成的帘板,板间用铆钉连接。 为保其坚固耐久,门扇下部采用10mm厚钢板,并附设橡皮条以防风沙。

电动式卷帘门的传动装置有电动机、减速器、托轮和卷筒等。 另在减速器处应配置手动开启装置,以用作停电时使用。 电动卷帘门构造如图16.47所示。

图16.46 倒悬折叠钢门构造

图16.47 电动式钢卷帘门构造

3)上翻门

上翻门由门扇、平衡锤、滑轮、导轮、导向滑轮及门框等组成。 门扇可用钢板、空腹薄壁钢板以及钢木等材料制作。 门扇骨架用冷轧带钢高频焊管制成。 拉杆为ϕ22钢管,其一端固定于轨道上,另一端固定于门扇的骨架上。 两侧垂直轨道用槽钢制作,为减轻平衡锤重,设有减重导向滑轮组。 重锤直轨拉杆式钢木上翻门构造如图16.48所示。

图16.48 重锤直轨拉杆式钢木上翻门构造