1
房屋建筑学(第4版)
1.4.2.3 15.3 基础
15.3 基础

基础是厂房的重要构件之一。 基础承担着厂房上部结构的全部质量,并传送到地基。 故基础起着承上传下的重要作用。

15.3.1 基础的类型、特点及适用条件(表15.2)

表15.2 基础类型表

基础类型的选择主要取决于建筑物上部结构荷载的性质和大小、工程地质条件等。 单层厂房一般常采用钢筋混凝土基础:①当上部荷载不大,地基土质较均匀,承载力较大时,柱下多采用独立的环形基础;②当荷载轴向大而弯矩小,且施工技术好,其他条件同上时,也可采用独立的壳体基础;③当上部结构荷载较大,而地基承载力较小,柱下如用杯形基础,由于底面积过大,会使相邻基础之间的距离较近,因此可采用条形基础。 这种基础刚度大,能调整纵向柱列的不均匀沉降情况;④当地基的持力层离地表较深,地基表层土松软或为冻土地基,且上部荷载又较大,对地基的变形限制较严时,可考虑采用桩基础等。

15.3.2 独立式基础构造

单层厂房一般是采用预制装配式钢筋混凝土排架结构,厂房的柱距与跨度较大,故厂房的基础多采用独立式基础。 独立式基础与柱的连接构造因柱采用现浇式或预制式的不同而不同。

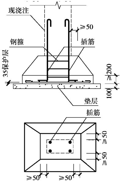
(1)现浇柱基础

当基础上的柱现浇时,基础一般也采用现浇。 当柱与基础不在同一时间内施工时,需在基础顶面留出插筋,以便与柱子连接。 插筋的数量与柱的纵向受力钢筋相同,插筋伸出长度按柱的受力情况、钢筋规格及接头方式(如焊接或绑扎接头)的不同而确定(图15.10)。

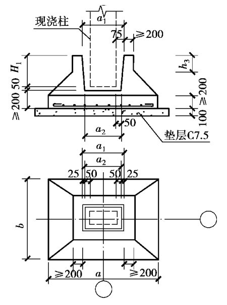
(2)杯形基础

杯形基础是在天然地基上浅埋的预制钢筋混凝土柱下独立式基础,也是工业厂房中应用较为广泛的基础形式(图15.11)。

基础的上部呈杯口状,便于预制柱插入杯口加以固定。 浇筑基础采用的混凝土标号不低于C15,钢筋采用Ⅰ级或Ⅱ级,为施工方便和保护钢筋,在基础底部采用C7.5混凝土垫层100mm厚。 为便于柱的安装,杯口尺寸比柱截面尺寸略大,杯口顶大75mm,杯口底大50mm,杯口深度应满足锚固长度的要求。 杯口底面与柱底面间应预留50mm找平层,在柱吊装就位前用高标号细石混凝土找平,将杯口内表面凿毛糙,杯口与柱子四周缝隙采用C20细石混凝土填实。

基础杯口底板厚度一般应≥200mm,基础杯壁厚度应≥200mm,基础杯口顶面标高至少应低于室内地坪500mm。

杯形基础节省模板、施工方便,适用于地质均匀、地基承载能力较好的各类工业厂房。 当厂房地形起伏大,局部地质条件变化大或相邻的设备大,基础埋置较深等原因,要求部分基础埋置深些,为使预制柱的长度统一,便于施工,可在局部地方采用高杯口基础(图15.12)。

图15.10 现浇柱下基础

图15.11 预制柱下杯形基础

图15.12 高杯口基础

15.3.3 柱基础与设备基础、地坑的关系

有些车间内靠柱边有设备基础或地坑,当基槽在柱基础施工完成后才开挖时,为防止施工滑坡而扰动柱基础的地基土层致使沉降过大,应使设备基础或地坑移动保持一定的距离(图15.13)。 如设备基础或地坑的位置不能移动时,则可将柱基础做成高杯口基础。

图15.13 设备基础与柱基础接近时的处理