1
房屋建筑学(第4版)
1.4.1.4 14.4 单层厂房剖面设计
14.4 单层厂房剖面设计

剖面设计是厂房建筑设计的一个组成部分,是在工艺设计的基础上,主要解决建筑空间如何满足生产工艺的各项要求。

剖面设计应满足以下要求:①适应生产需要的足够空间;②良好的采光和通风条件;③屋面排水;④经济合理的结构方案;⑤为提高建筑工业化创造条件。

14.4.1 厂房高度的确定

单层厂房的高度是指厂房室内地坪到屋顶承重结构下表面之间的距离。 在一般情况下,它与柱顶距地面的高度基本相等。 因此常以柱顶标高来衡量厂房的高度,屋顶承重结构是倾斜的,其计量点应算到屋顶承重结构的最低点。 柱子长度仍应满足模数协调标准的要求。

(1)柱顶高度的确定

①无吊车厂房的柱顶标高,通常指最大生产设备及其使用、安装、检修时所需的净空高度。一般不低于3.9m,以保证室内最小空间,以及满足采光、通风的要求,柱顶高度应符合300mm的整倍数,若为砖石结构承重,柱顶高度应为100mm的倍数。

②有吊车厂房的柱顶标高由7项组成(图14.31)。

柱顶标高 H=H1+H2

轨顶标高 H1=h1+h2+h3+h4+h5

轨顶至柱顶高度 H2=h6+h7

式中 h1——需跨越最大设备,室内分隔墙或检修所需的高度;

h2——起吊物与跨越物间的安全距离,一般为400~500mm;

h3——被吊物体的最大高度;

h4——吊索最小高度,根据加工件大小而定,一般大于1000mm;

h5——吊钩至轨顶面的最小距离,由吊车规格表中查得;

h6——吊车梁轨顶至小车顶面的净空尺寸,由吊车规格表中查得;

h7——屋架下弦至小车顶面之间的安全间隙。此值应保证屋架产生最大挠度以及厂房地基可能产生的不均匀沉陷时,吊车能正常运行。 国家标准《通用桥式起重机界限尺寸》中根据吊车起重量大小将h7分别定为300mm,400mm,500mm。如屋架下弦悬挂有管线等其他设施时,还需另加必要尺寸。

《厂房建筑模数协调标准》(GB/T50006—2010)中规定,钢筋混凝土结构的柱顶标高应符合300mm数列确定,轨顶标高按600mm数列确定,牛腿标高也按300mm数列确定。 柱子埋入地下部分也需满足模数化要求。

在平行多跨厂房中,由于各跨和吊车不同,厂房高低不齐(图14.32),这样在高低跨错落处需增设牛腿、墙垛、女儿墙、泛水等,使构件类型增多,结构和构造复杂,施工麻烦。 若两跨间高差相差不大时,将低跨标高升至高跨的标高,虽然增加了材料,但使结构构造简单,便于施工,是比较经济的。

图14.31 厂房高度的组成

图14.32 高低垮处的处理

在模数协调标准中规定:“在工艺有高低要求的多跨厂房中,当高差值不大于1.2m时,不宜设置高度差,在不采暖的多跨厂房中高跨一侧仅有一个低跨,且高差不大于1.8m时,也不宜设置高度差。”因此,剖面设计中应尽量采用平行等高跨。

(2)剖面空间的利用

厂房高度对造价有直接的影响。 在确定厂房高度时,应在不影响生产要求的前提下,有效地节约并利用空间,使柱顶标高降低,从而降低建筑造价。

①利用屋架之间的空间 如图14.33所示是铸铁车间砂处理工段纵剖面图,混砂设备高度为11.8m,在不影响吊车运行的前提下,把高大的设备布置在两榀屋架之间,利用屋顶空间起到缩短柱子长度的作用。

②利用地下空间 如图14.34所示表示变压器修理车间工段剖面图,如把需要修理的变压器放在低于室内地坪的地坑内,也可起到缩短柱子长度的作用。

图14.33 利用屋架间空间布置设备

图14.34 某厂房变压器修理工段剖面图

(3)室内外地坪标高(图14.35)

单层厂房室内地坪的标高,由厂区总平面设计确定,其相对标高定为±0.000。

一般单层厂房室内外需设置一定的高差,以防止雨水浸入室内,同时为便于汽车等运输工具通行,室内外高差宜小,一般取100~150mm。 应在大门处设置坡道,其坡度不宜过大。

当厂房内地坪有两个以上不同的地坪面时,主要地坪面的标高为±0.000(图14.35)。

图14.35 厂房的室内外地坪标高

1—大件造型;2—熔化;3—炉料;4—小件造型

14.4.2 天然采光

白天,室内通过窗口取得天然光进行照明的方式称为天然采光。 采光设计就是根据室内生产对采光的要求来确定窗口大小、形式及其布置,保证室内采光强度、均匀度及避免眩眼。采光面积的多少是根据采光的要求,按采光系数的标准值进行计算。

(1)天然采光的基本要求

1)满足采光系数最低值的要求

室内工作面应有一定的光线,光线的强弱是用“照度”(即单位面积上所接受的光通量)来衡量的。 由于室外天然光线变化,室内的照度也随之而变化。 因此,不能用这个随时变化的照度值来表示室内某点的采光情况,而是用室内外照度的相对值表示,即室内工作面上某一点的照度En与同一时刻室外全云天水平面上天然光照度Ew的百分比称为室内某点的采光系数C(图14.36)。

图14.36 采光系数值的确定

式中 En——室内工作面上某点照度(lx);

Ew——同一时刻室外全云天地面上的天空扩散照射下的照度(lx)。

在采光设计中,以此不变的采光系数作为厂房采光设计的标准。

在单层厂房天然采光设计中,为满足车间内部有良好的视觉工作条件,生产车间工作面上的采光系数最低值不应低于《建筑采光设计标准》GB50033—2013中规定的数据(表14.2)。

表14.2 工业建筑的采光标准值

工作面上采光系数是否满足设计要求,应选择厂房的典型剖面工作面上采光最不利点进行检验。 工作面一般距地面为1m高的水平面。 在横剖面上进行验证,连接各点采光系数值则形成采光曲线,它反映该剖面的采光情况(图14.37)。

2)满足采光均匀度的要求

采光均匀度是指假定工作面上的采光系数最低值与平均值的比值,要求工作面上各处的照度均匀,不出现过于明亮或阴暗的情况,以免视力疲劳而影响操作。 《建筑采光设计标准》GB50033—2013中规定:“当为顶部采光时,I—Ⅳ采光等级的采光均匀度不宜小于0.7,即相邻两天窗中线间的距离不宜大于参考平面至天窗下沿高度的1.5倍”(图14.38)。

图14.37 采光曲线示意

图14.38 相邻两天窗间的距离

(2)采光面积的确定

采光面积一般根据采光、通风、立面设计等综合因素来确定,首先大致确定窗面积,然后根据厂房对采光的要求进行校核,验证是否符合采光标准值。 采光计算方法很多,由于一般厂房对采光要求不很精确,可按《建筑采光设计标准》GB50033—2013推荐的方法——窗地面积比和采光有效进深(表14.3)估算窗面积。

表14.3 窗地面积比和采光有效进深

注:①窗地面积比计算条件:窗的总透射比τ取0.6;室内各表面材料反射比的加权平均值:Ⅰ~Ⅲ级取ρj=0.5;Ⅳ级取ρj=0.4;Ⅴ级取ρj=0.3。

②顶部采光指平天窗采光,锯齿天窗和矩形天窗可分别按平天窗的1.5倍和2倍窗地面积比进行估算。

(3)采光方式及布置

为了取得天然光,在建筑物外围护(外墙和屋顶)上开设各种形式的洞口,并安装玻璃等透光材料,形成采光口。

1)采光方式

按采光口在外围护结构上不同的位置分为3种方式(图14.39):

①侧窗采光(图14.39(a)、(b)、(c)) 它可分为单侧采光和双侧采光两种方式。 当房间较窄时,采用单侧采光,它的光线不均匀。 单侧采光的有效进深约为侧窗口上沿至工作面高度的两倍,如图14.40所示。 若进深增大,超过了单侧采光的有效范围,则需采用双侧采光或人工照明等方式。

图14.39 单层厂房天窗采光方式

图14.40 单侧采光光线衰减示意

由于侧面采光的方向性强,故布置侧窗时,要避免可能产生的遮挡。 在有桥式吊车的厂房中,吊车梁处不必开设侧窗,就把外墙上的侧窗分为上下两段,形成高低侧窗。高侧窗投光远,光线均匀,能提高远窗点的采光效果;低侧窗投光近,对近窗点采光有利,两者的有机结合,解决了较宽厂房采光的问题。

高侧窗窗台宜高于吊车梁面约600mm,低侧窗窗台高度一般应略高于工作面高度。 工作面高度一般取1.0m左右(图14.41)。 在设计多跨厂房时,可以利用厂房高低差来开设高侧窗,使厂房的采光均匀(图14.42)。

图14.41 吊车梁遮挡光线与高低侧窗的位置关系

图14.42 利用高低差处设高侧窗的厂房剖面

②顶部采光(图14.39(d)、(f)、(g)、(h)、(i)) 当厂房是连续多跨,中间跨无法从侧窗满足工作上的照度要求时,或侧墙上由于某种原因不能开窗采光时,可在屋顶处设置天窗(图14.43),顶部采光易使室内获得较均匀的照度,采光率也比侧窗高。 但它的结构与构造复杂,造价也比侧窗采光的形式高。

③混合采光(图14.39(c)) 在多跨厂中,一般边跨利用侧窗,中间跨利用天窗的综合方法。

图14.43 单层厂房顶部采光示意

2)采光天窗的形式

采光天窗的形式有矩形、梯形、M形、锯齿形、下沉式、三角形、平天窗等,最常采用的是矩形、锯齿形、下沉式和平天窗4种。

①矩形天窗(图14.39(d)、图14.44) 其采光特点与侧窗采光类似,具有中等照度;若天窗扇朝向南北,室内光线均匀,可减少直射阳光进入室内,窗关闭时,积尘少,且易于防水;窗扇开启时,可兼起通风作用。 但矩形天窗的构件类型多,结构复杂,抗震性能较差。

为了获得良好的采光效果,合适的天窗宽度等于厂房跨度的(1/2~1/3),且两天窗的边缘距离应大于相邻天窗高度和的1.5倍(图14.44)。 天窗的高宽比宜为0.3左右,不宜大于0.45,因为天窗过高会降低工作面上的照度。

②锯齿形天窗 是将厂房屋盖做成锯齿形,在两齿之间的垂直面上设窗扇,构成单面顶部采光,如图14.45所示。 这种窗口常采用向北或接近北向,无直射阳光进入室内,室内光线均匀稳定,同时倾斜天棚的反射光线增加了室内的照度,因此采光效率比矩形天窗高。 窗扇开启时,能兼起通风的作用。 锯齿天窗多适用于要调节温湿度的厂房,如纺织厂、印染厂、精密车间等。

图14.44 矩形天窗

图14.45 锯齿形天窗

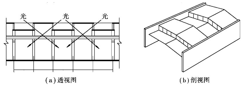
③横向下沉式天窗 是将相邻柱距的屋面板上下交错布置在屋架的上下弦上,通过屋面板位置的高差作采光口而形成的(图14.46)。 该天窗的特点:①布置灵活;②降低建筑高度,简化结构,造价约为矩形天窗的62%,而采光效率与纵向矩形天窗相近;③窗扇形成受屋架限制,构造复杂,厂房纵向刚度差。 它多适用于东西向的冷加工车间(天窗朝南向北)。 同时,排气路线短捷,可开设较大面积的通风口,因此通风量较大,也适用于热车间。

④平天窗 是直接在屋面板上设置接近水平的采光口而形成的(图14.47)。 其特点是:由于平天窗的玻璃接近水平面,故采光率高。 在采光面积相同的条件下,平天窗的照度约为矩形天窗的2.3倍;平天窗构造简单、布置灵活、施工方便、造价低(为矩形天窗的1/3~1/4);但由于玻璃的热阻小、寒冷地区玻璃易结露,形成水滴下落,影响使用;平天窗通风较差;玻璃破碎易伤人,故平天窗在工业建筑中未得到广泛采用。

图14.46 横向下沉式天窗

图14.47 平天窗布置示意图

L—跨度;1—平天窗

14.4.3 自然通风

在厂房设计中,良好的工作环境不仅要有适宜的天然光线,还应有清洁的空气和正常的气温条件,为此,要处理好通风问题。

单层厂房室内通风换气方式有两种:

①自然通风 是利用自然力作为空气流动的动力将新鲜空气引入室内,把较高温度的空气和污浊的空气排至室外。 有利于改善室内小气候,不过自然通风的效果常受到地区气候、四周环境、建筑物高度及间距等因素的影响,因此,通风效果不稳定。 但是,为了经济,建筑设计应尽量采用自然通风。

②机械通风 是采用专门的机械设备作为动力来形成厂房内部空气流动,达到通风、降温的目的,机械通风稳定有效,但需消耗大量的电能,因此不经济。 建筑设计应根据厂房生产要求及投资多少确定是否采用机械通风。

(1)自然通风的基本原理

单层厂房自然通风是利用空气的热压和风压作用进行的。

1)空气的热压作用

当厂房内部各种热源(如工业炉、机械加工生产的热量),使室内空气温度提高,体积膨胀,容重变小而自然上升。 室外冷空气温度相对较低,容重较大,从围护结构的外墙下部门窗洞口进入室内。进入室内的冷空气又被热源加热,变轻上升,自然从上部窗口排出,如此循环形成空气对流与交换,达到通风的目的。 这种由于热源作用,造成室内外温度差而产生空气压力差进行通风的方式称为热压通风。 如图14.48所示是设矩形天窗的单层厂房热压通风示意图。

图14.48 热压通风原理示意图

热压大小按下列公式计算:

ρ=H(γ·γ

式中 ρ——热压,kg/m2

H——进风口中心线至排风口中心线的垂直距离,m;

γ——室外空气容重,kg/m3

γ——室内空气容重,kg/m3

从该式看出:热压值的大小与上、下进排风口中心线的垂直距离和室内外空气容重差成正比。 因此在无天窗的厂房中,应尽可能提高高侧窗的位置、降低低侧窗的位置,以增加进、排风口的高差,进行热压通风,而中侧窗可采用固定窗或便于开关的中悬窗。

2)空气的风压作用

当风吹向房屋迎风面墙壁时,由于气流受阻,速度变慢,迎风面的空气压力增大,超过大气压力,此区域称为正风压,背风面的空气压力,小于大气压力称为负压(图14.49)。 在正压区设进风口,而在负压区设置排风口,使室内外空气进行交换。 这种由于风压的作用而产生的空气压力差进行通风的方式称为风压通风(图14.50)。

图14.49 风绕房屋流动时压力状况示意

图14.50 风压通风示意

在剖面设计中,根据自然通风的原理,正确布置进、排风口的位置,合理组织气流,使室内达到通风换气及降温的目的。 应当指出,为了增大厂房内部的通风量,应考虑主导风向的影响,特别是夏季主导风向的影响。

(2)厂房的自然通风

1)冷加工车间的自然通风

利用门窗可满足室内换气要求,因室内外温差小,在剖面设计中,应合理布置进出风口的位置,还应组织好穿堂风。 实践证明,限制厂房宽度,并使长轴垂直夏季主导风向,在外侧墙上设窗,在纵横贯通的通道端部设门,均对通风有利。

2)热加工车间的自然通风

热加工车间散发出大量的余热有害气体和烟尘,影响正常的工作。 因此在剖面设计中,应合理设置进出风口,有效地组织好自然通风,以提高通风效果。

3)进排气口设置(图14.51)

南方地区窗台可低至0.4~0.6m,或不设窗扇而采用下部敞口进气,天窗排气。 寒冷地区,进排气口均应设置窗扇。 侧窗开启方式有上悬、中悬、平开和立转4种(图14.52)。

图14.51 寒冷地区低侧窗进风口位置

图14.52 侧窗开启方式

根据热压通风原理,排气口的位置应尽可能高,一般设在柱顶处,或靠近檐口一带(图14.50)。若没有天窗时排气口多设在靠屋脊一带(图14.50)或直接设在发热量大的设备上方以便让气流排出路线短捷(图14.53(c))。

图14.53 排气口的布置

(3)通风天窗的类型

多跨或单跨热车间,仅靠高侧窗通风换气是不够的,一般都应在屋顶上设天窗。 剖面设计中以通风为主的天窗称为通风天窗。 通风天窗常见的有矩形通风天窗、下沉式通风天窗两种。

1)矩形通风天窗(或避风天窗)

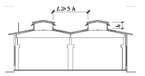
热车间的自然通风是在风压和热压的共同作用下进行的。 其空气对流出现3种状态(图14.54):①当风压小于热压时,背风面和迎风面的排气口均可排气(图14.54(a));②当风压等于热压时,迎风面的排气口停止排气,只能靠背风面的窗口排气(图14.54(b));③当风压大于热压时,迎风面的排风口不但不能排气,反而出现风倒灌的现象(图14.54(c)),阻碍室内空气的热压排风。 这时如果关闭迎风面排风口,打开背风面的排风口,则背风面排风口也能排气。 但风向是不断变化的,要适应风向的变化关闭排风口是困难的。 要防止迎风面对室内排气口产生的不良影响,最有效的措施是在迎面距离排风口一定的位置设置挡风板,无论风从哪个方向吹来,均可使排风口始终处于负压区。 负压区是风受阻时越过阻碍物,在阻碍物的背风面形成的区域。 由风动实验知,负压区的有效距离L应不超过阻碍物高度的5倍,即L≤5h (图14.55)。 故在剖面设计中,距迎风面L≤5h处的风口设置挡风板,则可使排风口处在负压区而稳定排气。 设有挡风板的矩形天窗称为矩形通风天窗或避风天窗(图14.56)。

图14.54 热压风压共同作用下的气流状况示意图

图14.55 风绕过阻碍物后产生负压区的范围

图14.56 矩形避风天窗

在无风时,厂房内部靠热压通风;有风时,风速越大,则负压区绝对值越大,排风量也大。 挡风板至矩形天窗的距离等于排风口高度的1.1~1.5倍为宜。

当厂方的剖面形式为平行等高跨时,两跨的矩形天窗排风口之间水平间距小于或等于天窗高度h的5倍时,两天窗互起挡风板的作用,则可不设挡风板(图14.57),因该区域的风压始终为负压。

图14.57 天窗互起遮挡板作用

2)下沉式通风天窗

在屋顶结构中,部分屋面板铺在屋架上、下弦上,利用屋架上下弦之间的高差空间构成在任何风向下均处于负压区的排风口,这样的天窗称为下沉式通风天窗。 它与矩形通风天窗相比,省去了挡风板和天窗架,降低了厂房的高度(约4.5m),从而减轻了屋盖、柱子及基础的荷载;同时减少了风载,有利于抗震。 但它的屋架上、下弦受扭,屋面排水处理复杂,且室内有种压抑的感觉。 下沉式通风天窗,根据下沉部位的不同有以下3种形式:

①井式通风天窗 每隔一个或几个柱距将部分屋面板设置在屋架下弦上,使屋面上形成一个个“井”式天窗。 处在屋顶中部的称为中井式天窗(图14.58(a)),设在边部的称为边井式天窗(图14.58(b))。 这类天窗由于井口有三面或四面可以通风,排气量大,因此通风效果优于矩形通风天窗。

②纵向下沉式通风天窗 是将跨间一部分屋面板沿厂房整个纵向(两端易留一个柱距)设置在屋架下弦上,根据屋面板下沉位置的不同,分为两侧下沉、中间下沉及中间双下沉3种(图14.59)。 其中中间双下沉式的采光通风效果最好,适用于散热量大的大跨高温车间,如大型玻璃熔窑冶炼车间等。

图14.58 井式天窗布置方法

图14.59 纵向下沉式天窗

③横向下沉式通风天窗 是将相邻一个或几个柱距的整跨屋面板全部搁置在屋架下弦上所形成的天窗(图14.46)。 其采光均匀,排气路线短,通风量大,适用于对采光与通风均有要求的热加工车间和朝向是东西向的冷加工车间。

以上3种下沉式通风天窗的共同特点是布置灵活、通风效果好。

(4)开敞式厂房

炎热地区的热加工车间,为了利用穿堂风促进厂房通风与换气,除采用通风天窗以外,外墙不设窗扇而采用挡雨板,形成开敞式厂房。 这种形式的厂房通风量大、气流阻力小、散热快、构造简单、施工方便;但防寒、防雨、防风沙的能力差,尤其是风速大时,通风不稳定。 按开敞部位不同,可分成4种形式(图14.60)。

图14.60 开敞式厂房形式

①全开敞式厂房 开敞面积大,通风、散热、排烟快。

②上开敞式厂房 可避免冬天冷空气直接吹向工作面,但风速大时,易出现倒灌现象。

③下开敞式厂房 排气量大且稳定,可避免倒灌,但冬天冷空气吹向工作面,影响工人操作。

④单侧开敞式厂房 有一定的通风和排烟效果。

设计开敞式厂房时,应根据厂房的生产特点、设备布置、当地风向及气候等因素综合考虑选用形式。

(5)合理布置热源

热源布置得恰当,对于热加工厂房的通风降温起重要作用。

①用穿堂风的风向,热源应布置在复杂主导风向的下风向。

②有天窗时,利用热压为主的自然通风,热源应布置在天窗口的下部;下沉式天窗,热源应与下沉底板错开布置。

③多跨厂房中,利用冷热跨间隔布置,且用轻质吊墙(距地3m左右)分隔两者,以便组织通风(图14.61)。

图14.61 冷热跨间隔布置

1—轻质吊墙;2—工业炉

④连续多跨均为热跨时,可将跨间分离布置,以便缩短进排气口的路径(图14.62)。

图14.62 将跨间分离布置

14.4.4 屋面排水方式及其他问题

(1)屋面排水方式

屋顶的形式与排水做法关系密切。 屋面排水方式有无组织排水和有组织排水两种(图14.63)。

①无组织排水 构造简单、造价低、施工方便,适用于降雨量小的地区,檐口较低的单层式多跨厂房的边跨(图14.63(a))。

②有组织排水 屋面的雨水经过设置在屋顶上的天沟、水斗及水落管,有组织地汇聚排至地下网管,其构造复杂,造价高(图14.63(b))。

图14.63 屋面排水方式

1—天沟;2—雨水管;3—地下排水面网

(2)屋面排水对屋顶形式的影响

在多跨厂房中,为及时排除雨水,常把屋顶做成天沟多脊双坡形式(图14.64(a)),其坡度在1/5~1/12,但由于水斗及水落管易堵塞,天沟积水,导致屋面渗漏。 这对有特殊生产工艺要求的厂房带来不便,如炼钢车间、铸工车间和面粉加工厂等。 因此,国内外现将多脊双坡屋顶改做成少沟无沟的长坡屋面(图14.64(b)),或双轴屋顶形式(图14.65),它避免了有组织的沟排水,减少了排水设施,更重要的是能保证生产的正常运行,因此热加工车间不宜采用内排水。

图14.64 屋面排水方案比较

图14.65 某炼钢厂屋面排水

长坡屋面采用新型的屋面防水材料(长尺压型钢板)和油毡屋面可使其坡度做到小于5%。 此时屋面平缓,水流速度慢,绿豆砂保护层稳定,施工质量容易得到保证。

(3)其他问题

在剖面设计中还应考虑保温与隔热问题。 屋顶的保温和墙体的保温均对剖面有一定的影响,当室内各部分有不同的室温时,宜用隔墙分开。

在夏季炎热地区,如果厂房面积不大,屋盖和墙面都应考虑隔热措施。 当屋顶面积大于墙面时,其隔热重点应放在屋顶上,其主要措施是降低屋顶内表面温度,以减少对室内的辐射。