1
房屋建筑学(第4版)
1.3.11.5 11.5 节能门窗与构造
11.5 节能门窗与构造

建筑外窗是建筑保温的薄弱环节,我国则更为严重。 例如我国严寒地区和寒冷地区住宅窗传热系数为发达国家的2~4倍。 又以我国严寒地区住宅为例,在整个采暖期内通过窗与阳台门的传热和冷风渗透所引起的热损失,占房屋总能耗的48%以上。 所以门窗节能是建筑节能的重点,节能门窗是门窗设计中的重要课题。 节能门窗与墙体连接的构造图如图11.22—图11.25所示。

图11.22 用钢附框与墙体的连接

图11.23 门窗与轻质墙体的连接

图11.24 门窗与钢结构墙体的连接

图11.25 门窗与砖墙和混凝土墙体的连接

11.5.1 门窗节能的基本方法

通过门窗所造成的热损失有两个途径:一是通过门窗面热传导、辐射和对流;二是通过门窗各种缝隙的冷风渗透。 因此门窗节能应从这两方面采取措施。

(1)合理地缩小窗口面积

在《严寒和寒冷地区居住建筑节能设计标准》(JGJ26—2010)中已规定了我国北方住宅建筑窗墙的面积比。 缩小门窗口面积意味着扩大墙面,而墙面的保温性能均比门窗好。

(2)增强窗(门)面的保温性能

我国建筑保温窗按其保温性能(以传热系数为例),共分10个等级。 表11.3是建筑外窗保温性能分级。 表11.4是常用窗热工参考指标。

表11.3 建筑外窗保温性能分级[传热系数K/(W·m-2·K-1)]

表11.4 常用窗热工参考指标和相应的保温性能分级

续表

从节能考虑,我国各采暖地区外窗保温性能,在上述节能设计标准中均有具体规定。 窗扇保温性能可以通过增加窗扇层数和增加玻璃层数,以及采用特种玻璃,如中空玻璃、吸热玻璃、反射玻璃等措施达到。

(3)切断热桥

木材和塑料的导热系数很小(木材λ=0.17W/(m·K),塑料λ=0.14W/(m·K)),而钢和铝的导热系数很高(钢λ=58.2,铝合金λ=230W/(m·K))。 故在寒冷地区木窗和塑料窗可以设计为单层扇双层玻璃,而普通的铝合金窗不利于寒冷地区使用。 但可以采用钢塑复合窗,以及绝缘型铝合金窗,以求改善。 绝缘型铝合金窗是将单一材料的铝合金窗用杆件,改用铝合金和硬塑料两种型材复合而成的复合型杆件,从而切断了整体铝合金杆件的热桥作用。

(4)缩减缝长

窗(门)有大量缝隙,缝隙是冷风渗透之源,以严寒地区传统的保温住宅窗为例,其各种接缝的总长度达34m。 采用大窗扇减少小扇,扩大单块玻璃面积减少窗芯,合理地减少可开扇的面积或适当增加固定玻璃(或扇)面积,均可在一定程度上缩减缝隙总长度。

(5)有效的密封和密闭措施

根据我国《建筑外门窗气密、水密、抗风压性能分级及检测方法》GB/T7106—2008标准的规定,建筑外门窗气密性能分级共分为8级,采用在标准状态下,压力差为10Pa时的单位开启缝长空气渗透量q1和单位面积空气渗透量q2位分级指标,具体见表11.5《严寒和寒冷地区居住建筑节能设计标准》(JGJ26—2010)规定,严寒地区外窗及敞开式阳台门的气密性等级不应低于国家标准《建筑外门窗气密、水密、抗风压性能分级及检测方法》GB/T7106—2008中规定的6级。 寒冷地区1~6层的外窗及敞开式阳台门的气密性等级不应低于国家标准《建筑外门窗气密、水密、抗风压性能分级及检测方法》GB/T7106—2008中规定的4级,7层及7层以上不应低于6级。 因此,节能窗设计必须采取缝隙的密封和密闭措施,以保证节能效益。

表11.5 建筑外门窗气密性能分级表

框与墙间的缝隙密封应采用发泡聚氨酯、闭孔泡沫塑料、发泡聚苯乙烯等弹性材料分层填塞,填塞不宜过紧。 对于保温、隔声等级要求较高的工程,应采用相应的隔热、隔声材料填塞。框与扇间的密闭可用橡胶、橡塑或泡沫密闭条,以及高低缝、回风槽等。 扇与扇之间的密闭可用密闭条、高低缝及缝外压条等。 扇与玻璃之间的,密封可用密封膏、各种弹性压条和油灰等。

11.5.2 节能窗

(1)塑料窗

塑料门窗是以聚氯乙烯、改性聚氯乙烯或其他树脂为主要原料,轻质碳酸钙为填料,添加适量助剂和改性剂,经挤压机挤出成各种截面的空腹门窗异型材,再根据不同的品种规格选用不同截面异型材料组装而成。 由于塑料的变形大、刚度差,一般在空腔内加入木条或型钢,以增加抗弯曲能力。 塑料门窗比木窗和金属门窗的隔热保温性能好,导热系数低。 这是由于塑料门窗的型材是中空异型材,消除了金属门窗的“热桥”现象。

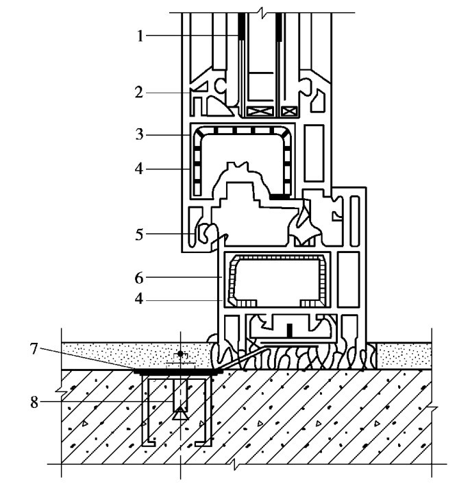
塑料门窗线条清晰,造型美观,表面光洁细腻,不但具有良好的装饰性,而且有良好的隔热性和密封性。 其气密性为木窗的3倍,铝窗的1.5倍;隔声效果比铝窗高30d B以上。 同时塑料本身具有耐腐蚀等性能,不用涂涂料,可节约施工时间及费用,因此在国外发展很快,在建筑上得到大量应用。 塑料门窗安装节点如图11.26所示。

图11.26 塑料门窗安装节点示意图

1—玻璃;2—玻璃压条;3—内扇;4—内钢衬;5—密封条;6—外框;7—地脚;8—膨胀螺栓

(2)玻纤增强聚氨酯节能门窗

纤增强聚氨酯节能门窗(以下简称聚氨酯节能门窗)是由聚氨酯/玻璃纤维复合材料拉挤门窗型材为门窗框扇的主要受力杆件,采用系统化的组窗工艺,经五金配件组装成门窗框架,再配置中空玻璃加工而成的新一代节能门窗产品。

聚氨酯/玻璃纤维复合材料拉挤门窗型材是将连续的玻璃纤维粗纱浸渍混合好的聚氨酯胶液后在拉挤成型机组牵引力的作用下,经加工固化成型的新一代门窗型材。

聚氨酯型材以及其他传统门窗型材相比,其力学性能、热工性能优于相同断面的断桥铝合金型材,而且性价比较高。 其整窗传热系数根据玻璃配置的不同,从2.8W/(m2·K)到0.9W/(m2·K),属于新型建筑节能门窗。