1
房屋建筑学(第4版)
1.3.11.4 11.4 铝合金门窗
11.4 铝合金门窗

铝合金门窗是表面处理过的铝材经下料、打孔、铣槽、攻丝等加工,制作成门窗的构件,然后与连接件、密封件、开闭五金件一起组合装配成门窗(如图11.20所示)。

门窗安装时将门窗框在抹灰前立于门窗洞处,与墙内预埋件对正,然后用木楔将三边固定。 经检验确定门窗框水平、垂直、无挠曲后,用射钉枪将射钉打入墙或柱、梁上,将连接件与框固定在墙(柱、梁)上。

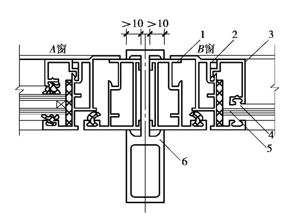
图11.20 铝合金门窗组合方法示意图

1—外框;2—内扇;3—压条;4—橡胶条;5—玻璃;6—组合杆件

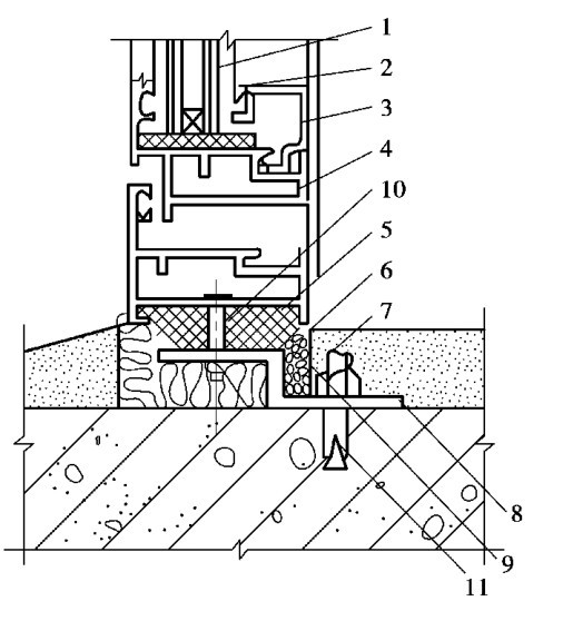
图11.21 铝合金门窗安装节点及缝隙处理示意图

1—玻璃;2—橡胶条;3—压条;4—内扇;5—外框;6—密封膏;7—砂浆;8—地脚;9—软填料;10—塑料垫;11—膨胀螺栓

门窗框固定好后,门窗框与门洞四周的缝隙,一般采用软质保温材料填塞,如泡沫塑料条、泡沫聚氨酯条、矿棉毡条和玻璃丝毡条等,分层填实,外表留5~8mm深的槽口用密封膏密封。 这种做法主要是为了防止门窗框四周形成冷热交换区产生结露而影响防寒、防风的正常功能和墙体的寿命,也影响了建筑物的隔声、保温等功能,同时避免了门窗框直接与混凝土、水泥砂浆接触,消除了碱对门窗框的腐蚀。

铝合金门窗装入洞口应横平竖直,外框与洞口应弹性连接牢固,不得将门窗外框直接埋入墙体。 主要原因是防止碱对门窗框的腐蚀,如图11.21所示为铝合金门窗安装节点。