1
房屋建筑学(第4版)
1.3.11.3 11.3 平开木门构造
11.3 平开木门构造

11.3.1 木门的组成与一般尺寸

门主要由门框、门扇、亮窗、五金和其他附件组成。 如图11.15所示是平开木门和各部分名称。

图11.15 平开木门和各部分名称

门的具体尺寸应综合考虑以下几方面因素:

①使用:人的尺度和人流量,搬运家具、设备所要的高度尺寸,手拿肩扛所要的高度尺寸,以及有无特殊需要。 如正厅前的外门往往由于美观及造型需要,考虑加高、加宽门的尺度。

②符合门洞口尺寸系列:与窗的尺寸一样,应遵守国家标准《建筑门窗洞口尺寸协调要求》(GB/T30591—2014)。 门洞口尺寸以门洞口标志尺寸表示,常用的标准门洞口应符合表11.2的规定。

表11.2 常用的标准规格门洞口的标志尺寸系列(mm)

对于外门,在不影响使用的条件下,应符合节能原则,特别是住宅的门不应随意扩大尺寸。总之门的尺寸主要是根据使用功能和洞口标准确定。

一般房间门的洞口宽度最小为900 mm,厨房、厕所等辅助房间门洞的宽度最小为700mm。 门洞口高度除卫生间、厕所可为1800mm之外,均不应小于2000mm。 门洞口高度大于2400mm时,应设上亮窗。 门洞较窄可开一扇,1200~1800mm的门洞,应开双扇。 大于2000mm时,则应开三扇或多扇。

11.3.2 门框

门框由边框、上框、中横框等组成,多扇门还要增设中竖框。 有时根据需要可设下框、贴脸板等附件。 根据门洞高度和采光、比例的需要而设的上亮窗常可以开关,可采用上悬、中悬或平开方式。

(1)门框的安装

门框的安装和窗框相同,分有先立口和后塞口两种施工法。 成品门安装多采用后塞口法施工。

(2)门框与墙的关系,门框的断面形状和尺寸

门框在门洞中的安装位置,以及门框与墙之间的周定、密封等与窗框相似,但应更牢固。内门和南方的外门常不设下框,以免影响行走。 不设下框的门在安装时,应在下框处设临时支撑,以保证左右两边框的相对位置。

常用木门框的断面形状和尺寸如图11.16所示。 框上做裁口增强严密性。 单层门为单裁口,双层门为双裁口,裁口深度为10~12mm。 木门框背面也应做防止变形的凹槽,并作防腐处理,做灰口。 外门还应填塞防风的弹性密封材料。

图11.16 常用木门框的断面形状和参考尺寸

11.3.3 门扇

民用建筑常用门有镶板门、镶玻璃门、夹板门、弹簧门等。

(1)镶板门、镶玻璃门

构造与其相近的还有纱门、百叶门。 由边框、上中下梃组成骨架,内镶门芯板或玻璃,构造简单。 镶板可用木板、胶合板、玻璃或门纱、百叶等(如图11.17所示)。

图11.17 镶板门构造

门扇的边梃和上梃用料相同(40~50)mm×(75~120)mm。 中梃稍小(40~50)mm× (75~100)mm。 下梃承重和受冲击的机会多,宽度较大(40~50)mm×(170~200)mm。 外门为了加强下梃部位的抗冲击破坏,有在其外侧加设铜、铝合金等金属面板的做法。 木门和玻璃门门芯板要求坚固些,而纱门属于轻型门,用料可以小些。

(2)夹板门

夹板门的小断面骨架两侧粘贴各种薄型面材组成,如胶合板、塑料面层胶合板,或其他表面经过特种工艺加工(如图11.18所示)。 夹板门由于轻型骨架和面板共同参与受力,所以用料小、节省材料、重量轻、外形简洁、便于工业化生产。 但不如镶板门坚固,主要用于内门。

夹板门也可以在上半部开设局部窗口,镶以玻璃,或在下半部开设百叶成为百叶夹板门。在镶嵌门锁和门拉手位置应通过局部填木块来加强。

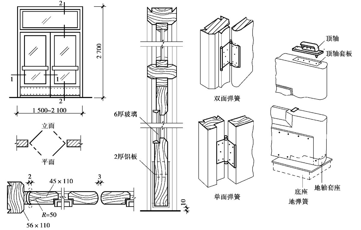
(3)弹簧门

弹簧门是利用弹簧合页控制门扇的随时关闭。 单向弹簧门与普通平开门相同,只是合页不同。 双向弹簧门为了门扇双向自由开关,门框不需要裁口,或可做成与门扇侧边相对应的弧形对缝。 双扇弹簧门的中缝也应做成圆弧形,以免门扇互相碰撞,并可缩小缝隙。 地弹簧门的弹簧合页设在地面内和门框的上框上,而门扇的构造与双面弹簧门相同。 如图11.19所示是弹簧门的局部构造。

门用五金配件除部分与窗用五金配件相似,规格尺寸稍大,形式稍有不同外,主要还有门锁等,品种较多,市场均有成品出售。

图11.18 夹板门构造

图11.19 弹簧门的局部构造

在大型的和标准较高的公共建筑中,有采用全玻璃门扇用于主要出入口的。 玻璃扇不但简洁、清爽、美观、完全透明视线无阻挡,而且构造简单。 玻璃门扇用厚约20mm的玻璃,拉手、合页直接安装在门玻璃上。