1
房屋建筑学(第4版)
1.3.10.5 10.5 坡屋顶构造
10.5 坡屋顶构造

坡屋顶是我们的一种传统结构形式,在一般和大型建筑中得到广泛运用。

10.5.1 坡屋顶的组成

由承重结构和屋面两部分组成。 根据需要还设有辅助层,如顶棚、保温层、隔热层等。

(1)承重结构

一般由椽子、檩条、屋架等组成,其作用是承受屋面荷载并传递到墙或柱上。

(2)屋面

一般由屋面盖料及基层(如挂瓦条、屋面板等)组成,其作用是遮挡风雨、冻冰、太阳辐射等大自然气候的作用。

(3)顶棚

美化室内空间,增强光线反射,起到保温隔热和装饰作用。

(4)保温隔热层

根据建筑物使用功能的要求,可设置屋面层或顶棚层。

10.5.2 坡屋顶承重结构

坡屋顶承重结构一般可分为桁架结构、梁架结构和空间结构。 我国坡屋面主要采用桁架结构,故本节以桁架结构为主讲述。 桁架多为三角形屋架,檩条纵向搁置在屋架上或小开间时直接搁置在内、外横墙上,使檩条和屋架组成屋面承重结构。 搁置檩条的横墙称为山墙。 我国民间建筑多采用由柱梁、木枋构成的梁架结构,此种结构又称为穿斗结构或立贴式结构。 如图10.24所示。

图10.24 瓦屋面的承重结构体系

(1)檩条的布置及类型

檩条亦称桁条,是屋面支承梁。 檩条的布置与屋面板的厚薄或椽子的截面尺寸有关。 当檩条上直接铺设屋面板时,其间距为500~700mm;当屋面板与檩条之间设置椽子时,其间距可适当放大1000mm左右。 檩条一般有木檩,断面形状有圆形或方形,其跨度在4m以内,圆檩直径约为100~130mm,方檩约(70~100)mm×(200~250)mm。 采用木檩要做好防腐处理,在端头涂沥青,且搁置点下设混凝土垫块,还预制钢筋混凝土和钢檩条,其跨度在4m左右,最大可达6m,钢筋混凝土檩条断面有矩形、T形和L形等,尺寸由结构设计确定。 如图10.25所示。 为在檩条上固定屋面基层,常在檩条面上设置木条,其断面为梯形,尺寸为40~50mm对开。 在现代坡屋顶建筑中,还有一种无檩体系。 是将屋面板直接搁置在屋架或山墙上,而瓦屋面主要起防水和造型装饰作用。

图10.25 檩条的类型

(2)承檩结构形式

1)山墙承檩

当房屋开间小时,将内外横墙砌成尖顶形状,其上直接搁置檩条以承载屋顶重量。 称山墙承重或硬山搁檩。

2)屋架承檩

当房屋为大开间时,需设置屋架,一般为三角形。 屋架通常搁置在房屋纵向外墙上或柱上。 屋架的间距与檩条跨度必须相同,等距离排列,檩条两端搁置在屋架上。 当屋架跨度一般不超过12m时,可采用木屋架;不超过18m时,可采用钢木组合屋架;超过18m时,宜采用钢筋混凝土屋架或钢屋架。 常用屋架形式如图10.26所示。

图10.26 屋架形式

10.5.3 坡屋顶屋面构造

坡屋顶屋面组成前面已述。 盖料种类有机平瓦、小青瓦、筒瓦、石棉水泥瓦、玻璃钢瓦等,而基层的构造层次则随盖料和质量要求的不同而定。

(1)机平瓦屋面

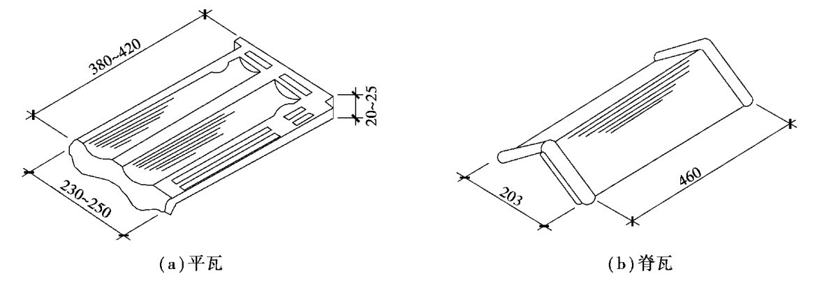
机平瓦即黏土瓦,有平瓦和脊瓦两种。 脊瓦用于屋脊部分,尺寸形状如图10.27所示。 由机平瓦利用瓦上的榫,槽互相搭扣密合,接缝过多。 为避免雨水倒灌,机平瓦屋面坡度不宜小于1∶2(约26°),多雨地区还应加大。

图10.27 机制平瓦

机平瓦屋面构造做法:

根据使用要求不同,有冷摊瓦屋面、屋面板(木或混凝土板)瓦屋面,纤维板(或芦席)瓦屋面等。 冷滩瓦屋面仅适用于临时性用房,如图10.28所示,本节不再讲解。

基层为屋面板的瓦屋面有木屋面板和钢筋混凝土屋面板两类。

1)木屋面板瓦屋面

也称木望板瓦屋面。 其构造做法是:先在檩条上铺钉厚度为15~20mm木板,根据需要可采用拼缝搭接密铺或留缝铺设。 然后木板上干铺一层油毡,油毡必须平行于屋脊由下向上压接铺设,以避免雨水渗入室内。 用垂直于屋脊的顺水木条压实钉牢,其断面尺寸一般为30mm×15mm,中距为500mm。 这样即使有小量雨水通过机平瓦缝渗入,亦可顺油毡表面流出。 第三步是在顺水条上设置挂瓦条,尺寸为30mm×30mm,中距为330mm。 最后在挂瓦条上铺设机平瓦,如图10.28所示。

图10.28 屋面基层形式

2)纤维板或芦席瓦屋面

为节约材料,木屋面板可用硬质材料纤维板或其他杆状植物的编织物代替,如苇席、竹帘等。 其构造物做法基本同木屋面板瓦屋面。 也可在芦席上铺设麦秸泥直接扣瓦,既可节约材料,亦可保温。

3)钢筋混凝土板瓦屋面

钢筋混凝土板瓦屋面种类较多,有简易挂瓦板屋面、预制钢筋混凝土板瓦屋面、现浇钢筋混凝土板瓦屋面等,根据建筑物使用功能的要求和造型装饰的要求有不同的构造层次做法。这里主要讲述预制或现浇钢筋混凝土板瓦屋面的构造做法。 以钢筋混凝土板做基层的做法有两种方式:一种在基层上做找平层后铺防水卷材一层,并嵌固在基层板缝或预埋件上,然后设挂瓦条挂瓦;另一种在基层板上抹防水砂浆并挂瓦,或并贴陶瓷面砖等,目前的仿古建筑常常采用这种构造做法,如图10.29所示。

图10.29 屋面板盖瓦构造

(2)机平瓦屋面细部构造

机平瓦屋面的细部构造主要指檐口、天沟、屋脊等,其目的同瓦屋面一样,首先要解决好排水问题,以免造成渗漏。

檐口构造

坡屋顶建筑的檐口有纵墙檐口和山墙檐口。 纵墙檐口的构造形式有挑檐和包檐两种;山墙檐口的构造形式有山墙挑檐和山墙封檐两种。

1)纵墙挑檐构造

①挑檐:指屋面挑出外墙部分,保护外墙,简便方法是采用砖挑檐,构造方法是砖每皮出挑为60mm,两皮一挑,高为120mm,但总出挑值不得大于外墙厚度的1/2,如图10.31所示。 出挑较大挑檐常采用木料挑檐,基本可分为二种情况:

用屋面板做出挑檐口:由于屋面板较薄,出挑长度不宜过大,一般应≤300mm,如果增加挑檐木来支承挑檐,则出挑檐口可适当加长。 挑檐木设在屋架下弦或横墙内,伸入墙内长度应大于等于出挑长度的两倍,如图10.30所示。

挑椽檐口:利用屋顶层次中已有的椽子或在屋顶的檐边另设椽子挑出作为出挑檐口的支托,如图10.30所示。

图10.30 纵墙檐口

②包檐:包檐是外墙上部设女儿墙(压檐墙)将檐口包住。 要解决好屋面排水问题,需做天沟。 天沟最好采用钢筋混凝土预制构件,沟内设防水卷材,天沟与女儿墙相交处所形成的泛水的构造做法与前述防水卷材相同。 如图10.30所示。

2)山墙檐口构造

①山墙挑檐:又称悬山。 利用屋顶檩条的延长出挑,上铺屋面板,挂瓦,出挑檩条端部用木板封檐(也称博风板)而形成。 山墙檐边铺设的瓦,为避免脱落应用1∶2水泥麻刀或其他纤维砂浆做转角封边(坡水线)固瓦。 如图10.31所示。

②山墙封檐:又称硬山。 其构造做法是将山墙用砖砌筑高出屋面包住檐口,所形成的女儿墙与屋面相交处做泛水处理。 如图10.31所示。

3)天沟和斜沟

在等高跨,高低跨倾斜屋面相交处和包檐口处形成的纵向沟称为天沟。 在倾斜屋面垂直相交处形成的沟称斜沟。 其断面尺寸,上口宽一般为300~500mm。 天沟底上铺设镀锌铁皮或缸瓦,或改性PVC塑料,并伸入瓦片下面,长度≥150mm。 如图10.32所示。

图10.31 山墙檐口构造

图10.32 天沟、斜沟构造

4)檐口顶棚构造

常做的有露缝板条、硬质纤维板、板条抹灰等。 其构造分基层和面层两部分。 基层为顶棚龙骨,沿外墙面和封檐板内面纵向设置,其间用横向龙骨等距与纵向龙骨连接,其间距为900~1000mm。 面层为板条或纤维板等,固定于龙骨底面。 檐口顶棚常作为坡屋顶的通风口,当采用密闭面材时,应每间设置百叶通风口。

(3)金属屋面

近年来,为适应大跨度建筑物防水的需要,出现了金属材料防水屋面,其自重轻,刚度较强,耐久性好,防水性能好。 主要有镀锌铁皮和铝合金制作的金属瓦及压型钢板防水屋面。 尤其是彩色压型钢板防水屋面,除上述优点外,人为色彩丰富绚丽,质感好,形体多变,适应于不同造型和结构形式的需要,丰富了建筑的艺术效果。

彩色压型钢板屋面防水材料根据其功能构造分为单层彩板和保温夹心彩板。

1)单层彩板屋面

采用单层彩板做防水屋面,必须另设保温层,它的外形有波形板、梯形板及带肋梯形板。尤其是带肋梯形板形式克服了板材力学性能不够理想的弱点,通过增加纵向凹凸槽起到加肋作用,提高了其强度和刚度。 单层彩板屋面直接支承于金属檩条上,如槽钢,工字型钢或轻钢檩条。 檩条间距视屋面板尺寸而定,一般为1.5~3.0m。 其坡度大小与地区降雨量、采用的板型、拼接方式等有关。 一般不小于3°。 其构造方式如图10.33所示。

图10.33 彩色压型钢板屋面的接缝构造

2)保温夹心屋面板

以压型钢板为表层,内设置保温材料的组合形式屋面板,保温材料主要采用自熄性聚苯乙烯泡沫塑料或采用硬质聚氨酯泡沫塑料,这种保温夹心屋面板具有体轻、防水、保温、承载力好的特点,主要用于公共建筑和工业建筑的屋顶。

其坡度一般为1/20~1/6,为防腐蚀,在有腐蚀环境中的屋面,其坡度应≥1/12。 为减少接缝,防止渗漏,提高保温性能,在运输吊装许可的前提下,尽量采用较长尺寸板,但一般应≤9m。

板在安装过程中,需解决好板缝问题。 在板与板、板与配件之间采用铝拉铆钉连接,铆钉应预先涂密封胶,拉铆后,钉头用胶封死。 板缝要以构造防水为主,材料防水为辅。 屋面坡度≤1/10时,上板压下板搭接长度300mm;屋面坡度>1/10时,搭接长度200mm。 每块板应有3个以上支承檩支承,减少和限制翘曲变形。 如图10.34所示。

图10.34 保温夹心板檩条布置