1
房屋建筑学(第4版)
1.3.10.3 10.3 刚性防水屋面构造
10.3 刚性防水屋面构造

刚性防水屋面,指用防水砂浆抹面或钢筋细石混凝土浇捣而成的刚性材料屋面防水层。主要优点是施工方便,节约材料,较便于维修。 但因其材料性质所决定,对温度变化基层变形结构变形适应性差,较易产生裂缝而出现渗漏。 故日温变化大的地区不适用,仅适用于日温差较小的我国南方地区。 设保温层的屋面不适用,因保温层为轻质多孔材料,为防止水对保温材料的侵入,其上不易湿作业浇注混凝土,且松软保温材料上设基层在外力作用下而产生竖向断裂。 也不宜用于有高温、有振动、基础有较大不均匀沉降的建筑物。 刚性防水等级仅为Ⅲ级的屋面防水,如作为Ⅰ、Ⅱ级防水屋面使用,则必须采取多道防水构造。

10.3.1 刚性防水屋面存在的问题和防止措施

混凝土中有多余水,混凝土在硬化过程中其内部会形成毛细通道,必然使混凝土收水干缩时表面开裂而失去防水作用,因此普通混凝土不能作为刚性屋面防水层。 解决的办法是:

①增加防水剂:利用生成不溶性物质,堵塞毛细孔道,提高密实度。

②采用微膨胀:加入适量矾土水泥等,利用结硬时产生微膨胀效应,提高抗裂性。

③提高自身密实度:采用等料级配,控制水灰比,加强浇注时的振捣和浇水养护,提高密实性,避免表面龟裂。

除自身原因外,还受到外力作用影响。 气温变化使其热胀冷缩,屋面板受力后产生挠曲变形,地基不均匀沉陷,屋面板徐变,材料收缩等均直接对刚性防水层产生较大影响,其中最主要的是温差所造成的影响。 解决的措施是:

①配置钢筋:一般配置Φ3@150或Φ4@200双向钢筋,置于钢筋混凝土防水层中层偏上,提高其抗裂和应变的能力。

②设置分仓缝:设置一定数量的分仓缝(亦称分格缝),减少单块钢筋混凝土防水层面积,一般控制在15~25m2左右,以减少因温度变化引起的收缩变形,有效防止和限制裂缝的产生。

在荷载作用下,屋面板产生挠曲变形,在支承端板端翘起,产生角变形,易引起钢筋混凝土防水层变形而开裂,故分仓缝应设置于支承端。

综上所述,分仓缝的具体设置是:预制装配式结构中,设置于支座轴线处,屋面转折处,与立墙交接处并与板缝对齐。 横向分仓缝间距≤6m,纵向分仓缝设于屋脊处。 当屋顶设女儿墙时,由于其材料不同,变形不一致,所以刚性防水层与女儿墙之间也应设分仓缝,其具体构造做法如图10.15所示。

图10.15 分格缝的位置

图10.16 混凝土刚性防水屋面做法

为减少结构层受力变形对防水层的影响,应在刚性防水层和结构层之间设隔离层(亦称浮筑层)。 因结构层受力产生挠曲变形,温度变化产生膨胀变形,而结构层厚且刚度大,必然拉动刚性防水层同步变形,致使防水层拉裂。 设置隔离层可减少或限制对其的不利影响。 隔离层采用纸筋灰、低标号砂浆或干铺油毡等做法,如图10.16所示。

10.3.2 刚性防水屋面细部构造

(1)分仓缝构造

如图10.17所示。

图10.17 混凝土刚性防水屋面分仓缝构造

(2)泛水构造

刚性防水屋面泛水构造要点与卷材防水屋面大体相同,不同点是刚性防水屋面泛水与防水层为一整体,且与凸出屋面的结构物脱离,其间必须留出施工分仓缝,以免两者变形不一致而造成泛水开裂。 泛水与屋面应一次浇成,不得留施工缝。 其泛水主要指女儿墙泛水和变形缝泛水,如图10.18所示。

(3)檐口构造

刚性防水屋面常用的檐口形式有自由落水檐口,挑檐沟外排水檐口,女儿墙外排水檐口以及坡檐口等,其构造做法如图10.19所示。

图10.18 刚性防水屋面的泛水构造

图10.19 檐口外排水构造

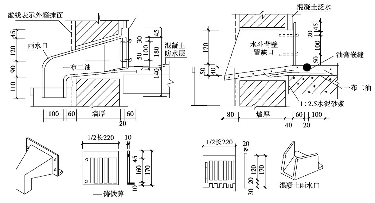
刚性防水屋面的雨水口常见的有两种,一种是用于天沟或檐沟的雨水口,另一种是用于女儿墙外排水的雨水口。 前者为直管式,后者为弯管式。

1)直管式雨水口

这种雨水口的构造如图10.20所示。 安装时为了防止雨水从雨水口套管与檐沟底板间的接缝处渗漏,应在雨水口的四周加铺宽度约200mm的二布三油或二布六涂附加卷材。 卷材应铺在套管内壁中,天沟内的混凝土防水层应盖在卷材的上面,防水层与雨水口的接缝用油膏嵌填密实。

图10.20 直管式雨水口

2)弯管式雨水口

弯管式雨水口多用于女儿墙外排水,雨水口可用铸铁或塑料做弯头,如图10.21所示。

图10.21 女儿墙外排水的雨水口构造