1
房屋建筑学(第4版)
1.3.9.4 9.4 竖向通道无障碍的构造设计
9.4 竖向通道无障碍的构造设计

竖向通道无障碍的构造设计,主要是方便残疾人的使用。 下面就作一般介绍。

在解决连通不同高差的问题时,虽然可以采用诸如楼梯、台阶、坡道等设施,但这些设施在给某些残疾人使用时,仍然会造成不便,特别是下肢残疾的人和视觉残疾的人。 下肢残疾的人往往会借助拐杖和轮椅代步,而视觉残疾的人则往往会借助导盲棍来帮助行走。 无障碍设计中有一部分就是指能帮助上述两类残疾人顺利通过高差的设计。 下面将主要就无障碍设计中一些有关楼梯、台阶、坡道等的特殊构造问题作一些介绍。

9.4.1 坡道的坡度和宽度

坡道是最适合下肢残疾人使用的通道,它还适合于拄拐杖和借助导盲棍通过的人。 其坡度必须较为平缓,还必须有一定的宽度。 有关规定如下:

(1)坡道的坡度

我国对便于残疾人通行的坡道坡度标准为不大于1/12,与其相匹配的每段坡道的最大高度为750mm,最大坡段水平长度为9000mm。 对于只设坡道的建筑入口及室外通路,其坡道标准为1/20。 最大高度为1500mm,最大坡段水平长度为30000mm,见表9.2。

表9.2 坡道的尺寸

(2)坡道的宽度及平台宽度

为便于残疾人使用的轮椅顺利通过,室内坡道的最小宽度应不小于1000mm,室外坡道的最小宽度应不小于1500mm,图9.38表示相关坡道的平台所应具有的最小宽度,见表9.3。

表9.3 坡道位置及其对应的坡度、宽度

图9.38 坡道休息平台的最小宽度

9.4.2 楼梯形式及扶手栏杆

(1)楼梯形式及相关尺度

室内残疾者或盲人使用的楼梯,应采用直行形式,不宜采用弧形梯段或在半平台上设置扇步,如图9.39所示。

楼梯的坡度应尽量平缓,其坡度宜在35°以下,梯面高不宜大于170mm,且每步踏步应保持等高。 民用建筑楼梯的梯段宽度不宜小于1200mm,公共建筑不宜小于1500mm。

(2)踏步设计注意事项

视力残疾者或盲人使用的楼梯踏步应选用合理的构造形式及饰面材料,无直角突沿,表面不滑,以防发生勾拌行人或其助行工具的意外事故。

图9.39 楼梯梯段宜采取直行方式

(3)楼梯、坡道扶手栏杆

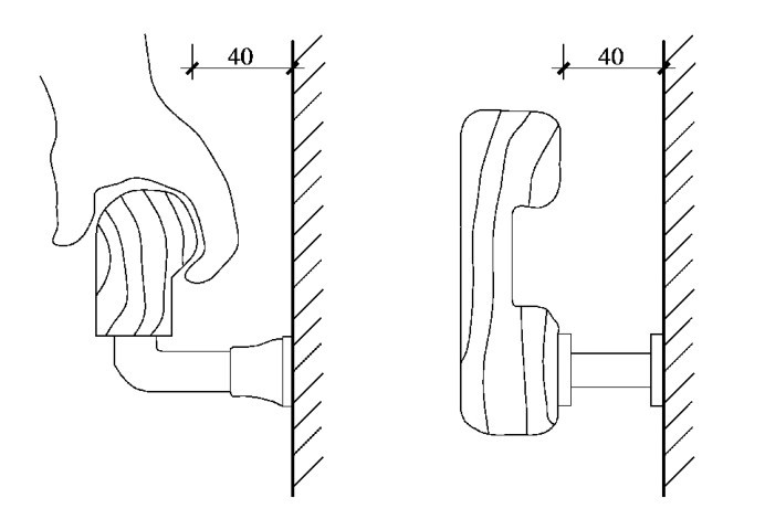
楼梯、坡道应在两侧内设扶手。 公共楼梯可设上下双层扶手。 上层扶手高0.85m,下层高0.68m。在楼梯的梯段(或坡道的坡段)的起始及终结处,扶手应自其前缘向前伸出300mm以上,两个相临梯段的扶手应该连通,扶手末端应向下或伸向墙面0.10m,如图9.40所示。扶手内侧与墙面的距离应为40~50mm,其断面形式应便于抓握,如图9.41所示。 交通建筑、医疗建筑和政府接待部门等公共建筑,在扶手的起点与终点应设盲文说明牌,如图9.41所示。

图9.40 扶手基本尺寸及收头

9.4.3 导盲块的设置

导盲块又称地面提示块,一般设置在有障碍物、需要转折、存在高差等场所,利用其表面上的特殊构造形式,向视力残疾者提供触感信息,提示该停步或需改变行进方向等。 图9.42所示为常用的导盲块的两种形式。 图9.39中已经标明了它在楼梯中的设置位置,在坡道上也适用。

9.4.4 构件边缘处理

鉴于安全方面的考虑,还有凌空处的构件边缘,都应该向上翻起,包括楼梯梯段和坡道的凌空一面、室内外平台的凌空边缘等。 这样可以防止拐杖或导盲棍等工具向外滑出,对轮椅也是一种制约。 图9.43给出相关尺寸。

图9.41 扶手断面应便于抓握

图9.42 地面提示块构造

图9.43 构件边缘处理