1
房屋建筑学(第4版)
1.3.8.3 8.3 楼地面构造
8.3 楼地面构造

地面包括底层地面(地坪层地面)和楼板层地面两部分,地面属于建筑装修的一部分。 由于各类建筑对使用功能要求不尽相同,一般应满足以下要求:

8.3.1 对地面使用要求

(1)坚固耐久

地面直接与人接触,家具、设备也大多都摆放在地面上,因而地面必须耐磨,行走时不起尘土、不起砂,并有足够的强度。

(2)减少吸热

由于人们直接与地面接触,地面则直接吸走人体的热量,为此应选用吸热系数小的材料作地面面层,或在地面上铺设辅助材料,用以减少地面的吸热。

(3)满足隔声

隔声要求主要在楼地面。 楼层上下的噪声传播,一般通过空气传播或固体传播,而其中固体传声是主要的割除对象。

(4)防水要求

用水较多的厕所、浴洗室、浴室、实验室等房间,应满足防水要求。 一般应选用密实而不透水的材料,并适当作排水坡度。 在楼地面的垫层上部有时还应做防水层。

(5)经济要求

地面在满足使用要求的前提下,应选择经济的构造方案,尽量就地取材,以降低整个房屋的造价。

8.3.2 楼地面构造

楼地面构造即是楼板层和地坪层、地面层。 面层一般包括面层和面层下面的找平层两部分。 楼地面的名称是以面层的材料和做法来命名的,如面层为水磨石,则该地面称为水磨石地面,面层为木材,则称为木地面。

地面按其材料和做法可分为五大类型,即整体类地面、块材类地面、粘贴类地面、涂料类和木地面。

(1)整体类地面

整体类地面包括水泥地面、水磨石地面等现浇地面。

1)水泥地面

在一般民用建筑中采用较多。 其构造简单、坚固、能防潮防水而造价又较低。 但水泥地面蓄热系数大,冬天感觉冷,空气湿度大时易产生凝结水,而且表面起灰,不易清洁。

水泥地面做法如下:

①水泥砂浆地面:即在混凝土垫层或结构层上抹水泥砂浆,一般采用双层做法。 先做一层10~20mm厚1∶3水泥砂浆找平层,表面只抹5~10mm厚1∶2水泥砂浆,不易开裂、空鼓。

②水泥石削地面:是以石屑替代砂的一种水泥地面,这种地面性能近似水磨石,表面光洁,不起尘,易清洁。 先做一层15~20mm厚1∶3水泥砂浆找平层,面层铺15mm厚1∶2水泥石屑,提浆抹光即成。

2)水磨石地面

水磨石地面一般分两层施工。 在垫层或结构层上用10~20mm厚1∶3水泥砂浆找平,面铺10~15mm厚1∶1.5~2的水泥白石子,待面层达到一定强度后加水用磨石机磨光、打蜡即成。 所用石子为中等硬度的方解石、大理石、白云石屑等。

为适应地面变形可能引起的面层开裂以及施工和维修方便,做好找平层后,用嵌条把地面分成若干小块,尺寸为1000mm左右。 分块形状可以设计成各种图案。 嵌条用料常为玻璃、塑料或金属(铜条、铝条等),嵌条高度同磨石面层厚度,且用1∶1水泥砂浆固定。 嵌固砂浆不宜过高,否则会造成面层在嵌条两侧仅有水泥而无石子,影响美观,如图8.24所示。

如果将普通水泥换成白水泥,并掺入不同颜料可做成各种彩色地面。

水磨石地面具有良好的耐磨性、耐久性、防水防火性,质地美观,表面光洁,不起尘,易清洁等优点。 通常应用于居住建筑的浴室、厨房、厕所和公共建筑门厅、走道及主要房间地面、墙裙等部位。

图8.24 水磨石地面

(2)块材类地面

块材类地面是把地面材料加工成块状,然后借助胶结材料贴或铺砌在结构层上。 胶结材料既起胶结又起找平作用,也有先做找平层再做胶结层的。 常用胶结材料有水泥砂浆、沥青玛蹄脂等,也有用细砂和细炉渣做结合层。

块料地面种类很多,常用的有水泥砖、大理石、缸砖、陶瓷锦砖、陶瓷地砖等。

1)水泥制品块地面

水泥制品块地面常见的有水磨石块、预制混凝土块(尺寸常为400~500mm见方,厚20~50mm)。

水泥制品块和基层连接有两种方式:当预制块尺寸较大且较厚时,常在板下干铺一层20~40mm厚细砂或细炉渣,待校正后,板缝用砂浆嵌填。 这种做法施工简单、造价低,便于维修更换,但不易平整。 城市人行道常按此方法施工,如图8.25(a)所示。 当预制块小而薄时则采用12~20mm厚1∶3水泥砂浆做结合层,铺好后再用1∶1水泥砂浆嵌缝。 这种做法坚实、平整,如图8.25(b)所示。

图8.25 水泥制品块地面

2)缸砖及陶瓷锦砖地面

缸砖是用陶土焙烧而成的一种无釉砖块。 形状有正方形(尺寸为100mm×100mm和150mm×150mm,厚10~19mm)、六边形、八角形等,颜色也有多种,由不同形状和色彩可以组合成各种图案。 缸砖背面有凹槽,使砖块和基层粘接牢固,铺贴时一般用15~20mm厚1∶3水泥砂浆做结合材料,要求平整,横平竖直,如图8.26所示。 缸砖具有质地坚硬、耐磨、耐水、耐酸碱易清洁等优点。 陶瓷锦砖又称马赛克,其特点与面砖相似。 陶瓷锦砖有不同大小、形状和颜色并可以组合成各种图案,使饰面达到一定的艺术效果。

陶瓷锦砖主要用于防滑卫生要求较高的卫生间、浴室等房间的地面,也可用于外墙面。

陶瓷锦砖同玻璃锦砖一样,出厂前已按各种图案反贴在牛皮纸上,以便于施工,如图8.27所示。

图8.26 缸砖地面

图8.27 马赛克地面

3)陶瓷地砖地面

陶瓷地砖又称墙地砖,其类型有釉面地砖、无光釉面砖和无釉防滑地砖及抛光同质地砖。

陶瓷地砖有红、浅红、白、浅黄、浅绿、蓝等各种颜色。 地砖色调均匀,砖面平整,抗腐耐磨,施工方便,且块大缝少,装饰效果好,特别是防滑地砖和抛光地砖又能防滑,因而越来越多地用于办公、商店、旅馆和住宅中。

陶瓷地砖一般厚6~10mm,其规格有400mm×400mm,300mm×300mm,250mm× 250mm,200mm×200mm。 块越大,价格越高,装饰效果越好。

综上所述,常用地面、楼面做法总结于表8.2,8.3中。

表8.2 常用地面做法

续表

表8.3 常用楼面做法

续表

(3)粘贴类地面

主要指塑料地面,塑料地面包括一切有机物质为主所制成的地面覆盖材料。 如油地毡、橡胶地毡以及涂料地面和涂布无缝地面。

塑料地面装饰效果好,色彩鲜艳,施工简单,维修保养方便,有一定的弹性,脚感舒适,步行时噪声小。 但它有易老化,日久失去光泽,受压后产生凹陷、不耐高热,硬物刻画易留痕等缺点。

下面重点介绍聚氯乙烯塑料地面。

聚氯乙烯塑料地面是以聚氯乙烯树脂为主要胶结材料,配以增塑剂、填充料、稳定剂、润滑剂和颜料制成。 就外形看,有块材和卷材之分;就材质看,有软质和半软质之分;就颜色看,有单色和复色之分。 其所用黏结剂有溶剂型如氯丁橡胶剂、聚醋酸乙烯黏结剂、环氧树脂黏结剂等,水乳型如氯丁橡胶黏结剂等。

①聚氯乙烯石棉地砖:聚氯乙烯地砖质地较硬,规格常为300mm见方,厚1.5~3mm,另外还有三角形、长方形等形状。

聚氯乙烯地面施工是在清理基层后,根据房间大小设计图案排料编号,在基层上弹线定位,由中心向四周铺贴而成。

可由不同色彩和形状聚氯乙烯地砖拼成各种图案,还可仿各种石材,加上价格较低,因而使用广泛。

②软质及半软质聚氯乙烯地面:由于增塑剂较多而填料较少,故较柔软,有一定的弹性,耐凹陷性能好,但不耐燃,尺寸稳定性差,主要用于医院、住宅等。

软质聚氯乙烯地面规格为:宽800~1240mm,长12~20mm,厚1~6mm。 施工是在清理基层后按设计弹线,在塑料板底满涂氯丁橡胶黏结剂1~2遍后进行铺贴。 地面的拼接方法是将板缝先切割成V形,然后用三角形塑料焊条、电热焊枪焊接,如图8.28所示。

半软质聚乙烯地板规格为100mm×100mm~700mm×700mm,厚1.5~1.7mm,黏结剂与软质地面相同。 施工时,先将黏结剂均匀地刮涂在地面上,几分钟后,将塑料地板按设计图案贴在地面上,并用抹布擦去缝中多余的黏结剂。 尺寸较大者如700mm×700mm的,可不用黏结剂,铺平后即可使用。

图8.28 塑料地面施工

(4)涂料类地面

用于地面涂料有地板漆、过氯乙烯地面涂料、苯乙烯地面涂料等。 这些涂料施工方便,造价较低,可以提高地面耐磨性和韧性以及不透水性,适用于民用建筑中的住宅、医院等。 但由于过氯乙烯、苯乙烯地面涂料是溶剂型的,施工时有大量的有机溶剂逸出,污染环境;另外,由于涂层较薄,耐磨性差,故不适于人流密集、经常受到物或鞋底摩擦的公共场所。

(5)木楼面

包括条木地板、拼花地板等做法。 木楼面的构造做法分为单层长条硬木楼地面和双层硬木楼地面做法两种,均属于实铺式。

下面以双层硬木楼地面做法为例,介绍其构造做法。 在钢筋混凝土楼板中伸出ϕ6钢筋,绑扎Ω形ϕ6铁鼻子,400mm中距,将70mm×50mm的木龙骨用10号铅丝两根,绑于Ω形铁件上。在垂直于松木龙骨的方向上钉放50mm×50mm支撑。中距800mm,其间填40mm厚干焦渣隔音层。上铺22mm厚松木毛地板,铺设方向为45°,上铺油毡一层,表面铺50mm×20mm硬木企口长条或席纹,人字纹拼花地板,并烫硬蜡。双层硬木楼地面的做法如图8.29所示。

图8.29 双层硬木地面

8.3.3 楼地面防潮防水构造

有水侵蚀的房间,如厕所、浴洗室、淋浴室等,由于各种设备,水管较多,用水频繁,易积水,容易发生漏水现象,因此,设计时需对这些房间的楼板层、墙身采取有效的防潮、防水措施。 通常从两方面着手解决。

(1)楼面排水

楼面需有一定的坡度,并设置地漏,引导水流入地漏。 排水坡度一般为1%~1.5%。 为防止室内积水外泄,对于有水房间的楼面或地面标高应比其他房间或走廊低30~50mm。

(2)楼板、墙身的防水处理

通常需解决以下问题:

1)楼板防水

对有水侵袭的楼板应以现浇为佳。 对防水质量要求较高的地方,可在楼板与面层之间设置防水层一道。 常见的防水材料有卷材防水、防水砂浆或涂料防水层,以防止水的渗漏,如图8.30所示。 其地面常采用水泥地面、水磨石地面、马赛克地面、地砖地面或缸砖地面等。 为防止水沿房间四周浸入墙身,应将防水层沿房间四周墙边向上伸入踢脚线内100~150mm,如图8.30(c)所示。 当遇到开门处,其防水层应铺出门外至少250mm,如图8.30(a)、(b)所示。

图8.30 有水房间楼板层的防水处理

2)穿楼板立管的防水处理

一般采用两种办法,一是在管道穿过的周围用C20级干硬性细石混凝土捣固密实,再以两布二油橡胶酸性沥青防水涂料作密封处理,如图8.31(a)所示;二是某些暖气管、热水管穿过楼板层时,为防止由于温度变化,出现胀缩变形,致使管壁周围漏水,故常在楼板走管的位置埋设一个比热水管直径稍大的套管,以保证热水管能自由伸缩而不致混凝土开裂。 套管比楼面高出30mm左右,如图8.31(b)所示。

图8.31 管道穿过楼板时的处理

3)对淋水墙面的处理

淋水墙面常包括浴室、浴洗室和小便槽等有水侵蚀墙体的情况。 最常见的问题是男小便槽的渗漏水,它不仅影响室内,还严重影响到室外或其他房间。 对小便槽的处理首先是迅速排水,其次是小便槽本身需用混凝土材料制作,内配构造钢筋(Φ 6@200~300双向钢筋网),槽壁厚40mm以上。 为提高防水质量,可在槽底加设防水层一道,并将其延伸到墙身,如图8.32所示。然后在槽表面作水磨石面层或贴瓷砖。 水磨石面层由于经常受尿液侵蚀或水冲刷,使用时间长,表面受到腐蚀,致使面层呈粗糙状,变成水刷石,容易积脏。 一般贴瓷砖或刷涂防水防腐蚀涂料效果较好。 但贴瓷砖其拼缝要严,且须用酚醛树脂胶泥勾缝。 否则,水、尿仍能侵蚀墙体,致使瓷砖剥落。

图8.32 小便槽的防水处理

8.3.4 楼地面隔声构造

楼板层主要是隔绝撞击声,即减弱或限制固体传声。 方法有三种:

①减弱撞击楼板的力,削弱楼板因撞击而产生的声能。 可在楼板面上铺设弹性面层,如地毯、橡胶、塑料板等。 如图8.33(a)所示。

②利用弹性垫层进行处理。 在楼板面层和结构层之间设置有弹性的材料作垫层,来降低撞击声的传递。 构造做法是使楼面与楼板全脱开,形成浮筑层楼板。 如图8.33(b)所示。

③作楼板吊顶处理。 利用吊顶棚内空间使撞击产生的声能不能直接进入室内,同时受吊顶棚面的阻隔而使声能减弱,对隔声要求高的空间,还可在顶棚上铺设吸声材料,效果更佳。如图8.33(c)所示。

图8.33 楼板隔固体声构造

8.3.5 顶棚构造

顶棚是指楼层底面部分,亦称天棚、天花等,属于建筑物内部主要装饰部分。 对一般建筑而言,要求美观、光洁,增强光线反射,改善室内明度;对要求高的建筑或有一定功能要求的建筑而言,要求室内空间造型及满足使用需要的隔声、防水、保温、隔热等构造。 构造形式分为直接式和吊顶式两种。

(1)直接式顶棚

直接式顶棚构造方式指直接在楼板板底面喷刷、抹灰、贴面。 多用于一般民用建筑和工业建筑之中。 它的常见构造做法有以下几种:

①直接喷刷涂料:用腻子嵌平板缝或喷刷大白浆涂料或106涂料。 多用于车间、库房、锅炉房等对室内要求不高的建筑。

②抹灰:室内要求较高时,采用板底面抹灰装修,如水泥砂浆抹灰和麻刀灰、纸筋灰等抹灰。 多用于一般民用建筑。 但抹灰中一定要解决好操作程序及步骤,避免抹灰层脱落。 首先清洗板底面(采用水泥砂浆抹面),刷素水泥浆一道,形成胶结膜层,先抹5mm厚1∶3水泥砂浆打底,再用5~8mm厚1∶2.5水泥砂浆抹面,外刷涂料;采用麻刀(或纸筋)灰抹面,先抹6mm混合砂浆再用3mm麻刀(或纸筋灰)灰抹面,外刷涂料。

③贴面:主要用于室内装修要求较高,或有吸音、保温、隔热等功能要求的建筑物。 将所需的满足功能要求的装饰材料用黏结剂直接贴于楼板底面,如墙纸、装饰吸音板等,如图8.34所示。

图8.34 直接式顶棚

(2)吊顶式顶棚

在装饰要求较高的房间中,要解决好室内空间造型装饰效果必需的功能要求而设置的各种设备及管道的敷设等,往往借助于吊顶棚将建筑结构构件及设施遮挡来加以解决。

吊顶棚由龙骨架和面层两部分组成。

1)吊顶棚龙骨

吊顶棚龙骨架由主龙骨与次龙骨组成,主龙骨是承重结构,次龙骨是吊顶的基层。 其构造形式为:主龙骨通过悬吊件固定在楼板下部,次龙骨通过吊顶固定在主龙骨上。 悬吊件由吊筋和吊挂件组成,间距1.0m。 龙骨有木龙骨和金属龙骨两类。 根据建筑耐火等级及防火要求,木龙骨已极少采用。 金属龙骨分为型钢承重龙骨、轻钢龙骨和铝合金龙骨。 型钢承重龙骨中主龙骨选用槽钢,次龙骨为角钢,常选用 2角钢。轻钢龙骨和铝合金龙骨的断面大小视荷重、面层构造做法及材料品种等因素而定。 主龙骨间距约1m,次龙骨间距视面层材料尺寸而定,但不易过大,一般取300~500mm。 如图8.35所示。

2)吊顶棚面层

面层按材料及施工方法分为抹灰面层和板材面层两类。 抹灰面层属湿作业,费工费时,且易开裂,除特殊要求外,现代建筑一般不再采用。 板材面层施工方便,工期短,易保证施工质量,得到广泛采用。 其材质有植物板材、矿物板材、金属板材等。 植物板材据防火规范要求,一般不采用。

3)吊顶棚构造

①矿物板材吊顶棚构造。

一般以轻钢或铝合金型材料作龙骨,以石膏板,各种矿棉板等板材作面层。 这种吊顶棚,造型多样,干作业施工方便,荷重轻,吸音效果和耐火性能好,得到广泛应用,多用于公共建筑和装饰较好的建筑之中。

②金属板材吊顶棚构造。

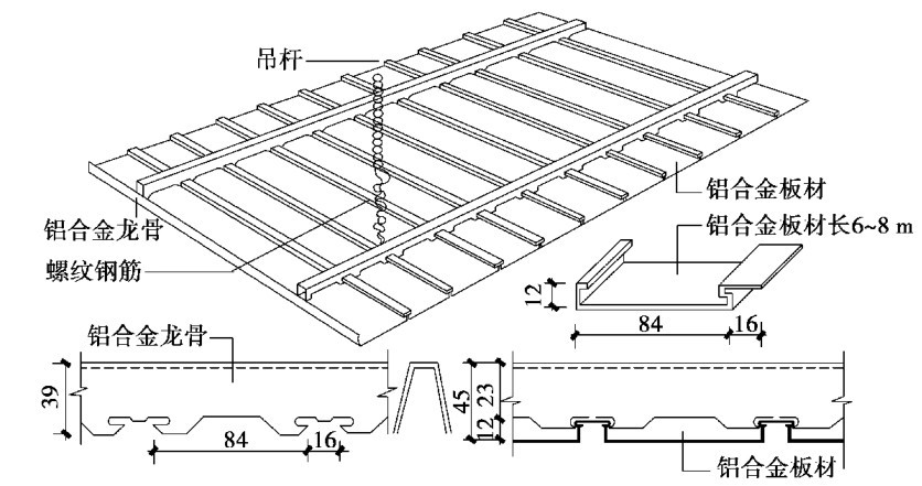
一般以轻型钢材作龙骨,以铝合金板、条作面层。 采用此种吊顶棚构造时,一定要解决好是否有吸音功能的要求,因铝合金板、条作面层时,铺设密实,表面光滑,面密度大,声能反射强,故不宜用于有吸音功能要求的空间。 如用于有吸音功能的空间,在构造做法中,应将面层板之间留出一定空隙,且面层加铺吸音材料,使释放于建筑空间的声能通过面层板间隙被吸音材料吸收,如图8.36和图8.37所示。

③轻型龙骨构造形式。

轻钢和铝合金轻型龙骨有明装和暗装两种构造形式。

a.明装构造形式。 主龙骨断面一般为槽形,次龙骨断面为倒T形。 次龙骨安装时采用双向布置,将面层板材直接搁置于次龙骨翼缘上,形成次龙骨露在吊顶棚面层下的形式。 如图8.38所示。 龙骨架由三部分组成:一是悬吊件,由吊筋( 8~ 10)、主龙骨吊挂件组成,固定于楼板上;二是主龙骨,固定于吊挂件上,长度则由主龙骨连接件拼接;三是次龙骨,由次龙骨吊挂件固定于次龙骨上,长度由次龙骨连接件拼接。 如图8.38和图8.39所示。

图8.35 金属吊顶构造

图8.36 密铺的铝合金条板吊顶

图8.37 开敞式铝合金板吊顶

图8.38 龙骨外露的布置方式

b.暗装构造形式。 其与明装构造形式不同在于次龙骨的断面形状。 该断面形状为槽形,吊顶面层用自攻螺钉固定于次龙骨上,形成暗装形式,如图8.39所示。

图8.39 不露龙骨的吊顶