1
大学物理综合设计实验
1.1.3.1 1.仪器结构
1.仪器结构

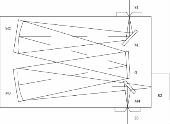
该仪器由光学暗箱、电源控制箱及计算机系统组成,如图1-6所示,光学暗箱结构如图1-7所示。

入射狭缝为直狭缝,宽度为0~2mm连续可调。光源发出的光束进入狭缝S1,S1通过M1反射镜位于反射式准光镜M2的焦面上,通过S1射入的光束经M2反射成平行光束投到闪耀光栅G上,衍射后的平行光束经物镜M3成像在S2上。

图1-6 实验仪器连接图

图1-7 光学暗箱结构图

M1—反射镜;M2—准光镜;M3—物镜;M4—转镜;G—闪耀光栅;S1—入射狭缝;S2—CCD接收位置;S3—观察窗(或出射狭缝)