1
工程流体力学
1.7.2.1 4.2.1 层流和湍流
4.2.1 层流和湍流

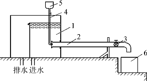
1883年英国物理学家雷诺通过实验证实了黏性流体存在层流和湍流两种流动状态。雷诺实验的装置如图4-2所示。

水通过一恒位水箱1经一长直玻璃管2流出,其流速可通过管道末端一调节阀门3控制。有色流体通过水箱上方的颜色水瓶5从一细管流出,其出口位于长直玻璃管的入口。实验步骤如下。

图4-2 雷诺实验装置

1—恒位水箱;2—长直玻璃管;3—调节阀门; 4—细管;5—颜色水瓶;6—量水筒

图4-3 雷诺实验中显示的流态

(1)首先将恒位水箱1注满水,然后微微打开玻璃管末端的调节阀3,水流以很小的速度沿玻璃管流出。再打开颜色水瓶5,使颜色水沿细管4流入玻璃管2中。当玻璃管中水流速度保持很小时,看到颜色水呈明显的直线形状,不与周围的水流相混。这说明在低速流动中,水流质点完全沿着管轴方向直线运动,这种流动状态称为层流(laminar flow),如图4-3(a)所示。

(2)调节阀3逐渐开大,水流速度增大到某一数值时颜色水的直线流将开始振荡,发生弯曲,如图4-3(b)所示。

(3)再开大调节阀3,当水流速度增大到一定程度时,弯曲颜色水流破裂为一种非常紊乱的状态,颜色水从细管3流出,经很短一段距离后便与周围的水流相混,扩散至整个玻璃管内,如图4-3(c)所示。这说明水流质点在沿着管轴方向流动过程中,同时还互相掺混,作复杂的无规则的运动,这种流动状态称为湍流(turbulence)。雷诺实验揭示了存在层流和湍流两种不同的流态,说明了沿程损失和断面平均流速之间的关系具有不同的规律是由于流动状态的不同引起的。所以分析实际流体运动,例如计算能量损失时,首先必须判别流动的状态。