8. 3 路基施工机械
路基施工机械包括土石方机械和压实机械两大类ꎮ 土石方机械包括推土机、装载机、挖 掘机、铲运机、平地机和凿岩机等几个重要机种ꎬ是路基施工中用途最广泛的施工机械ꎬ它们 担负着土石方的铲装、填挖、运输和整平等作业ꎮ
8. 3. 1 推土机
1. 性能
推土机是以工业拖拉机或专用牵引车为主机ꎬ前端装有推土装置ꎬ依靠主机的顶推力ꎬ 对土石方或散装物料进行切削或搬运的铲土运输机械ꎮ 推土机担负着切削、推运、开挖、填 积、回填、平整、疏松和压实等多种土石方作业ꎬ其特点是作业面小ꎬ机动灵活ꎬ转移方便ꎬ短 距离运土方便ꎮ 因此ꎬ推土机是路基施工中必不可少的机械设备ꎮ
2. 适用性
推土机一般适用于季节性较强、工程量集中、施工条件较差的工程环境ꎬ主要用于 50 ~ 100m 短距离的作业ꎬ如路基修筑、基坑开挖、平整场地、清除树根、堆积散料等ꎬ并可为铲运 机与挖装机械松土和助铲及牵引各种拖式工作装置等ꎮ
3. 作业方式
推土机的基本作业是铲土、运土、卸土和空回四个过程ꎬ
通常有以下作业方法:
(1)波浪式铲土法 这种方法可使发动机功率得到充分发挥并缩短铲土时间和距离ꎬ但空回时产生颠簸ꎮ 如图 8. 8 所示ꎮ
(2)接力式推土法 在取土场较长而土质较硬的场地上作业时ꎬ可自近而远分段将土推成堆ꎬ然后再由远而 近地将各段土堆一次推送到卸土处ꎮ
(3)槽式推土法 为减少运土损失ꎬ可在一固定作业线上多次推运ꎬ形成土槽ꎬ或利用铲刀两端外漏的土 壤形成土埂ꎬ再增加一次推运ꎬ以提高生产率ꎮ
(4)并列推土法 两台以上同类型推土机并列同步推运土方ꎬ以减少土方损失ꎬ两铲间距以 15 ~ 20cm 为 宜ꎬ同时ꎬ应掌握好每台推土机的运行速度和方向ꎬ避免相互影响ꎮ
(5)下坡推土法 利用下坡时推土机重力的分力ꎬ加速铲土过程和增大运土量ꎬ提高作业效率ꎮ

8. 3. 2 铲运机
铲运机主要用于较大运距的土方工程ꎬ如填筑路堤、开挖路堑和大面积的平整场地等ꎮ 由于它本身能完成铲装、运输和卸铺作业ꎬ并兼有一定的压实和平整能力ꎬ所以在公路工程 施工中ꎬ铲运机是一种使用范围很广的土方施工机械ꎮ
1. 适用性 铲运机的适用范围主要取决于土质特性、运距、机器本身的性能和道路状况
铲运机的经济运距视类型不同而异ꎬ一般与斗容量的大小成正比ꎮ 斗容量 6m 3 以下的 铲运机的最短运距以不小 100m 为宜ꎬ最长不应超过 350mꎬ经济运距为 200 ~ 300mꎮ 斗容量 10 ~ 30m 3 的自行式铲运机ꎬ最小运距不小于 800mꎬ最长运距可达 15OOm 以上ꎮ
2. 作业方式
(1)一次铲装法 铲刀一次切入土中并完成铲土行程ꎬ装满铲斗ꎬ如图 8. 9 所示ꎮ
(2)交替铲装法(跨铲法)
如图 8. 10 所示ꎬ先在取土场第一排(1、2、3 区)铲土道上取土ꎬ相邻两铲土道间留出 1 / 2 铲刀宽的土不铲ꎮ 然后再从第二排铲土道上铲起(4、5 区)ꎬ且铲土起点后移的距离为铲土 道长度的一半ꎬ随后依次交替铲土作业ꎮ

(3)波浪式铲土法
如图 8. 11 所示ꎬ此法适用于较硬的土 质ꎮ 铲土开始时ꎬ使铲刀以最大深度切入土 中ꎬ随着负荷增加ꎬ车速降低ꎬ相应地减少切 土深度ꎬ依次反复进行ꎬ直到铲斗装满为止ꎮ

(4)下坡铲土法
如图 8. 12 所示ꎮ 在平地铲土时ꎬ先铲挖前一段ꎬ然后逐渐向后延伸铲土道ꎬ以形成前低 后高的自然坡道ꎮ 当为一小土丘时ꎬ先从四周斜向铲起ꎬ然后逐渐向后延伸ꎬ以利下坡取土ꎮ

8. 3. 3 平地机
平地机是一种装有以铲土刮刀为主ꎬ配备其他多种可换作业装置ꎬ进行刮平和整型连续 作业的工程机械ꎮ 平地机的铲土刮刀较推土机的推土铲刀灵活ꎬ它能连续进行改变刮刀的 平面角和倾斜角ꎬ使刮刀向一侧伸出ꎬ可以连续进行铲土、运土、大面积平地、挖沟、刮边坡等 作业ꎮ
1. 适用性
平地机主要用途有:从路线两侧取土ꎬ填筑不高于 1m 的路堤ꎻ修整路堤的横断面ꎻ旁刷 边坡ꎻ开挖路槽和边沟ꎬ以及大面积平整等ꎮ 此外ꎬ还可以在路基上抨和、摊铺路肩上的杂草 以及冬季道路除雪等ꎮ
2. 作业方式
(1)选择铲土角 铲土角指刮刀切削刃与地面的夹角ꎮ 铲土刀角的大小由作业类型 确定ꎬ一般 60 ꎮ 左右的切削角适用于平整作业ꎬ切削、剥离土壤时ꎬ则需 要较小的铲土角ꎮ
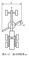
(2)选择刮刀回转角
如图 8. 13 所示ꎮ 刮刀回转角 ωꎬ对于切削、剥离、混合作业及硬土 切削作业ꎬ可取 30° ~ 50°ꎻ对于进行最后一道刮平以及进行松软或轻质 土刮整作业ꎬ可取 0° ~ 30°ꎻ在狭窄地段短距离施工时ꎬ将刮刀回转 180°ꎬ平地机可以在倒退状态下作业ꎮ
(3)斜行作业
利用车架铰接或全轮转向的特点ꎬ在很多作业场地需采用斜行作 业方法ꎬ使车轮避开料堆ꎬ保持机械的稳定ꎮ

(4)刮刀侧移
平地机作业时ꎬ常需要操作刮刀侧移来辅助实现刮刀的运动轨迹ꎮ 当在弯道或作业面 边界呈不规则的曲线状地段作业时ꎬ可同时操作转向和刮刀侧向移动ꎬ机动灵活地沿曲折的 边界作业ꎮ
(5)刮刀移土作业
将刮刀回转角调整为 0°ꎬ此时切削宽度最大ꎬ但切入深度较小ꎬ主要用于铺平作业ꎬ应注 意采用适当的回转角ꎬ使刮刀前有足够的料ꎮ 当刮刀侧移作业用于物料混合时ꎬ应注意刮刀 的回转角大小要适当ꎬ并要有较大的铲土角ꎮ
图 8. 14 为平地机基本作业示意图ꎮ


