制图工具与仪器的使用
-
1 文本课件
-
2 微课视频
-
3 自我检测
上一节
下一节
“工欲善其事,必先利其器”
尺规作图的工具和仪器有:图板、丁字尺、三角板、铅笔、圆规、分规、比例尺、模板、擦图片、橡皮、小刀等。

丁字尺的使用如下图所示,主要用来画图纸中的水平线。

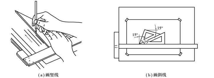
三角板的使用如下图所示,主要和丁字尺配合画图纸中的垂直线和斜线。


绘图工具与仪器的使用--课件

