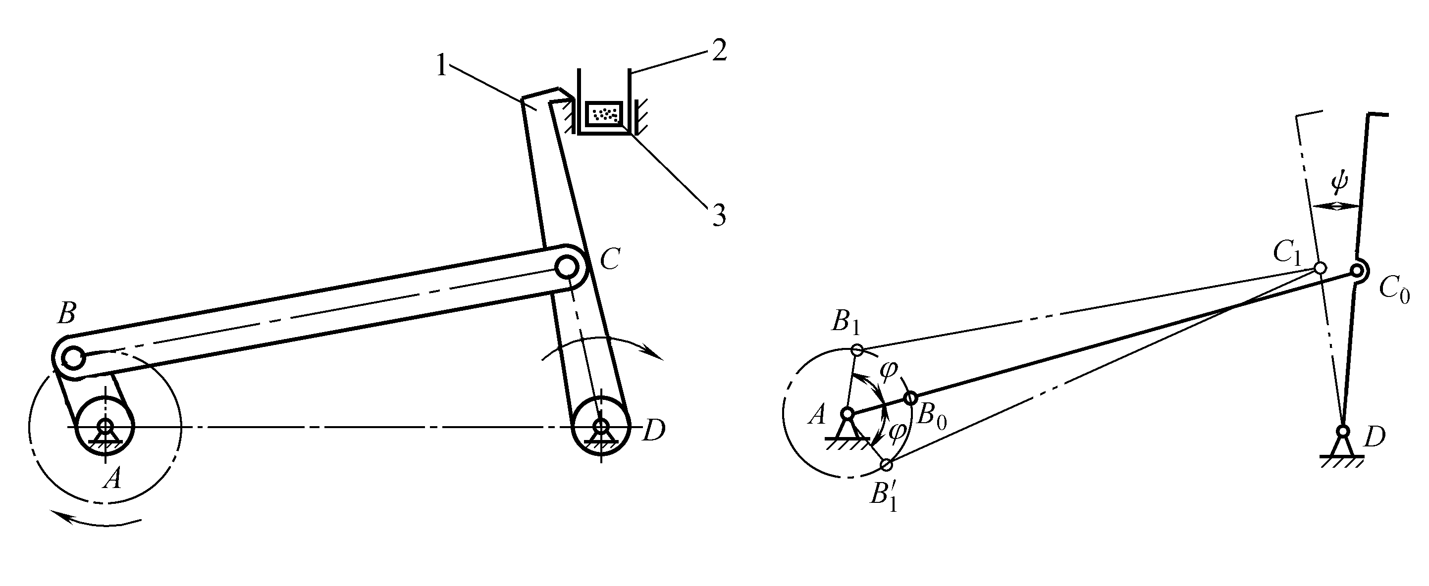
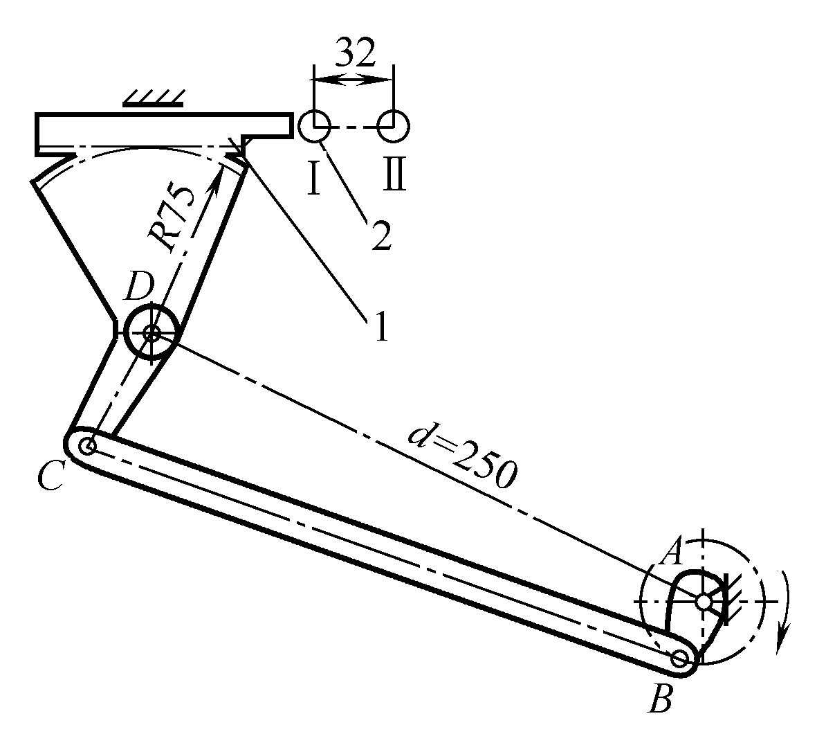
糖果包装机折纸机构设计
-
1 教学视频
-
2 PPT课件
-
3 SWF课件
-
4 课程动画
-
5 练习思考题
上一节
下一节



