第五章 磨床
5.1 磨床的功用和类型
5.1.1磨床的功用
磨料磨具对工件进行切削加工。
磨削各种表面(圆柱、圆锥、螺旋、齿面等)
特点:淬硬表面、高精度、良好的表面质量
应用:精锻、精铸直接磨 高速、强力
5.1.2磨床的类型
(1)外圆磨床 万能外圆磨床、普通外圆磨床、无心外圆磨床等。
(2)内圆磨床 普通内圆磨床、无心内圆磨床、行星式内圆磨床等。
(3)平面磨床 卧轴矩台平面磨床、立轴矩台平面磨床、卧轴圆台平面磨床、立轴圆台平面磨床等。
(4)工具磨床 曲线磨床、钻头沟背磨床、丝锥沟槽磨床等。
(5)刀具刃磨床 万能工具磨床、拉刀刃磨床、滚刀刃磨床等。
(6)各种专门化磨床 专门用于磨削某一类零件的磨床,如曲轴磨床、凸轮轴磨床、花键轴磨床、活塞环磨床、齿轮磨床、螺纹磨床等。
(7)其他磨床 如珩磨机、研磨机、抛光机、超精机、砂轮机等。
5.2 M1432A型万能外圆磨床
5.2.1机床的布局和用途

(1)床身1 它是磨床的基础支承件,在它的上面装有砂轮架、工作台、头架、尾座及横向滑鞍等部件,使它们在工作时保持准确的相对位置。
(2)头架2 它用于安装及夹持工件,并带动工件旋转。
(3)内圆磨具3 它用于支承磨内孔的砂轮主轴。
(4)砂轮架4 它用于支承并传动高速旋转的砂轮主轴。
(5)尾座5 它和头架的前顶尖一起支承工件。
(6)滑鞍6及横向进给机构 转动横向进给手轮7,可以使横向进给机构带动滑鞍6及其上的砂轮架作横向进给运动。
(7)工作台8 它由上下两层组成。
5.2.2机床的运动
1.M1432A型万能外圆磨床
(1)磨床的用途、组成及运动

成形运动有:砂轮旋转主运动nt;
工件作圆周进给运动nw;
进给运动有:工件随工作台作进给运动fa;
砂轮横向进给运动fp。
辅助运动: 砂轮架快速进退
尾座套筒缩回。
5.2.3机床的机械传动系统

1.外圆磨削时砂轮主轴的传动链

2.内圆磨具的传动链
Ø 内圆磨削时,砂轮旋转的主运动由单独的电动机(2840r/min,1.1kW)经平带直接传动,可获得2种高转速:10000r/min和15000r/min。
Ø 内为了保证工作安全,内圆砂轮电动机的起动与内圆磨具支架的位置有联锁作用,只有当支架翻到工作位置时,电动机才能起动。
3.头架拨盘的传动链

4.工作台的手动驱动
![]()

5.滑板及砂轮架的横向进给运动
(1)手轮进给
粗进给量手轮B转一周时,经齿轮副50/50传动。此时,砂轮架横向移动量为2mm。手轮B的刻度盘上分成200格,故每1格进给量为0.01mm。

当运动经齿轮副20/80传动,砂轮架横向移动量为0.5mm,即细进给量,每1格进给量为0.0025mm。
(2)液动周期自动进给 当工作台在行程末端换向时,压力油通入液压缸G5的右腔,推动活塞G左移,使棘爪H移动(因为H活装在G上),从而使棘轮E转过一个角度,并带动手轮B转动(因为用螺钉将E固装在B上),实现了径向切入运动。
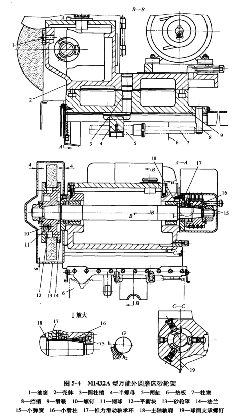
5.2.4机床的主要结构
1.砂轮架


思考题:
(1)液体动压轴承的工作原理?
(2)液体动压轴承回转精度高、刚性好、抗振性强、耐磨,可否推广到数控车、加工中心等机床的主轴上使用?
(3)砂轮主轴的轴向载荷是由哪个构件承受,为何这样设计?
(4)砂轮架是如何保证重复定位精度的?
2.内圆磨具

思考题:内圆磨具是如何在高速加工的过程中长久保持精度的?
3.头架

思考题:砂轮头架何为要这样设计(从安装死顶尖、卡盘等工艺方面考虑)?
4.尾座
阅读材料:

