案例分析——冲裁模总体结构设计
-
1 教程
-
2 课件
-
3 资料
-
4 案例
-
5 练习1
-
6 练习2
-
7 练习3
-
8 章节测验
上一节
下一节
一、设计方法
1.级进模设计
2.复合模设计
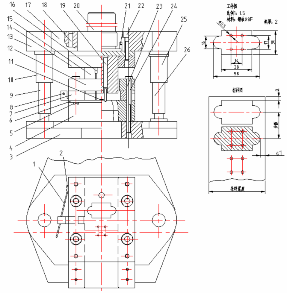
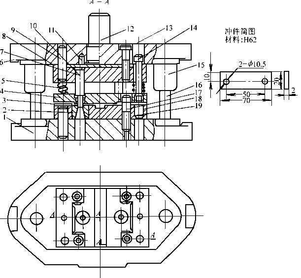
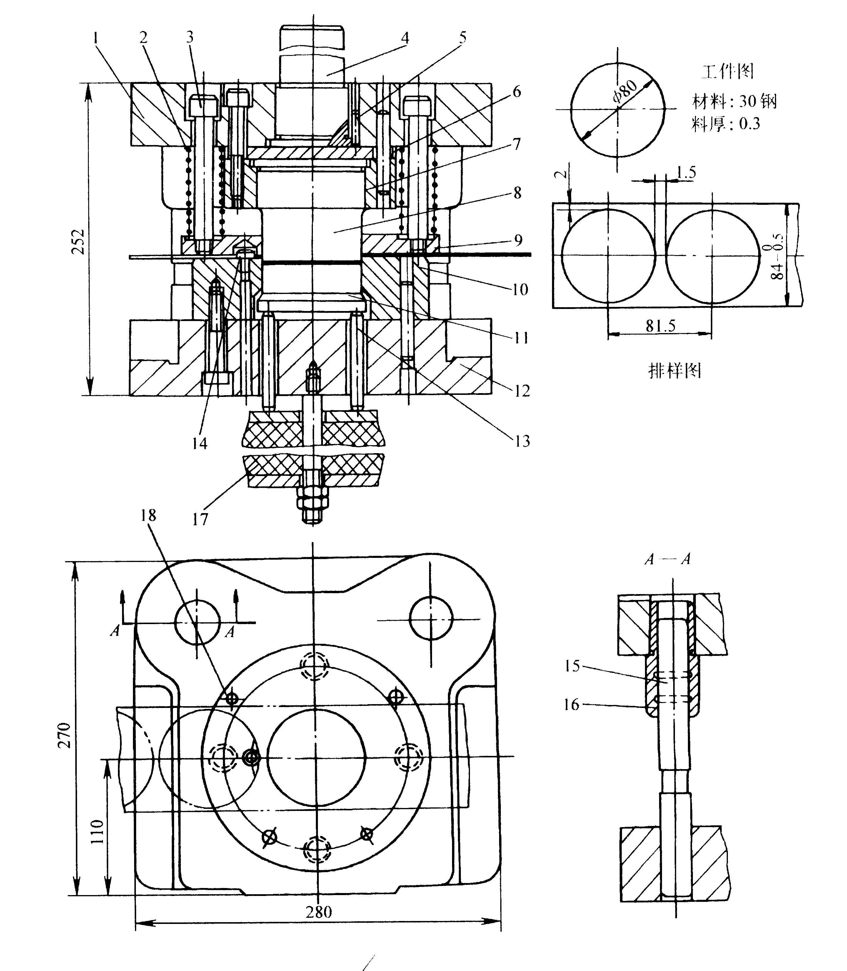
二、案例
垫圈级进冲裁模
电机转子正装复合冲裁模
冲孔落料复合冲裁模
电机定子级进冲裁模




