运用顺序控制设计法对供料单元控制
-
1 视频
-
2 测验
上一节
下一节
知识要点
7.4 运用顺序控制法对供料单元控制
YL-335B供料单元
1、任务引领
该站的主要功能是将待加工的物料从料仓中推到物料台上,等待运送单元将其运送与加工
2、任务分析
(1)供料站的工艺流程
系统启动,条件满足时,顶料电磁阀顶料——推料电磁阀推料——推料电磁阀返回——顶料电磁阀缩回,如此周而复始

(2)I/O地址分配表

(3)步的划分:
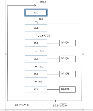
从工艺流程上,我们看出动作的顺序是:1、,系统启动前,顶料杆和推料杆都不动,处于缩回状态;2、顶料;3、继续顶紧物料,并推料;4、继续顶紧物料,推料杆缩回;5、顶料杆也缩回;然后回到初始步,顶料杆和推料杆都处于缩回状态,一共可以分为5步每一步的标记位,我们用存储器S0.1~S0.5表示。
3、任务实施
(1)顺序控制图

(2)S0.0初始步

(3)S0.1初始步

(4)S0.2顶料

(5)S0.3推料

(6)S0.4顶料气缸缩回

(7)S0.5推料气缸缩回

(8)启停按钮


